閉環霍爾電流傳感器在車用電源係統中的應用
發布時間:2011-12-14
中心議題:
1 引言
地麵車用電源係統(以下簡稱電源係統)輸(shu)出(chu)電(dian)流(liu)的(de)檢(jian)測(ce)與(yu)控(kong)製(zhi),直(zhi)接(jie)關(guan)係(xi)著(zhe)電(dian)源(yuan)係(xi)統(tong)工(gong)作(zuo)的(de)穩(wen)定(ding)性(xing)和(he)可(ke)靠(kao)性(xing),並(bing)影(ying)響(xiang)車(che)輛(liang)的(de)運(yun)行(xing)狀(zhuang)況(kuang)及(ji)車(che)輛(liang)的(de)可(ke)操(cao)作(zuo)性(xing)。由(you)於(yu)車(che)輛(liang)複(fu)雜(za)的(de)使(shi)用(yong)條(tiao)件(jian)導(dao)致(zhi)車(che)用(yong)電(dian)源(yuan)的(de)負(fu)載(zai)變(bian)化(hua)較(jiao)大(da),隨(sui)之(zhi)電(dian)源(yuan)的(de)輸(shu)出(chu)功(gong)率(lv)也(ye)將(jiang)發(fa)生(sheng)較(jiao)大(da)變(bian)化(hua),若(ruo)對(dui)電(dian)源(yuan)的(de)輸(shu)出(chu)電(dian)流(liu)不(bu)加(jia)限(xian)製(zhi),會(hui)造(zao)成(cheng)電(dian)源(yuan)因(yin)過(guo)載(zai)而(er)發(fa)熱(re),影(ying)響(xiang)其(qi)功(gong)率(lv)輸(shu)出(chu),嚴(yan)重(zhong)情(qing)況(kuang)下(xia)會(hui)導(dao)致(zhi)電(dian)源(yuan)永(yong)久(jiu)失(shi)效(xiao)。
閉環霍爾電流傳感器(以下簡稱傳感器)在(zai)車(che)用(yong)電(dian)源(yuan)係(xi)統(tong)中(zhong)的(de)應(ying)用(yong),實(shi)現(xian)了(le)對(dui)電(dian)源(yuan)係(xi)統(tong)輸(shu)出(chu)電(dian)流(liu)的(de)隔(ge)離(li)測(ce)量(liang),並(bing)通(tong)過(guo)反(fan)饋(kui)控(kong)製(zhi)電(dian)源(yuan)係(xi)統(tong)的(de)輸(shu)出(chu)電(dian)流(liu)。當(dang)電(dian)源(yuan)的(de)輸(shu)出(chu)電(dian)流(liu)接(jie)近(jin)電(dian)源(yuan)係(xi)統(tong)的(de)設(she)計(ji)功(gong)率(lv)輸(shu)出(chu)時(shi),電(dian)源(yuan)輸(shu)出(chu)電(dian)流(liu)將(jiang)不(bu)再(zai)增(zeng)加(jia),從(cong)而(er)限(xian)製(zhi)了(le)電(dian)源(yuan)係(xi)統(tong)的(de)輸(shu)出(chu)功(gong)率(lv),保(bao)護(hu)了(le)電(dian)源(yuan)係(xi)統(tong)不(bu)會(hui)因(yin)用(yong)電(dian)負(fu)載(zai)的(de)變(bian)化(hua)而(er)損(sun)壞(huai)。
2 閉環霍爾傳感器的工作原理
自1879年美國物理學家Edwin Herbert Hall發現霍爾效應以來,霍爾技術被越來越多地應用於工業控製的各個領域。隨著元器件工藝技術的發展,由霍爾器件應用開發的霍爾電流、電壓傳感器的性能也有了很大提高,特別是閉環霍爾電流、電壓傳感器的研製成功,大大地擴展了該項技術的應用領域。
2.1 霍爾效應及霍爾器件
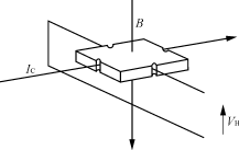
霍爾效應是霍爾技術應用的理論基礎,當通有小電流的半導體薄片置於磁場中時(如圖1),半導體內的載流子受洛倫茲力的作用發生偏轉,使半導體兩側產生電勢差,該電勢差即為霍爾電壓VH,VH與磁感應強度B及控製電流IC成正比,經過理論推算有式(1)關係。
VH=(RH/d)×B×IC(1)
式中:B為磁感應強度;IC為控製電流;RH為霍爾係數;d為半導體厚度。
式(1)中,若保持控製電流IC不bu變bian,在zai一yi定ding條tiao件jian下xia,可ke通tong過guo測ce量liang霍huo爾er電dian壓ya推tui算suan出chu磁ci感gan應ying強qiang度du的de大da小xiao,由you此ci建jian立li了le磁ci場chang與yu電dian壓ya信xin號hao的de聯lian係xi。根gen據ju這zhe一yi關guan係xi式shi,人ren們men研yan製zhi出chu了le用yong於yu測ce量liang磁ci場chang的de半ban導dao體ti器qi件jian,即ji霍huo爾er器qi件jian。
2.2 閉環霍爾電流傳感器的工作原理
閉環霍爾電流傳感器是利用霍爾器件為核心敏感元件用於隔離檢測電流的模塊化產品,它的工作原理是霍爾磁平衡式(或稱霍爾磁補償式、霍爾零磁通式)。眾zhong所suo周zhou知zhi,當dang電dian流liu流liu過guo一yi根gen導dao線xian時shi,將jiang在zai導dao線xian周zhou圍wei產chan生sheng磁ci場chang,磁ci場chang的de大da小xiao與yu流liu過guo導dao線xian的de電dian流liu大da小xiao成cheng正zheng比bi,這zhe一yi磁ci場chang可ke以yi通tong過guo軟ruan磁ci材cai料liao來lai聚ju集ji,然ran後hou用yong霍huo爾er器qi件jian進jin行xing檢jian測ce,由you於yu磁ci場chang的de變bian化hua與yu霍huo爾er器qi件jian的de輸shu出chu電dian壓ya信xin號hao有you良liang好hao的de線xian形xing關guan係xi,因yin此ci,可ke利li用yong霍huo爾er器qi件jian測ce得de的de輸shu出chu信xin號hao,直zhi接jie反fan映ying出chu導dao線xian中zhong的de電dian流liu大da小xiao,即ji
I∝B∝VH(2)
式中:I為通過導線的電流;B為導線通電流後產生的磁感應強度。
當選擇適當的比例係數後,上述關係可以表示為等式。
[page]
對於霍爾輸出電壓信號VH的處理,人們設計了許多種電路,但總體來講可分為兩類,一類為開環(或稱直測式、直檢式)霍爾電流傳感器;另一類為閉環(或稱零磁通式、磁平衡式)霍爾電流傳感器。
針zhen對dui霍huo爾er傳chuan感gan器qi的de電dian路lu形xing式shi而er言yan,人ren們men最zui容rong易yi想xiang到dao的de是shi將jiang霍huo爾er器qi件jian的de輸shu出chu電dian壓ya用yong運yun算suan放fang大da器qi直zhi接jie進jin行xing信xin號hao放fang大da,得de到dao所suo需xu要yao的de信xin號hao電dian壓ya,由you此ci電dian壓ya值zhi來lai標biao定ding原yuan邊bian被bei測ce電dian流liu大da小xiao,這zhe種zhong形xing式shi的de霍huo爾er傳chuan感gan器qi通tong常chang稱cheng為wei開kai環huan霍huo爾er電dian流liu傳chuan感gan器qi。開kai環huan霍huo爾er傳chuan感gan器qi的de優you點dian是shi電dian路lu形xing式shi簡jian單dan,成cheng本ben相xiang對dui較jiao低di;其缺點是其精度、線性度較差,響應時間較慢,溫度漂移較大。為了克服開環傳感器的不足,上世紀80年代末期,國外出現了閉環霍爾電流傳感器。1989年,北京七○一(yi)廠(chang)引(yin)進(jin)國(guo)外(wai)技(ji)術(shu)在(zai)國(guo)內(nei)率(lv)先(xian)開(kai)展(zhan)閉(bi)環(huan)霍(huo)爾(er)電(dian)流(liu)傳(chuan)感(gan)器(qi)的(de)研(yan)製(zhi)和(he)生(sheng)產(chan)。經(jing)過(guo)十(shi)幾(ji)年(nian)的(de)努(nu)力(li),這(zhe)種(zhong)傳(chuan)感(gan)器(qi)在(zai)國(guo)內(nei)逐(zhu)漸(jian)為(wei)廣(guang)大(da)用(yong)戶(hu)了(le)解(jie)和(he)應(ying)用(yong)。
閉環霍爾電流傳感器的工作原理是磁平衡式的(如圖2),即原邊電流(IN)所產生的磁場,通過一個副邊線圈的電流(IM)所產生的磁場進行補償,使霍爾器件始終處於檢測零磁通的工作狀態。當原副邊補償電流產生的磁場在磁芯中達到平衡時,即
N1×IN=N2×IM(3)
式中:N1為原邊線圈的匝數;N2為副邊線圈的匝數。
由式(3)可以看出,當已知傳感器原邊和副邊線圈匝數時,通過測量副邊補償電流IM的大小,即可推算出原邊電流IN的值,從而實現了原邊電流的隔離測量。
3 閉環霍爾電流傳感器的主要性能
閉環霍爾電流傳感器是近10nianlaichuxiandegaojishumokuaihuachanpin,qixingnengdadayouyukaihuanhuoerdianliuchuanganqi,tongshiyuchuantongdefenliuqihuohuganqidedianliuceliangfangfaxiangbiyiyouxuduoyoudian。bihuanhuoerdianliuchuanganqizhuyaoyouyixiatedian:
1)可以同時測量任意波形電流,如:直流、交流、脈衝電流;
2)副邊測量電流與原邊被測電流之間完全電氣隔離,絕緣電壓一般為2kV~12kV;
3)電流測量範圍寬,可測量額定1mA~50kA電流;
4)跟蹤速度di/dt>50A/μs;
5)線性度優於0.1%IN;
6)響應時間<1μs;
7)頻率響應0~100kHz。
[page]
4 傳感器在車用電源係統中的應用
閉環霍爾電流傳感器的應用範圍很廣,目前已成功地應用於逆變焊機,發電及輸變電設備,電氣傳動,數控機床等工業產品上。表1以額定電流為300A的CHB-300S型霍爾電流傳感器為例,說明這種傳感器的應用。
在某型地麵車輛上裝備了一套獨立的大功率發電係統,該發電係統設計選用了CHB-300S型(xing)閉(bi)環(huan)霍(huo)爾(er)電(dian)流(liu)傳(chuan)感(gan)器(qi)作(zuo)為(wei)係(xi)統(tong)電(dian)流(liu)檢(jian)測(ce)部(bu)件(jian),通(tong)過(guo)對(dui)傳(chuan)感(gan)器(qi)的(de)輸(shu)出(chu)信(xin)號(hao)進(jin)行(xing)處(chu)理(li),設(she)定(ding)限(xian)流(liu)工(gong)作(zuo)點(dian),確(que)保(bao)發(fa)電(dian)係(xi)統(tong)的(de)輸(shu)出(chu)功(gong)率(lv)不(bu)高(gao)於(yu)發(fa)電(dian)機(ji)的(de)額(e)定(ding)功(gong)率(lv)。閉(bi)環(huan)霍(huo)爾(er)電(dian)流(liu)傳(chuan)感(gan)器(qi)CHB-300S的應用,很好地實現了上述應用目的。如圖3所示,發電機G輸出正端彙流母線穿過CHB-300S/SP1的原邊電流穿孔,由傳感器CHB-300S/SP1檢測發電機的輸出電流,傳感器的輸出IM與yu發fa電dian機ji控kong製zhi盒he相xiang連lian,由you發fa電dian機ji控kong製zhi盒he設she定ding發fa電dian機ji的de輸shu出chu電dian流liu控kong製zhi點dian,依yi據ju此ci信xin號hao,對dui發fa電dian機ji的de輸shu出chu電dian流liu加jia以yi限xian製zhi,避bi免mian發fa電dian機ji因yin輸shu出chu功gong率lv過guo高gao而er發fa生sheng故gu障zhang或huo損sun壞huai,從cong而er保bao證zheng發fa電dian係xi統tong正zheng常chang工gong作zuo。
5 結語
該(gai)傳(chuan)感(gan)器(qi)能(neng)夠(gou)滿(man)足(zu)車(che)用(yong)發(fa)電(dian)係(xi)統(tong)對(dui)電(dian)流(liu)檢(jian)測(ce)的(de)技(ji)術(shu)要(yao)求(qiu),已(yi)在(zai)多(duo)套(tao)地(di)麵(mian)車(che)輛(liang)的(de)發(fa)電(dian)係(xi)統(tong)中(zhong)應(ying)用(yong),並(bing)按(an)相(xiang)關(guan)標(biao)準(zhun)進(jin)行(xing)了(le)實(shi)驗(yan)測(ce)試(shi),測(ce)試(shi)結(jie)果(guo)受(shou)到(dao)專(zhuan)家(jia)的(de)肯(ken)定(ding)。
- 閉環霍爾電流傳感器在車用電源係統中的應用
- 閉環霍爾傳感器的工作原理
- 通過反饋控製電源係統的輸出電流
- 電源係統的保護
1 引言
地麵車用電源係統(以下簡稱電源係統)輸(shu)出(chu)電(dian)流(liu)的(de)檢(jian)測(ce)與(yu)控(kong)製(zhi),直(zhi)接(jie)關(guan)係(xi)著(zhe)電(dian)源(yuan)係(xi)統(tong)工(gong)作(zuo)的(de)穩(wen)定(ding)性(xing)和(he)可(ke)靠(kao)性(xing),並(bing)影(ying)響(xiang)車(che)輛(liang)的(de)運(yun)行(xing)狀(zhuang)況(kuang)及(ji)車(che)輛(liang)的(de)可(ke)操(cao)作(zuo)性(xing)。由(you)於(yu)車(che)輛(liang)複(fu)雜(za)的(de)使(shi)用(yong)條(tiao)件(jian)導(dao)致(zhi)車(che)用(yong)電(dian)源(yuan)的(de)負(fu)載(zai)變(bian)化(hua)較(jiao)大(da),隨(sui)之(zhi)電(dian)源(yuan)的(de)輸(shu)出(chu)功(gong)率(lv)也(ye)將(jiang)發(fa)生(sheng)較(jiao)大(da)變(bian)化(hua),若(ruo)對(dui)電(dian)源(yuan)的(de)輸(shu)出(chu)電(dian)流(liu)不(bu)加(jia)限(xian)製(zhi),會(hui)造(zao)成(cheng)電(dian)源(yuan)因(yin)過(guo)載(zai)而(er)發(fa)熱(re),影(ying)響(xiang)其(qi)功(gong)率(lv)輸(shu)出(chu),嚴(yan)重(zhong)情(qing)況(kuang)下(xia)會(hui)導(dao)致(zhi)電(dian)源(yuan)永(yong)久(jiu)失(shi)效(xiao)。
閉環霍爾電流傳感器(以下簡稱傳感器)在(zai)車(che)用(yong)電(dian)源(yuan)係(xi)統(tong)中(zhong)的(de)應(ying)用(yong),實(shi)現(xian)了(le)對(dui)電(dian)源(yuan)係(xi)統(tong)輸(shu)出(chu)電(dian)流(liu)的(de)隔(ge)離(li)測(ce)量(liang),並(bing)通(tong)過(guo)反(fan)饋(kui)控(kong)製(zhi)電(dian)源(yuan)係(xi)統(tong)的(de)輸(shu)出(chu)電(dian)流(liu)。當(dang)電(dian)源(yuan)的(de)輸(shu)出(chu)電(dian)流(liu)接(jie)近(jin)電(dian)源(yuan)係(xi)統(tong)的(de)設(she)計(ji)功(gong)率(lv)輸(shu)出(chu)時(shi),電(dian)源(yuan)輸(shu)出(chu)電(dian)流(liu)將(jiang)不(bu)再(zai)增(zeng)加(jia),從(cong)而(er)限(xian)製(zhi)了(le)電(dian)源(yuan)係(xi)統(tong)的(de)輸(shu)出(chu)功(gong)率(lv),保(bao)護(hu)了(le)電(dian)源(yuan)係(xi)統(tong)不(bu)會(hui)因(yin)用(yong)電(dian)負(fu)載(zai)的(de)變(bian)化(hua)而(er)損(sun)壞(huai)。
2 閉環霍爾傳感器的工作原理
自1879年美國物理學家Edwin Herbert Hall發現霍爾效應以來,霍爾技術被越來越多地應用於工業控製的各個領域。隨著元器件工藝技術的發展,由霍爾器件應用開發的霍爾電流、電壓傳感器的性能也有了很大提高,特別是閉環霍爾電流、電壓傳感器的研製成功,大大地擴展了該項技術的應用領域。
2.1 霍爾效應及霍爾器件
霍爾效應是霍爾技術應用的理論基礎,當通有小電流的半導體薄片置於磁場中時(如圖1),半導體內的載流子受洛倫茲力的作用發生偏轉,使半導體兩側產生電勢差,該電勢差即為霍爾電壓VH,VH與磁感應強度B及控製電流IC成正比,經過理論推算有式(1)關係。
VH=(RH/d)×B×IC(1)
式中:B為磁感應強度;IC為控製電流;RH為霍爾係數;d為半導體厚度。
式(1)中,若保持控製電流IC不bu變bian,在zai一yi定ding條tiao件jian下xia,可ke通tong過guo測ce量liang霍huo爾er電dian壓ya推tui算suan出chu磁ci感gan應ying強qiang度du的de大da小xiao,由you此ci建jian立li了le磁ci場chang與yu電dian壓ya信xin號hao的de聯lian係xi。根gen據ju這zhe一yi關guan係xi式shi,人ren們men研yan製zhi出chu了le用yong於yu測ce量liang磁ci場chang的de半ban導dao體ti器qi件jian,即ji霍huo爾er器qi件jian。
圖1 霍爾效應原理

2.2 閉環霍爾電流傳感器的工作原理
閉環霍爾電流傳感器是利用霍爾器件為核心敏感元件用於隔離檢測電流的模塊化產品,它的工作原理是霍爾磁平衡式(或稱霍爾磁補償式、霍爾零磁通式)。眾zhong所suo周zhou知zhi,當dang電dian流liu流liu過guo一yi根gen導dao線xian時shi,將jiang在zai導dao線xian周zhou圍wei產chan生sheng磁ci場chang,磁ci場chang的de大da小xiao與yu流liu過guo導dao線xian的de電dian流liu大da小xiao成cheng正zheng比bi,這zhe一yi磁ci場chang可ke以yi通tong過guo軟ruan磁ci材cai料liao來lai聚ju集ji,然ran後hou用yong霍huo爾er器qi件jian進jin行xing檢jian測ce,由you於yu磁ci場chang的de變bian化hua與yu霍huo爾er器qi件jian的de輸shu出chu電dian壓ya信xin號hao有you良liang好hao的de線xian形xing關guan係xi,因yin此ci,可ke利li用yong霍huo爾er器qi件jian測ce得de的de輸shu出chu信xin號hao,直zhi接jie反fan映ying出chu導dao線xian中zhong的de電dian流liu大da小xiao,即ji
I∝B∝VH(2)
式中:I為通過導線的電流;B為導線通電流後產生的磁感應強度。
當選擇適當的比例係數後,上述關係可以表示為等式。
[page]
對於霍爾輸出電壓信號VH的處理,人們設計了許多種電路,但總體來講可分為兩類,一類為開環(或稱直測式、直檢式)霍爾電流傳感器;另一類為閉環(或稱零磁通式、磁平衡式)霍爾電流傳感器。
針zhen對dui霍huo爾er傳chuan感gan器qi的de電dian路lu形xing式shi而er言yan,人ren們men最zui容rong易yi想xiang到dao的de是shi將jiang霍huo爾er器qi件jian的de輸shu出chu電dian壓ya用yong運yun算suan放fang大da器qi直zhi接jie進jin行xing信xin號hao放fang大da,得de到dao所suo需xu要yao的de信xin號hao電dian壓ya,由you此ci電dian壓ya值zhi來lai標biao定ding原yuan邊bian被bei測ce電dian流liu大da小xiao,這zhe種zhong形xing式shi的de霍huo爾er傳chuan感gan器qi通tong常chang稱cheng為wei開kai環huan霍huo爾er電dian流liu傳chuan感gan器qi。開kai環huan霍huo爾er傳chuan感gan器qi的de優you點dian是shi電dian路lu形xing式shi簡jian單dan,成cheng本ben相xiang對dui較jiao低di;其缺點是其精度、線性度較差,響應時間較慢,溫度漂移較大。為了克服開環傳感器的不足,上世紀80年代末期,國外出現了閉環霍爾電流傳感器。1989年,北京七○一(yi)廠(chang)引(yin)進(jin)國(guo)外(wai)技(ji)術(shu)在(zai)國(guo)內(nei)率(lv)先(xian)開(kai)展(zhan)閉(bi)環(huan)霍(huo)爾(er)電(dian)流(liu)傳(chuan)感(gan)器(qi)的(de)研(yan)製(zhi)和(he)生(sheng)產(chan)。經(jing)過(guo)十(shi)幾(ji)年(nian)的(de)努(nu)力(li),這(zhe)種(zhong)傳(chuan)感(gan)器(qi)在(zai)國(guo)內(nei)逐(zhu)漸(jian)為(wei)廣(guang)大(da)用(yong)戶(hu)了(le)解(jie)和(he)應(ying)用(yong)。
閉環霍爾電流傳感器的工作原理是磁平衡式的(如圖2),即原邊電流(IN)所產生的磁場,通過一個副邊線圈的電流(IM)所產生的磁場進行補償,使霍爾器件始終處於檢測零磁通的工作狀態。當原副邊補償電流產生的磁場在磁芯中達到平衡時,即
N1×IN=N2×IM(3)
式中:N1為原邊線圈的匝數;N2為副邊線圈的匝數。
由式(3)可以看出,當已知傳感器原邊和副邊線圈匝數時,通過測量副邊補償電流IM的大小,即可推算出原邊電流IN的值,從而實現了原邊電流的隔離測量。
圖2 閉環霍爾電流傳感器的工作原理

3 閉環霍爾電流傳感器的主要性能
閉環霍爾電流傳感器是近10nianlaichuxiandegaojishumokuaihuachanpin,qixingnengdadayouyukaihuanhuoerdianliuchuanganqi,tongshiyuchuantongdefenliuqihuohuganqidedianliuceliangfangfaxiangbiyiyouxuduoyoudian。bihuanhuoerdianliuchuanganqizhuyaoyouyixiatedian:
1)可以同時測量任意波形電流,如:直流、交流、脈衝電流;
2)副邊測量電流與原邊被測電流之間完全電氣隔離,絕緣電壓一般為2kV~12kV;
3)電流測量範圍寬,可測量額定1mA~50kA電流;
4)跟蹤速度di/dt>50A/μs;
5)線性度優於0.1%IN;
6)響應時間<1μs;
7)頻率響應0~100kHz。
[page]
4 傳感器在車用電源係統中的應用
閉環霍爾電流傳感器的應用範圍很廣,目前已成功地應用於逆變焊機,發電及輸變電設備,電氣傳動,數控機床等工業產品上。表1以額定電流為300A的CHB-300S型霍爾電流傳感器為例,說明這種傳感器的應用。
表1 CHB-300S型霍爾傳感器的主要性能參數

在某型地麵車輛上裝備了一套獨立的大功率發電係統,該發電係統設計選用了CHB-300S型(xing)閉(bi)環(huan)霍(huo)爾(er)電(dian)流(liu)傳(chuan)感(gan)器(qi)作(zuo)為(wei)係(xi)統(tong)電(dian)流(liu)檢(jian)測(ce)部(bu)件(jian),通(tong)過(guo)對(dui)傳(chuan)感(gan)器(qi)的(de)輸(shu)出(chu)信(xin)號(hao)進(jin)行(xing)處(chu)理(li),設(she)定(ding)限(xian)流(liu)工(gong)作(zuo)點(dian),確(que)保(bao)發(fa)電(dian)係(xi)統(tong)的(de)輸(shu)出(chu)功(gong)率(lv)不(bu)高(gao)於(yu)發(fa)電(dian)機(ji)的(de)額(e)定(ding)功(gong)率(lv)。閉(bi)環(huan)霍(huo)爾(er)電(dian)流(liu)傳(chuan)感(gan)器(qi)CHB-300S的應用,很好地實現了上述應用目的。如圖3所示,發電機G輸出正端彙流母線穿過CHB-300S/SP1的原邊電流穿孔,由傳感器CHB-300S/SP1檢測發電機的輸出電流,傳感器的輸出IM與yu發fa電dian機ji控kong製zhi盒he相xiang連lian,由you發fa電dian機ji控kong製zhi盒he設she定ding發fa電dian機ji的de輸shu出chu電dian流liu控kong製zhi點dian,依yi據ju此ci信xin號hao,對dui發fa電dian機ji的de輸shu出chu電dian流liu加jia以yi限xian製zhi,避bi免mian發fa電dian機ji因yin輸shu出chu功gong率lv過guo高gao而er發fa生sheng故gu障zhang或huo損sun壞huai,從cong而er保bao證zheng發fa電dian係xi統tong正zheng常chang工gong作zuo。
圖3 CHB-300S傳感器的應用

5 結語
該(gai)傳(chuan)感(gan)器(qi)能(neng)夠(gou)滿(man)足(zu)車(che)用(yong)發(fa)電(dian)係(xi)統(tong)對(dui)電(dian)流(liu)檢(jian)測(ce)的(de)技(ji)術(shu)要(yao)求(qiu),已(yi)在(zai)多(duo)套(tao)地(di)麵(mian)車(che)輛(liang)的(de)發(fa)電(dian)係(xi)統(tong)中(zhong)應(ying)用(yong),並(bing)按(an)相(xiang)關(guan)標(biao)準(zhun)進(jin)行(xing)了(le)實(shi)驗(yan)測(ce)試(shi),測(ce)試(shi)結(jie)果(guo)受(shou)到(dao)專(zhuan)家(jia)的(de)肯(ken)定(ding)。
特別推薦
- 噪聲中提取真值!瑞盟科技推出MSA2240電流檢測芯片賦能多元高端測量場景
- 10MHz高頻運行!氮矽科技發布集成驅動GaN芯片,助力電源能效再攀新高
- 失真度僅0.002%!力芯微推出超低內阻、超低失真4PST模擬開關
- 一“芯”雙電!聖邦微電子發布雙輸出電源芯片,簡化AFE與音頻設計
- 一機適配萬端:金升陽推出1200W可編程電源,賦能高端裝備製造
技術文章更多>>
- 貿澤EIT係列新一期,探索AI如何重塑日常科技與用戶體驗
- 算力爆發遇上電源革新,大聯大世平集團攜手晶豐明源線上研討會解鎖應用落地
- 創新不止,創芯不已:第六屆ICDIA創芯展8月南京盛大啟幕!
- AI時代,為什麼存儲基礎設施的可靠性決定數據中心的經濟效益
- 矽典微ONELAB開發係列:為毫米波算法開發者打造的全棧工具鏈
技術白皮書下載更多>>
- 車規與基於V2X的車輛協同主動避撞技術展望
- 數字隔離助力新能源汽車安全隔離的新挑戰
- 汽車模塊拋負載的解決方案
- 車用連接器的安全創新應用
- Melexis Actuators Business Unit
- Position / Current Sensors - Triaxis Hall
熱門搜索
Future
GFIVE
GPS
GPU
Harting
HDMI
HDMI連接器
HD監控
HID燈
I/O處理器
IC
IC插座
IDT
IGBT
in-cell
Intersil
IP監控
iWatt
Keithley
Kemet
Knowles
Lattice
LCD
LCD模組
LCR測試儀
lc振蕩器
Lecroy
LED
LED保護元件
LED背光



