汽車壓力傳感器的原理和應用分類
發布時間:2011-12-30
中心議題:
- 汽車壓力傳感器的原理和應用
- 輪胎氣壓測量及電路設計
本(ben)文(wen)詳(xiang)細(xi)介(jie)紹(shao)了(le)壓(ya)力(li)傳(chuan)感(gan)器(qi)的(de)原(yuan)理(li)和(he)應(ying)用(yong)分(fen)類(lei),列(lie)舉(ju)了(le)汽(qi)車(che)壓(ya)力(li)傳(chuan)感(gan)器(qi)在(zai)輪(lun)胎(tai)氣(qi)壓(ya)監(jian)測(ce)方(fang)麵(mian)的(de)應(ying)用(yong)及(ji)具(ju)體(ti)的(de)電(dian)路(lu)設(she)計(ji),把(ba)輪(lun)胎(tai)氣(qi)壓(ya)轉(zhuan)換(huan)為(wei)電(dian)壓(ya),通(tong)過(guo)電(dian)壓(ya)值(zhi)的(de)大(da)小(xiao)間(jian)接(jie)地(di)測(ce)量(liang)氣(qi)壓(ya)值(zhi)的(de)大(da)小(xiao)。汽(qi)車(che)壓(ya)力(li)傳(chuan)感(gan)器(qi)在(zai)汽(qi)車(che)行(xing)業(ye)的(de)應(ying)用(yong)和(he)推(tui)廣(guang)意(yi)義(yi)非(fei)常(chang)重(zhong)大(da)。
1.引言
汽車傳感器是汽車電子化、智能化的基礎和關鍵, 而其中使用較多、發展最快的是壓力傳感器。汽車壓力傳感器應用在汽車的很多係統中,如電子檢測係統、保安防撞係統等。其中應用在輪胎氣壓方麵的目的在於最大限度地減少或消除高壓爆胎和低壓輾胎造成的輪胎早期的損壞, 使輪胎經常保持標準氣壓, 延長輪胎的壽命,降低輪胎的消耗,提高經濟效益。有報道說,將微型壓力傳感器埋置於汽車輪胎中,測量其中氣壓, 以控製對輪胎的充氣量,避免過量和不夠,由此可節省百分之十的汽油。
2.汽車壓力傳感器
2.1 壓力傳感器的原理和應用分類
傳感器是將各種非電量(包括物理量、化學量、生物量等)按一定規律轉換成便於處理和傳輸的另一種物理量 (一般為電量)的裝置。傳感器一般由敏感元件、轉換元件和測量電路三部分組成,有時還需外加輔助電源。 傳感器方框圖如圖1所示。

圖1 傳感器方框圖
製(zhi)造(zao)半(ban)導(dao)體(ti)壓(ya)力(li)傳(chuan)感(gan)器(qi)的(de)基(ji)本(ben)原(yuan)理(li)是(shi)利(li)用(yong)矽(gui)晶(jing)體(ti)的(de)壓(ya)阻(zu)效(xiao)應(ying)。單(dan)晶(jing)矽(gui)材(cai)料(liao)在(zai)受(shou)到(dao)應(ying)力(li)作(zuo)用(yong)後(hou),其(qi)電(dian)阻(zu)率(lv)發(fa)生(sheng)明(ming)顯(xian)變(bian)化(hua),這(zhe)種(zhong)現(xian)象(xiang)稱(cheng)為(wei)壓(ya)阻(zu)效(xiao)應(ying)。
壓力傳感器所用的元件材料是具有壓阻效應的單晶矽、擴kuo散san摻chan雜za矽gui和he多duo晶jing矽gui。根gen據ju晶jing體ti不bu受shou定ding向xiang應ying力li時shi,電dian導dao率lv是shi同tong性xing的de,隻zhi有you受shou定ding向xiang應ying力li時shi才cai表biao現xian出chu各ge向xiang異yi性xing,由you於yu應ying力li能neng引yin起qi能neng帶dai的de變bian化hua,能neng穀gu能neng量liang移yi動dong,導dao致zhi電dian阻zu率lv的de變bian化hua,於yu是shi就jiu有you電dian阻zu的de變bian化hua,從cong而er產chan生sheng壓ya阻zu效xiao應ying。單dan晶jing矽gui效xiao應ying包bao括kuon型和p型(xing)矽(gui)壓(ya)阻(zu)效(xiao)應(ying)。選(xuan)用(yong)擴(kuo)散(san)矽(gui)目(mu)的(de)在(zai)於(yu)在(zai)設(she)計(ji)製(zhi)造(zao)壓(ya)力(li)傳(chuan)感(gan)器(qi)時(shi)可(ke)根(gen)據(ju)不(bu)同(tong)溫(wen)度(du)下(xia)矽(gui)擴(kuo)散(san)層(ceng)的(de)壓(ya)阻(zu)特(te)性(xing)選(xuan)擇(ze)合(he)適(shi)的(de)擴(kuo)散(san)條(tiao)件(jian),力(li)求(qiu)使(shi)壓(ya)力(li)傳(chuan)感(gan)器(qi)具(ju)有(you)良(liang)好(hao)的(de)性(xing)能(neng)。多(duo)晶(jing)矽(gui)在(zai)傳(chuan)感(gan)器(qi)中(zhong)有(you)廣(guang)泛(fan)的(de)用(yong)途(tu),可(ke)作(zuo)為(wei)微(wei)結(jie)構(gou)和(he)填(tian)充(chong)材(cai)料(liao)、敏感材料。
壓力傳感器按用途分類主要是壓力監視、壓(ya)力(li)測(ce)量(liang)和(he)壓(ya)力(li)控(kong)製(zhi)及(ji)轉(zhuan)換(huan)成(cheng)其(qi)他(ta)量(liang)的(de)測(ce)量(liang)。按(an)供(gong)電(dian)方(fang)式(shi)分(fen)為(wei)壓(ya)阻(zu)型(xing)和(he)壓(ya)電(dian)型(xing)傳(chuan)感(gan)器(qi),前(qian)者(zhe)是(shi)被(bei)動(dong)供(gong)電(dian)的(de),需(xu)要(yao)有(you)外(wai)電(dian)源(yuan)。後(hou)者(zhe)是(shi)傳(chuan)感(gan)器(qi)自(zi)身(shen)產(chan)生(sheng)電(dian)荷(he),不(bu)需(xu)要(yao)外(wai)加(jia)電(dian)源(yuan),根(gen)據(ju)不(bu)同(tong)領(ling)域(yu)對(dui)壓(ya)力(li)測(ce)量(liang)的(de)精(jing)度(du)不(bu)同(tong)分(fen)為(wei)低(di)精(jing)度(du)和(he)高(gao)精(jing)度(du)的(de)壓(ya)力(li)傳(chuan)感(gan)器(qi)。
2.2 氣壓傳感器
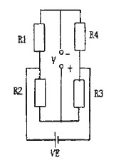
1)能和原理:主(zhu)要(yao)是(shi)用(yong)來(lai)檢(jian)測(ce)氣(qi)壓(ya)的(de)傳(chuan)感(gan)器(qi)。在(zai)矽(gui)片(pian)的(de)中(zhong)間(jian),從(cong)背(bei)麵(mian)腐(fu)蝕(shi)形(xing)成(cheng)了(le)正(zheng)方(fang)形(xing)的(de)膜(mo)片(pian),利(li)用(yong)膜(mo)片(pian)將(jiang)壓(ya)力(li)轉(zhuan)換(huan)成(cheng)應(ying)力(li),在(zai)膜(mo)片(pian)的(de)表(biao)麵(mian),通(tong)過(guo)擴(kuo)散(san)雜(za)質(zhi)形(xing)成(cheng)了(le)四(si)個(ge)p型xing測ce量liang電dian阻zu,它ta們men按an橋qiao式shi電dian路lu連lian接jie,利li用yong壓ya阻zu效xiao應ying將jiang加jia在zai膜mo片pian上shang的de應ying力li變bian換huan成cheng電dian阻zu的de變bian化hua,此ci電dian阻zu的de變bian化hua通tong過guo橋qiao式shi電dian路lu之zhi後hou,在zai橋qiao式shi電dian路lu的de兩liang個ge輸shu出chu端duan之zhi間jian,以yi電dian位wei差cha的de形xing式shi對dui外wai輸shu出chu。傳chuan感gan器qi原yuan理li圖tu如ru圖tu2所示。

圖2 傳感器原理圖
[page]
2)氣壓的輸出特性:氣壓與輸出關係曲線如圖3所示,是一接近線性關係。

圖3 氣壓與輸出關係曲線
3.輪胎氣壓測量及電路設計
xiamianyiceliangluntaiqiyaweilixiangxichanshuqiyachuanganqizaiqicheluntaifangmiandeyingyong。cizhongshejikezuochengyizhongbianxieshidezhuangzhi,celiangshijiangqiyachuanganqidebiaozhiyuluntaiqimenzuishang,zheshitaiyazuoyongyuchuanganqidemopianshang, tongguoyazuxiaoyinghexiliebianhuanshuchuweiruodedianyaxinhao,jiangdianyaxinhaojinxingxiangyingchulixianshidianyazhi。youcikezhibutongdeqiyaduiyingzhebutongdedianyazhi,jiqiyazhihedianyazhishiyiyiduiyingde,congerjianjieceliangleqiyazhi。taiyaceliangdianlufangkuangturutu4所示。

圖4胎壓測量電路方框圖
3.1 氣壓值和電壓值的相互轉換
任何一種型號的輪胎都有其標準氣壓, 某型號輪胎標準氣壓為P0壓超過P1高壓,而低於P2為低壓。那麼標準氣壓!, 經過此種裝置顯示為一定的電壓值V0壓為P1高壓時則顯示V1,而達到低壓狀態P2時則顯示V2,氣壓的強弱通過此種裝置體現在電壓值上,當電壓值在V1-V2範圍內變化時,則氣壓是符合標準的。若電壓值高於V1則為高壓狀態,低於V2則為低壓狀態,那麼此時應采取一係列措施改變輪胎氣壓值在標準範圍內,從而起到保護輪胎的效果。
3.2 電壓信號放大電路
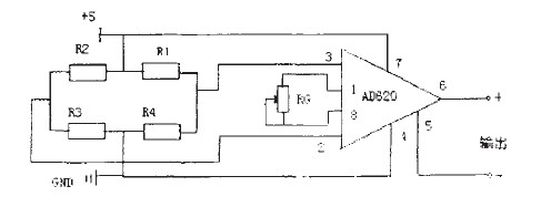
我們選用的高精度低噪聲儀用放大器AD620,可以用在傳感器輸出信號小的放大器中,如光電池傳感器、應變片傳感器以及壓力傳感器等。由於它具有低噪聲、增益精度高、增益溫度係數小和高線性度等優良性能。用於此係統中是非常理想的。AD620是一種隻用一個外部電阻就能設置放大倍數為1-1000的儀表放大器,具有良好的直流性能和交流性能,AD620的體積小、功耗低成為應用在壓力傳感器中的重要因素,傳感器信號放大電路如圖5所示。

圖5 傳感器信號放大電路
3.3 電壓信號數字化和顯示
放大後的模擬電壓經過A/D轉換器實現模擬量到數字量的轉換。A/D轉換結果通過計數譯碼電路變換成7段譯碼, 最後驅動顯示出相應的數值, 傳感器驅動顯示電路方框圖如圖6所示。

圖6 傳感器驅動顯示電路
選用雙積分A/D轉換器MC14433構成3 1/2的數字電壓顯示, 采用動態掃描顯示有多路調製的BCD碼輸出和超量程輸出端, 便於實現自動控製。MC1413為集成電路驅動器, 它含有7個反相驅動單元, 各單元采用達林頓晶體管電路。CC4511為7段譯碼驅動。MC14433提供輸出可調的基準電壓, 當基準電壓為一定值時, 輸出電壓範圍為定值。
4. 結束語
汽車壓力傳感器在輪胎方麵的應用正在不斷地改進, 其中有很多種方式, 如采用無線電發射和接受方式來測量氣壓的高低。汽車壓力傳感器的品種正在不斷地增加, 功能正在不斷地完善。一般地說來,開關式傳感器逐漸被線性壓力傳感器替代, 普通性的逐漸被高性能、多功能的傳感器取代, 模擬式壓力傳感器逐漸被數字式傳感器、智能化傳感器取代。
- 噪聲中提取真值!瑞盟科技推出MSA2240電流檢測芯片賦能多元高端測量場景
- 10MHz高頻運行!氮矽科技發布集成驅動GaN芯片,助力電源能效再攀新高
- 失真度僅0.002%!力芯微推出超低內阻、超低失真4PST模擬開關
- 一“芯”雙電!聖邦微電子發布雙輸出電源芯片,簡化AFE與音頻設計
- 一機適配萬端:金升陽推出1200W可編程電源,賦能高端裝備製造
- 貿澤EIT係列新一期,探索AI如何重塑日常科技與用戶體驗
- 算力爆發遇上電源革新,大聯大世平集團攜手晶豐明源線上研討會解鎖應用落地
- 創新不止,創芯不已:第六屆ICDIA創芯展8月南京盛大啟幕!
- AI時代,為什麼存儲基礎設施的可靠性決定數據中心的經濟效益
- 矽典微ONELAB開發係列:為毫米波算法開發者打造的全棧工具鏈
- 車規與基於V2X的車輛協同主動避撞技術展望
- 數字隔離助力新能源汽車安全隔離的新挑戰
- 汽車模塊拋負載的解決方案
- 車用連接器的安全創新應用
- Melexis Actuators Business Unit
- Position / Current Sensors - Triaxis Hall




