探究實現續航1000km技術的概念是什麼樣子
發布時間:2017-05-22 來源:第一電動 129Lab 責任編輯:susan
【導讀】上周有個新聞“科學家開發薄片式電池 讓汽車充電一次開1000公裏”,報道了采用雙極性電極的電池將可以實現1000公裏的續駛裏程,1000這個數字的確太吸引眼球了。我們來看一下這個新聞背後的EMBATT項目,看一下實現1000公裏的技術概念是什麼樣子的。

如今,電池儼然成為了決定電動車未來的核心部件,這也不難理解那麼多的電池製造商在電池技術上絞盡腦汁、期望有所重大突破,並且製定各種野心勃勃發展目標,例如:將電池係統的能量密度從250Wh/L左右提升到500Wh/L、同時大幅度降低生產成本。一方麵,電池材料需要進一步優化,提高電池能量密度,另一方麵,電池空間體利用需要提高、減小有限空間內的非活性材料。現有的電池封裝package方式造成了大量的體積被非電池活性材料占據,無法充分利用有限的電池空間。為了實現這個目標, IAV公司與 Thyssenkrupp AG和Fraunhofer Institute for Ceramic Technologies and Systems(IKTS)一起合作開發汽車底盤電池集成項目( EMBATT:chassis-embedded energy),直接將電池嵌入到汽車底盤,大幅度減少電池本身的結構件所占據的體積,達到提高能量密度Wh/L的目標。EMBATT概念的中心思想是采用雙極性bipolar鋰離子電池。在這個合作開發項目中,IAV主要負責車輛開發,包括車輛概念、測量安全、電池布局和設計、控製軟件標定。IKTS主要負責定製化電池材料和電極的製造加工技術。Thyssenkrupp AG主要負責後期的電池生產。
基於EMBATT概念的雙極性電池主要實現以下目標:
·大幅度降低係統複雜性,電池係統能量密度提高到500Wh/L
·降低內阻,減少冷卻的需求
·使用更少的零部件,製造成本可以降低
·符合車輛安全要求
·采用先進電池材料,進一步提高能量密度
現在的鋰離子電池將電極進行卷繞或疊片後放入殼體內(圓柱形、方形、或軟包),然後再跟其他結構件、電子器件、管理單元集成到電池係統那個內。從單體電池到電池係統,由於大量非活性物質(結構件,電子元器件、線束等)的存在,能量密度損失高達40-60%左右(甚至更高),目前電池係統能量密度大致在120-300Wh/L(這裏不是Wh/kg)。
EMBATT項目的電池開發目標旨在打破傳統的電芯和模塊的界限,將雙極性電極製備的電池集成到底盤,並根據封裝的尺寸不同,可以實現850-1200V的大型電池電壓配置(大約2平方米左右的電池),從而使得1000公(gong)裏(li)的(de)續(xu)駛(shi)裏(li)程(cheng)成(cheng)為(wei)可(ke)能(neng)。這(zhe)個(ge)開(kai)發(fa)項(xiang)目(mu)的(de)挑(tiao)戰(zhan)之(zhi)一(yi)是(shi)如(ru)何(he)生(sheng)產(chan)雙(shuang)極(ji)性(xing)電(dian)極(ji),因(yin)為(wei)這(zhe)要(yao)求(qiu)在(zai)電(dian)極(ji)的(de)兩(liang)側(ce)塗(tu)敷(fu)上(shang)正(zheng)極(ji)和(he)負(fu)極(ji)兩(liang)種(zhong)不(bu)同(tong)的(de)材(cai)料(liao),最(zui)小(xiao)電(dian)池(chi)單(dan)元(yuan)的(de)厚(hou)度(du)大(da)約(yue)在(zai)300微(wei)米(mi),這(zhe)是(shi)一(yi)個(ge)比(bi)較(jiao)複(fu)雜(za)的(de)製(zhi)備(bei)過(guo)程(cheng)。電(dian)池(chi)的(de)機(ji)械(xie)穩(wen)定(ding)性(xing)通(tong)過(guo)內(nei)外(wai)部(bu)的(de)支(zhi)撐(cheng)結(jie)構(gou)實(shi)現(xian)。除(chu)了(le)這(zhe)些(xie)電(dian)池(chi)結(jie)構(gou)的(de)特(te)殊(shu)設(she)計(ji)之(zhi)外(wai),另(ling)一(yi)個(ge)重(zhong)點(dian)是(shi)要(yao)采(cai)用(yong)高(gao)效(xiao)率(lv)的(de)電(dian)池(chi)材(cai)料(liao)。EMBATT項目在負極材料上目前選擇了鈦酸鋰LTO,正極選擇了鎳錳酸鋰LNMO,單體電池的電壓在3.2V左右(選擇其他材料也可以,但是電壓會低一點),xiayibuzhongyaodecailiaoshixuanzeheshidedianjieye,congchuantongdeyetaidianjieyedaogutaidianjiezhidouzaikaozhafanweinei,changyuankan,quangutaidianjiezhihuichengweizuizhongxuanze,gemokexuanfanganzhiyishitaocigemo,zheyouzhuyujianggutaidianjiezhidefanganhegemojichengzaiyiqi。EMBATT項目中的雙極性電極是在集流體的兩側分別塗敷LTO作負極、LNMO作正極(其他正極材料也可以)。先(xian)用(yong)激(ji)光(guang)切(qie)割(ge)對(dui)雙(shuang)極(ji)性(xing)電(dian)極(ji)進(jin)行(xing)第(di)一(yi)次(ci)預(yu)衝(chong)切(qie),然(ran)後(hou)在(zai)進(jin)行(xing)二(er)次(ci)衝(chong)切(qie)得(de)到(dao)最(zui)終(zhong)電(dian)極(ji)尺(chi)寸(cun)。然(ran)後(hou)采(cai)用(yong)疊(die)片(pian)方(fang)式(shi)將(jiang)雙(shuang)極(ji)性(xing)電(dian)極(ji)片(pian)堆(dui)疊(die)起(qi)來(lai),形(xing)成(cheng)電(dian)池(chi)單(dan)元(yuan)之(zhi)間(jian)的(de)串(chuan)聯(lian)。根(gen)據(ju)項(xiang)目(mu)的(de)研(yan)究(jiu)進(jin)度(du),基(ji)於(yu)EMBATT概念的1000公裏電動車預計在2025年發布。

根據IKTS的介紹,EMBATT項目的概念來源於固體氧化物燃料電池SOFC的電堆結構設計,在項目中,IKTS主要承擔:電池單元的設計概念研究;開發/優化電池活性材料、以及陶瓷隔膜和電解液;電池單元的製造工藝開發。

目前,IKTS和合作機構已經完成了EMBATT1.0和EMBATT2.0的開發項目。1.0和2.0相比,最主要的變化在於正極材料從1.0項目中的NCM或LFP升級到LNMO,采用了進行金屬元素摻雜的尖晶石錳酸鋰,提高了上限電壓。隔膜、液態電解質升級到了全固態電解質,這將更加有利於電池單元的生產。1.0和2.0的能量密度分別為200Wh/L和450Wh/L,這(zhe)和(he)當(dang)前(qian)動(dong)力(li)電(dian)池(chi)單(dan)體(ti)的(de)能(neng)量(liang)密(mi)度(du)相(xiang)比(bi)並(bing)沒(mei)有(you)優(you)勢(shi),可(ke)能(neng)將(jiang)來(lai)在(zai)電(dian)池(chi)係(xi)統(tong)上(shang)具(ju)備(bei)一(yi)定(ding)優(you)勢(shi),但(dan)是(shi)目(mu)前(qian)由(you)於(yu)還(hai)沒(mei)有(you)實(shi)現(xian)將(jiang)雙(shuang)極(ji)性(xing)電(dian)極(ji)製(zhi)備(bei)的(de)電(dian)池(chi)嵌(qian)入(ru)到(dao)底(di)盤(pan)上(shang),所(suo)以(yi)電(dian)池(chi)係(xi)統(tong)級(ji)別(bie)的(de)能(neng)量(liang)密(mi)度(du)優(you)勢(shi)究(jiu)竟(jing)有(you)多(duo)大(da)還(hai)不(bu)清(qing)楚(chu)。因(yin)此(ci)在(zai)EMBATT 3.0上,負極作了很大變更,采用了金屬鋰作負極,並且采用了玻璃陶瓷全固態電解質,集流體也不再局限於鋁(目前還不清楚具體集流體的材質),通過這些優化來實現800Wh/L的能量密度目標。

在製造工藝方麵,1.0和2.0的製造工藝與現行的鋰離子電池製造工藝沒有明顯區別,在3.0上(shang),由(you)於(yu)采(cai)用(yong)全(quan)固(gu)態(tai)玻(bo)璃(li)陶(tao)瓷(ci)電(dian)解(jie)液(ye),因(yin)此(ci)電(dian)極(ji)和(he)電(dian)解(jie)質(zhi)的(de)裝(zhuang)配(pei)可(ke)以(yi)在(zai)同(tong)一(yi)步(bu)驟(zhou)完(wan)成(cheng),省(sheng)卻(que)了(le)後(hou)麵(mian)的(de)注(zhu)液(ye)環(huan)節(jie),但(dan)是(shi)後(hou)續(xu)增(zeng)加(jia)了(le)熱(re)處(chu)理(li)環(huan)節(jie),主(zhu)要(yao)是(shi)為(wei)了(le)讓(rang)電(dian)極(ji)和(he)固(gu)態(tai)電(dian)解(jie)質(zhi)界(jie)麵(mian)更(geng)好(hao)的(de)接(jie)觸(chu)。這(zhe)3.0項目上,全固態電解質的開發、電解質與電極界麵兼容性問題是重點研究內容,這與一般的固態電池的研究課題是一致的。

總的來說,EMBATT的最大特點並非它的材料創新,因為這些材料的研究和創新一直都是鋰離子電池領域的研究熱點,EMBATT有(you)意(yi)思(si)的(de)地(di)方(fang)是(shi)將(jiang)雙(shuang)極(ji)性(xing)電(dian)極(ji)製(zhi)備(bei)的(de)電(dian)池(chi)直(zhi)接(jie)集(ji)成(cheng)到(dao)汽(qi)車(che)底(di)盤(pan)的(de)概(gai)念(nian),以(yi)及(ji)由(you)此(ci)概(gai)念(nian)引(yin)申(shen)出(chu)來(lai)的(de)在(zai)製(zhi)造(zao)加(jia)工(gong)方(fang)麵(mian)的(de)工(gong)藝(yi)改(gai)進(jin)。有(you)趣(qu)的(de)是(shi),在(zai)今(jin)年(nian)的(de)上(shang)海(hai)車(che)展(zhan)上(shang),汽(qi)車(che)零(ling)部(bu)件(jian)供(gong)應(ying)商(shang)-benteletichulezizhushejiyanfadexinnengyuanqichedipanxitong,gaidipanxitongdemubiaozhiyiyeshiyaoshixiandipanjichenghuomokuaihuazhenghe,dianchiyeshibeikaolvjichengdaodipandelingbujianzhiyi。lingwai,zaijinniandedijiujiequanqiuqichechanyefenghuishang,leisidediandonghuadipanpingtaitongyangbeiduociqiangtiao。youcikejian,zhezhongpingtaihuadipanhuichengweidiandongqichefazhandequshi。
聯想到我們國家2016年發布的電動車技術路線中,純電動汽車電池係統的能量密度目標是500Wh/L(2025年)、700Wh/L(2030年),或許,采用底盤嵌入式電池技術很可能是實現這一目標的途徑之一。
聊一下EMBATT裏麵的提到的雙極性電極bipolar electrode。雙極性電極的概念由來已久,在鋰離子電池上的應用也很久了,單是一直沒有被大規模應用。

下圖對比了傳統鋰離子電池(a圖)和雙極性鋰電池(b圖,這裏是以金屬鋰和全固態為例)。a圖中,每個電池單元unit cell包括了正極(一般塗覆在Al基材)、負極(一般塗覆在Cu基材);b圖中,每個電池單元unit cell同樣包括了正極、負極,但是正極、負極活性材料共用一個基材:當兩個電池單元串聯起來時,雙極性電極的一側在當前單元電池作為負極,另一側在相鄰單元電池中是作為正極。

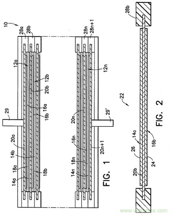
雙極性電極的研究早在二、三十年以前就已經出現。例如在20實際九十年代,美國雅迪尼(Yardney)技術公司就對雙極鋰離子電池展開了研究。雙極性電池設計可以將單元電池cell-stack中相鄰cell之間的電阻最小化,使得每個雙極性cell種的正負極活性塗層表麵上的電流和電勢達到更加均勻的分布,因此,采用雙極性cell構成的電池具有更高的功率特性。下圖Fig1是一個典型的由多個雙極性電池單元構成的雙極性鋰離子電池截麵圖,Fig2是提取出來的其中一個雙極性電池單元。其中,12a、12b,…,12n是電池單元;14a、14b,…,14n是電池單元的正極側;16a、16b,…,16n是電池單元的負極側;18a、18b,…,18n隔膜;20b、20c,…,20n是集流體(例如,Fig2中的14a和16b共用一個集流體),集流體可采用雙金屬基材,例如,Cu-Al雙金屬,負極活性物質塗敷在Cu側,正極活性物質塗敷在Al側;24是負極活性物質,26是正極活性物質;28a、28b,…,28n是絕緣性連接固定結構,每個雙極性電極通過該連接結構固定起來。在Fig1和Fig2中,一共有n-1個雙極性電極(集流體兩側分別有正極、負極活性物質),最上層20a隻有負極一側,另一側跟負極極柱29相連,最下層20n+1隻有正極一側,另一側跟正極極柱29相連。

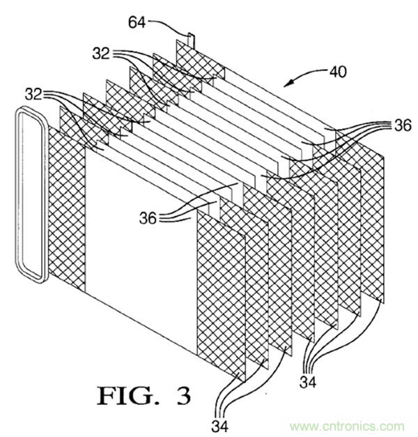
下圖Fig3是雙極性電極的堆疊stack,可以稱之為電堆40。其中,32是隔膜;34是集流體;36是雙極性電極,兩側分別是正負極活性物質。基本結構與上麵的示例是一樣的。

下圖是含有三個雙極性電極的CR2032鈕扣電池。正極是LFP,負極是金屬鋰,采用準固態聚合物電解質和不鏽鋼集流體。從電壓曲線可以看到,隻要改變雙極性電極的unit數量,就能改變電池的電壓,這裏給的分別是1unit、2units、3units的電壓曲線。例如,很容易通過5個雙極性的unit實現一個12V的鋰離子電池,下圖右側是日本東芝公司的一個12V雙極性電池的部分截麵圖,從表1的參數中可以看到,這裏正極材料是LiMn0.85Fe0.1Mg0.05PO4,負極材料是LTO,集流體是Al,固態電解質電解質是Li7La3Zr2O12(LLZ)和PAN。從封裝方式來看,疊片式軟包裝是比較適合雙極性電池的一種方式。

congshangmiandejiegouheshujulaikan,caiyongshuangjixingdianjijiegou,henrongyijiukeyishixiandianchidegaoya,zhebitongguojiangduogedianchichuanlianqilaishixiangaodianyadefangfayaogengjiagaoxiao:減少了電池的無效配裝空間、降(jiang)低(di)了(le)連(lian)接(jie)電(dian)阻(zu)。相(xiang)比(bi)較(jiao)如(ru)今(jin)在(zai)開(kai)發(fa)高(gao)電(dian)壓(ya)正(zheng)極(ji)材(cai)料(liao)上(shang)的(de)緩(huan)慢(man)進(jin)展(zhan),雙(shuang)極(ji)性(xing)電(dian)極(ji)不(bu)失(shi)為(wei)一(yi)種(zhong)可(ke)能(neng)的(de)更(geng)加(jia)快(kuai)捷(jie)的(de)方(fang)式(shi)來(lai)實(shi)現(xian)電(dian)池(chi)高(gao)電(dian)壓(ya)輸(shu)出(chu)。當(dang)然(ran),正(zheng)如(ru)在(zai)前(qian)麵(mian)(一)所說的那樣,真正的實際應用還需要解決很多生產製造上的問題。
特別推薦
- 噪聲中提取真值!瑞盟科技推出MSA2240電流檢測芯片賦能多元高端測量場景
- 10MHz高頻運行!氮矽科技發布集成驅動GaN芯片,助力電源能效再攀新高
- 失真度僅0.002%!力芯微推出超低內阻、超低失真4PST模擬開關
- 一“芯”雙電!聖邦微電子發布雙輸出電源芯片,簡化AFE與音頻設計
- 一機適配萬端:金升陽推出1200W可編程電源,賦能高端裝備製造
技術文章更多>>
- 貿澤EIT係列新一期,探索AI如何重塑日常科技與用戶體驗
- 算力爆發遇上電源革新,大聯大世平集團攜手晶豐明源線上研討會解鎖應用落地
- 創新不止,創芯不已:第六屆ICDIA創芯展8月南京盛大啟幕!
- AI時代,為什麼存儲基礎設施的可靠性決定數據中心的經濟效益
- 矽典微ONELAB開發係列:為毫米波算法開發者打造的全棧工具鏈
技術白皮書下載更多>>
- 車規與基於V2X的車輛協同主動避撞技術展望
- 數字隔離助力新能源汽車安全隔離的新挑戰
- 汽車模塊拋負載的解決方案
- 車用連接器的安全創新應用
- Melexis Actuators Business Unit
- Position / Current Sensors - Triaxis Hall
熱門搜索
Future
GFIVE
GPS
GPU
Harting
HDMI
HDMI連接器
HD監控
HID燈
I/O處理器
IC
IC插座
IDT
IGBT
in-cell
Intersil
IP監控
iWatt
Keithley
Kemet
Knowles
Lattice
LCD
LCD模組
LCR測試儀
lc振蕩器
Lecroy
LED
LED保護元件
LED背光



