擴展RF/微波測量的頻率範圍
發布時間:2011-08-05 來源:老古開發網
中心議題:
前言
虛擬儀器和合成儀器,是近年來業內人士經常談論的熱門話題。與傳統的機櫃式產品相比,采用模塊化方案,其更新和重構係統的成本更低廉。VXI和PXI是常用的兩種標準,相比之下,PXI的體積更小、重量更輕、總線更快,因而使用也更廣泛。
然而,習慣於常規儀器的行家裏手會質疑,RF和微波儀器產品能否在PXI中實現。數字信號十分合適,低功率設備也不成問題。甚至數字示波器和任意波形發生器一類儀表也可以做成PXI格式,但RF和微波測試裝置卻不行。

圖1 典型的單級下變頻器方框圖

圖2 典型的單級上變頻器方框圖
對小型、經濟實用和可重構的RF與微波測量係統和發生器係統的需求一直保持著強勁的勢頭,唯一的出路是另辟蹊徑。變頻不失為一種簡便、有效的技術。例如,將RF信號下變頻至較低的頻率,比如20MHz~30MHz,就可以用數字化儀來處理。一旦信號轉換成數字格式,從數據中提取信息,諸如頻率、功率、調製和諧波成分則相對地容易。采用相反的過程能提供係統的信號發生器功能。低頻信號送入上變頻器,最終輸出一個感興趣頻帶的有用頻率,調製可以通過任意波形發生器提供,也可以用軟件創建。
[page]
當前的係統水平
當前的PXI RF分析係統的頻率上限為2.7GHz或3GHz,輔以相應的軟件可提供下列測試功能:
頻譜分析
功率測量(峰值和平均值)
鄰道功率測量
調製分析
占用頻帶
頻率響應
具有上述測量功能係統的典型成本約為15000美元.一台頻譜分析儀的價格也大體如此.盡管PXI RF分析儀不一定具備同類單台產品的全部性能指標,但它確實能以較低成本提供欲完成任務的足夠性能。在大多數場合,RF分析儀用於生產環境,在這種環境中,工作速度和使用方便性比最高性能更重要。不僅如此,對準確測量應用,其軟件包是可以用戶定製的。
變頻技術
近年來,為了用PXI實現802.11a測試,必須將5.6GHz頻帶下變頻至1.1GHz~2.2GHz。下麵詳細考察各種變頻方案,並討論它們的優缺點。

表1 下變頻技術

表2 上變頻技術
表1列舉了3種主要的下變頻技術,同時指出了各自優缺點。基本混頻似乎是最佳方案。在4.6GHz~6GHz下變頻場合,使用固定頻率的本振,1.1GHz輸出信號的頻帶與輸入信號頻帶相同,因此稱為區變頻。
采用這一方案,一個雙槽寬PXI下變頻器模塊將4.9GHz~6GHz頻帶中信號變頻至1.1GHz~2.2GHz頻帶中信號。模塊的方框圖如圖1所示。下變頻器器設有一個鎖定在RF分析儀10MHz基振的固定頻率本振,輸入信號與本振混頻,然後經濾波後提供較低頻率的輸出。
圖3 12.2GHz-12.7GHz上變頻器方框圖
[page]
任何時候兩個信號混頻,得到的將不僅僅是所需要的頻率,還存在很多其它的頻率。因此,下變頻器設計必須保證將這些無用的信號全部過濾掉。濾波器同時還能降低本振信號在變頻器輸入和輸出上的電平。在混頻器的3個端口中還可增加一個小型2dB衰減器,來改善匹配度和係統的總平坦度。混頻器會產生下邊帶和上邊帶。在此場合,選擇下邊帶來覆蓋1.1GHz~2.2GHz頻帶。上邊帶由混頻器輸出端的低通濾波器過濾掉。然而,選擇下邊帶會產生頻譜倒置的複雜情況。例如,倘若本振頻率(FLO)為7.1GHz,輸入頻率(FIN)為4.9GHz,那末輸出頻率(FOUT)為2.2GHz或12GHz.
FOUT=FLO+FIN
12GHz信號經低通濾波器大於60dB的衰減,對輸出影響很小。同樣,6GHz輸入頻率會產生1.1GHz和13.1GHz輸出頻率。這樣,如果在輸入端掃頻,而在撿得的輸出端進行觀察,頻帶的低端出現在顯示的右邊,而高端在左邊。這個掃描圖形正好與觀察掃描頻率的習慣方式相反。幸運的是,頻譜倒置能很容易用軟件校正,顯示返回到正常的方式。
為了解決信號發生器的需求,一個上變頻器將信號從1.1GHz~2.2GHz頻帶變換至4.9GHz~6GHz頻帶。表2列出了上變頻器的兩種技術。同樣,我們選擇基本混頻方案。上變頻器的方框圖基本上和下變頻器類似,隻是作些變更以適應輸入頻率低於輸出頻率(圖2)。同樣可以用2dB衰減器來改善混頻器每個端口的匹配度。用相同的混頻器和開關來提供變頻或直通性能。上邊帶由輸出級的帶通濾波器除去,最終的輸出電平用可程控衰減器進行高速調整,為了便於觀察,針對頻譜倒置的校正是必不可少的。
為了實現802.11a測試,RF分析係統的成本增加至5000美元~8000美元。而一台新的信號發生器或頻譜分析儀,想要覆蓋擴展的頻率範圍,其成本至少高出5倍以上。
Wi Max要求
通信事業的發展不可能停止不前,新的應用層出不窮。一種新的標準是WiMax或80216a,全稱是微波接入全球互通它是一項無線城域網(WMAN)技術,是針對微波或毫米波頻段提出的一種新的無線接口標準。它用於將終端無線接入到互聯網,也可以將公司或家庭環境連接至有線骨幹網,作為線纜或DSL的線擴展技術,實現無線寬帶接入。
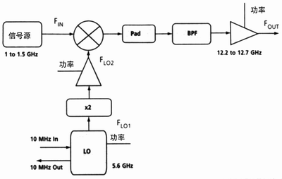
Wi Max給出了2GHz~66GHz極寬的頻率範圍。目前考慮的是2GHz~11GHz頻段Wi Max規章工作組建議先采用2.5GHz,3.5GHz以及5.8GHz頻段。如果這一標準被廣泛地采納,就要求調製解調器工作在這些頻段。對於PXI基RF分析儀。隻要工作帶寬不超過500MHz,仍然可以使用圖1所示的簡單分區下變頻器來完成這個任務。當然,本振頻率和相應的濾波器需作些改動。這一方案也適用於上變頻器。然而當輸出頻率在12.2GHz~12.7GHz時,上變頻器可按圖3所示的框圖進行設計。
寬帶應用
某些應用需要大於500MHz的帶寬,在這些場合,必須使用可調諧本振來控製雜散頻率和鏡象頻率。采用鎖定在10MHz基振的YIG調諧的合成器,已設計了一種覆蓋2.7GHz~6GHz的變頻器。帶調諧的變頻器,其輸出頻率範圍無法達到輸入頻率範圍相同帶寬,因而頻帶需分段進行分析。由於有用帶寬在20MHz~30MHz範圍,處於當前頻率擴展設計的能力之內,不會出現什麼問題。
盡管調諧本振的複雜程度較高,變頻器方案仍不失為擴展當前RF分析係統頻率範圍的最經濟,最方便的方法。
結語
簡單的變頻器是增加PXI基RF分析係統頻率性能最經濟,最有效的方法。係統軟件無需作大的改動,工作在透明的方式,且提供充分的靈活性。當要求變化時,需要改動的隻是變頻器部分而不是整個係統。這是機櫃式儀器無法達到的。
- 探究擴展RF/微波測量的頻率範圍的方法
- 采用增加PXI基RF分析係統頻率性能的方法
- 使用可調諧本振來控製雜散頻率和鏡象頻率
前言
虛擬儀器和合成儀器,是近年來業內人士經常談論的熱門話題。與傳統的機櫃式產品相比,采用模塊化方案,其更新和重構係統的成本更低廉。VXI和PXI是常用的兩種標準,相比之下,PXI的體積更小、重量更輕、總線更快,因而使用也更廣泛。
然而,習慣於常規儀器的行家裏手會質疑,RF和微波儀器產品能否在PXI中實現。數字信號十分合適,低功率設備也不成問題。甚至數字示波器和任意波形發生器一類儀表也可以做成PXI格式,但RF和微波測試裝置卻不行。

圖1 典型的單級下變頻器方框圖

圖2 典型的單級上變頻器方框圖
對小型、經濟實用和可重構的RF與微波測量係統和發生器係統的需求一直保持著強勁的勢頭,唯一的出路是另辟蹊徑。變頻不失為一種簡便、有效的技術。例如,將RF信號下變頻至較低的頻率,比如20MHz~30MHz,就可以用數字化儀來處理。一旦信號轉換成數字格式,從數據中提取信息,諸如頻率、功率、調製和諧波成分則相對地容易。采用相反的過程能提供係統的信號發生器功能。低頻信號送入上變頻器,最終輸出一個感興趣頻帶的有用頻率,調製可以通過任意波形發生器提供,也可以用軟件創建。
[page]
當前的係統水平
當前的PXI RF分析係統的頻率上限為2.7GHz或3GHz,輔以相應的軟件可提供下列測試功能:
頻譜分析
功率測量(峰值和平均值)
鄰道功率測量
調製分析
占用頻帶
頻率響應
具有上述測量功能係統的典型成本約為15000美元.一台頻譜分析儀的價格也大體如此.盡管PXI RF分析儀不一定具備同類單台產品的全部性能指標,但它確實能以較低成本提供欲完成任務的足夠性能。在大多數場合,RF分析儀用於生產環境,在這種環境中,工作速度和使用方便性比最高性能更重要。不僅如此,對準確測量應用,其軟件包是可以用戶定製的。
變頻技術
近年來,為了用PXI實現802.11a測試,必須將5.6GHz頻帶下變頻至1.1GHz~2.2GHz。下麵詳細考察各種變頻方案,並討論它們的優缺點。

表1 下變頻技術

表2 上變頻技術
表1列舉了3種主要的下變頻技術,同時指出了各自優缺點。基本混頻似乎是最佳方案。在4.6GHz~6GHz下變頻場合,使用固定頻率的本振,1.1GHz輸出信號的頻帶與輸入信號頻帶相同,因此稱為區變頻。
采用這一方案,一個雙槽寬PXI下變頻器模塊將4.9GHz~6GHz頻帶中信號變頻至1.1GHz~2.2GHz頻帶中信號。模塊的方框圖如圖1所示。下變頻器器設有一個鎖定在RF分析儀10MHz基振的固定頻率本振,輸入信號與本振混頻,然後經濾波後提供較低頻率的輸出。

圖3 12.2GHz-12.7GHz上變頻器方框圖
任何時候兩個信號混頻,得到的將不僅僅是所需要的頻率,還存在很多其它的頻率。因此,下變頻器設計必須保證將這些無用的信號全部過濾掉。濾波器同時還能降低本振信號在變頻器輸入和輸出上的電平。在混頻器的3個端口中還可增加一個小型2dB衰減器,來改善匹配度和係統的總平坦度。混頻器會產生下邊帶和上邊帶。在此場合,選擇下邊帶來覆蓋1.1GHz~2.2GHz頻帶。上邊帶由混頻器輸出端的低通濾波器過濾掉。然而,選擇下邊帶會產生頻譜倒置的複雜情況。例如,倘若本振頻率(FLO)為7.1GHz,輸入頻率(FIN)為4.9GHz,那末輸出頻率(FOUT)為2.2GHz或12GHz.
FOUT=FLO+FIN
12GHz信號經低通濾波器大於60dB的衰減,對輸出影響很小。同樣,6GHz輸入頻率會產生1.1GHz和13.1GHz輸出頻率。這樣,如果在輸入端掃頻,而在撿得的輸出端進行觀察,頻帶的低端出現在顯示的右邊,而高端在左邊。這個掃描圖形正好與觀察掃描頻率的習慣方式相反。幸運的是,頻譜倒置能很容易用軟件校正,顯示返回到正常的方式。
為了解決信號發生器的需求,一個上變頻器將信號從1.1GHz~2.2GHz頻帶變換至4.9GHz~6GHz頻帶。表2列出了上變頻器的兩種技術。同樣,我們選擇基本混頻方案。上變頻器的方框圖基本上和下變頻器類似,隻是作些變更以適應輸入頻率低於輸出頻率(圖2)。同樣可以用2dB衰減器來改善混頻器每個端口的匹配度。用相同的混頻器和開關來提供變頻或直通性能。上邊帶由輸出級的帶通濾波器除去,最終的輸出電平用可程控衰減器進行高速調整,為了便於觀察,針對頻譜倒置的校正是必不可少的。
為了實現802.11a測試,RF分析係統的成本增加至5000美元~8000美元。而一台新的信號發生器或頻譜分析儀,想要覆蓋擴展的頻率範圍,其成本至少高出5倍以上。
Wi Max要求
通信事業的發展不可能停止不前,新的應用層出不窮。一種新的標準是WiMax或80216a,全稱是微波接入全球互通它是一項無線城域網(WMAN)技術,是針對微波或毫米波頻段提出的一種新的無線接口標準。它用於將終端無線接入到互聯網,也可以將公司或家庭環境連接至有線骨幹網,作為線纜或DSL的線擴展技術,實現無線寬帶接入。
Wi Max給出了2GHz~66GHz極寬的頻率範圍。目前考慮的是2GHz~11GHz頻段Wi Max規章工作組建議先采用2.5GHz,3.5GHz以及5.8GHz頻段。如果這一標準被廣泛地采納,就要求調製解調器工作在這些頻段。對於PXI基RF分析儀。隻要工作帶寬不超過500MHz,仍然可以使用圖1所示的簡單分區下變頻器來完成這個任務。當然,本振頻率和相應的濾波器需作些改動。這一方案也適用於上變頻器。然而當輸出頻率在12.2GHz~12.7GHz時,上變頻器可按圖3所示的框圖進行設計。
寬帶應用
某些應用需要大於500MHz的帶寬,在這些場合,必須使用可調諧本振來控製雜散頻率和鏡象頻率。采用鎖定在10MHz基振的YIG調諧的合成器,已設計了一種覆蓋2.7GHz~6GHz的變頻器。帶調諧的變頻器,其輸出頻率範圍無法達到輸入頻率範圍相同帶寬,因而頻帶需分段進行分析。由於有用帶寬在20MHz~30MHz範圍,處於當前頻率擴展設計的能力之內,不會出現什麼問題。
盡管調諧本振的複雜程度較高,變頻器方案仍不失為擴展當前RF分析係統頻率範圍的最經濟,最方便的方法。
結語
簡單的變頻器是增加PXI基RF分析係統頻率性能最經濟,最有效的方法。係統軟件無需作大的改動,工作在透明的方式,且提供充分的靈活性。當要求變化時,需要改動的隻是變頻器部分而不是整個係統。這是機櫃式儀器無法達到的。
特別推薦
- 噪聲中提取真值!瑞盟科技推出MSA2240電流檢測芯片賦能多元高端測量場景
- 10MHz高頻運行!氮矽科技發布集成驅動GaN芯片,助力電源能效再攀新高
- 失真度僅0.002%!力芯微推出超低內阻、超低失真4PST模擬開關
- 一“芯”雙電!聖邦微電子發布雙輸出電源芯片,簡化AFE與音頻設計
- 一機適配萬端:金升陽推出1200W可編程電源,賦能高端裝備製造
技術文章更多>>
- 貿澤EIT係列新一期,探索AI如何重塑日常科技與用戶體驗
- 算力爆發遇上電源革新,大聯大世平集團攜手晶豐明源線上研討會解鎖應用落地
- 創新不止,創芯不已:第六屆ICDIA創芯展8月南京盛大啟幕!
- AI時代,為什麼存儲基礎設施的可靠性決定數據中心的經濟效益
- 矽典微ONELAB開發係列:為毫米波算法開發者打造的全棧工具鏈
技術白皮書下載更多>>
- 車規與基於V2X的車輛協同主動避撞技術展望
- 數字隔離助力新能源汽車安全隔離的新挑戰
- 汽車模塊拋負載的解決方案
- 車用連接器的安全創新應用
- Melexis Actuators Business Unit
- Position / Current Sensors - Triaxis Hall
熱門搜索
Future
GFIVE
GPS
GPU
Harting
HDMI
HDMI連接器
HD監控
HID燈
I/O處理器
IC
IC插座
IDT
IGBT
in-cell
Intersil
IP監控
iWatt
Keithley
Kemet
Knowles
Lattice
LCD
LCD模組
LCR測試儀
lc振蕩器
Lecroy
LED
LED保護元件
LED背光




