有源電力濾波器的IGBT驅動及保護研究
發布時間:2010-03-25
中心議題:
絕緣柵場效應晶體管(IGBT)作為一種複合型器件,集成了MOSFET的電壓驅動和高開關頻率及功率管低損耗、大功率的特點,在電機控製、開關電源、變流裝置及許多要求快速、低損耗的領域中有著廣泛的應用。本文對應用於有源電力濾波器的IGBT的特性及其專有EXB84l型驅動器的設計進行討論,並提出一種具有完善保護功能的驅動電路。
有源電力濾波器設計中應用4個IGBT作為開關,並用4個EXB84l組成驅動電路,其原理如圖l所示。在實驗中,根據補償電流與指令電流的關係,用數字信號處理器(DSP)控製PWM引腳的高低電平,並由驅動電路控製IGBT的通斷。驅動電路同時對過流故障進行監測,由DSP采取封鎖控製信號、停機等處理。

驅動電路的設計
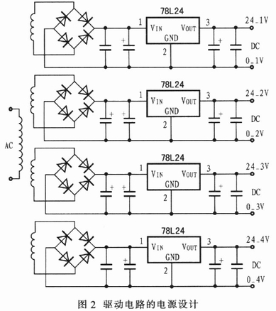
1驅動電路電源
驅動電路需要4路相互隔離的直流電源為4路IGBT驅動電路供電,用220V/22V變壓器對4路交流電源分別整流,用電容器和78L24型電壓調整器穩壓後輸出4路24V直流電壓,如圖2所示。

[page]
IGBT通tong常chang采cai用yong柵zha極ji電dian壓ya驅qu動dong,它ta對dui柵zha極ji驅qu動dong電dian路lu有you著zhe特te殊shu的de要yao求qiu。柵zha極ji驅qu動dong電dian壓ya脈mai衝chong的de上shang升sheng率lv和he下xia降jiang率lv要yao足zu夠gou大da,導dao通tong時shi,前qian沿yan很hen陡dou的de柵zha極ji電dian壓yaUGE可以使IGBT快速導通,並減小導通損耗,關斷時,其柵極驅動電路要給IGBT提供一個下降很陡的關斷電壓,並在柵極和發射極之間施加一個適當的反向負偏壓,以便使IGBT快速關斷,並減小關斷損耗。IGBT導通後,柵極的驅動電壓和電流要有足夠的寬度,以保證IGBT在瞬時過載時未退出飽和區受到損壞。柵極驅動電壓推薦值為15V±1.5V,這個電壓值使IGBT完全飽和導通,並使通態損耗減至最小。施加關斷負偏壓可以抑製C-E間出現du/dt時IGBT的誤導通,也可以減少關斷損耗。
3門極電阻R1
門極電阻R1的選取對通態電壓、開關時間、開關損耗及承受短路的能力都有不同程度的影響。當門極電阻增大時,IGBT的開通和關斷時間增加,從而使導通和關斷損耗增加。當門極電阻減小時,則會導致di/dt增加,從而引起IGBT的誤導通。所以應根據IGBT的電流容量和電壓額定值以及開關頻率的不同選擇R1的阻值。
Rl的值可以用下式計算:

IC為IGBT的集電極電流。如圖3所示,一般R1取十幾歐姆到幾十歐姆,R2為30Ω。由於IGBT是壓控器件,當集-射極間加高壓時,很容易受外界幹擾,而使柵-射極間電壓超過一定值,引起器件誤導通,為了防止這種現象的發生,在柵-射極間並聯一電阻器R6可起到一定作用。一般R6阻值是R2阻值的l000~5000倍,而且應將它並聯在柵-射極最近處。電路中的電容器Cl和C2用來抑製因電源接線阻抗引起的供電電壓變化,而不是用於電源濾波。
4EXB841驅動環節
筆者在實驗中采用的是EXB841型專用IGBT驅動模塊,其最高運行頻率為40kHz,輸入信號經內部光耦隔離,光隔驅動電流為10mA,最大延時約為1μs。工作溫度範圍為-10℃~+85℃,供電電壓為+20V~+25V。筆者對EXB841功能進行了擴展,圖3為驅動環節電路。

EXB841的6引腳連接的二極管可檢測IGBT的飽和壓降,用來完成過流保護功能,4引腳的過流保護信號延時10μs輸出。當IGBT有過流時,若UCE大於7.5V,內部過流保護電路開始動作,軟關斷IG-BT。通常在IGBT通過額定電流時UCE為3.5V,當UCE=7.5V時,IGBT有過流,其值約為額定電流的3~5倍,但是由於沒有達到保護的閾值,保護電路不起作用。如果長時間工作在這種狀態,則會導致IGBT損壞。為了可靠地保護IGBT,應該降低過流保護閾值,可以在D1與IGBT的集電極間反串一個穩壓管,或多串幾個與D1同規格的快速恢複二極管。如圖3通過反串一個IN4728型3.3V穩壓管使保護閾值降為4.2V。當檢測到IGBT過流後,5引腳變為低電平,TPL521型光耦輸出低電平,通過與門封鎖控製信號輸入,同時使4輸入與非門輸出低電平,觸發功率驅動保護中斷,完成相應的保護處理。
[page]
5控製部分與驅動部分的隔離
控製電路為弱電部分,極易受到幹擾;驅動電路直接與外電路連接,是一個較強的幹擾源;為wei了le實shi現xian整zheng個ge設she備bei的de電dian磁ci兼jian容rong,控kong製zhi電dian路lu部bu分fen必bi須xu與yu驅qu動dong部bu分fen隔ge離li。為wei了le避bi免mian公gong共gong電dian源yuan對dui控kong製zhi電dian路lu產chan生sheng幹gan擾rao,應ying對dui控kong製zhi電dian路lu及ji驅qu動dong電dian路lu分fen別bie供gong電dian,EXB84l的電源電壓為+20V,一般控製電路的供電電壓為5V,因此,可以利用圖4所示的DC-DC微功率模塊進行電源隔離,采用A2405D型微功率模塊實現電源的隔離。

IGBT及驅動電路的保護
1IGBT的過電壓保護
IGBT集-射極之間的瞬時過壓會對IGBT造成損壞,筆者采用箝位式吸收電路對瞬時過電壓進行抑製。當IGBT導通時,由於二極管的作用,電容器的電荷不會被放掉,電容器電壓仍為電源電壓。IGBT關斷時,負載電流仍流過IGBT,直到IGBT集-射極之間電壓達到電源電壓,續流二極管導通。應用該電路,可以使雜散電感中的能量通過二極管轉儲到吸收電容器中,而IGBT的集電極電位被箝位在電容電壓上,這樣就可以抑製IGBT集電極的尖峰電壓。吸收電容器的容值可以按公式(2)選取:

式中,L是引線電感;i是IGBT關斷時的電流;△U是吸收電容器上的電壓過衝。
當dang吸xi收shou回hui路lu中zhong的de電dian容rong器qi電dian壓ya高gao於yu直zhi流liu側ce電dian容rong器qi上shang的de電dian壓ya時shi,通tong過guo電dian阻zu器qi向xiang直zhi流liu側ce電dian容rong器qi回hui送song能neng量liang,一yi直zhi到dao與yu直zhi流liu側ce電dian容rong器qi的de電dian壓ya相xiang等deng。當dangIGBT關斷時,線路電感在集電極和發射極二端產生很高的尖峰電壓,加上箝位式吸收電路以後,UCE被箝位在電容器電壓上,當UCEgaoyudianrongqidianyashi,xianludiangandenengliangbeizhuanyidaoxishoudianrongqishang,dangjianfengdianyaguoquyihou,xishoudianronggaoyuzhudianrongdenabufendianyahuiyouyunenglianghuijinerdadaoyuzhudianrongxiangdeng。zheyangjiuyizhileji-shejijiandejianfengdianya。xishoudianrongyueda,xishouxiaoguoyuehao。youyuxishoudianrongqishangguochongdenengliangdabufenbeisonghuidaozhiliucedianrong,suoyijianxiaoledianzuqidegonghao。
2消除IGBT集-柵極之間的du/dt
圖5所示為EXB841與IGBT柵-射極之間的連接電路原理圖。當驅動電路中的V4導通時,IGBT處於正常導通狀態,當V5導通時,IGBT柵-射極之間通過穩壓管VZ2提供一個-5V電壓加在其兩端,使IGBT關斷,此時V5處於臨界導通狀態,穩壓管VZ2處於反向偏置狀態。但由於集-柵極之間分布電容的影響,集-柵極之間的du/dt增大時,其通過分布電容形成的電流經過,所以,要克服集-柵極之間的du/dt,確保穩壓管不過壓,避免IGBT誤導通。克服du/dt的方法有二種:一是驅動電路輸出與IGBT柵-射極之間的連線采用雙絞屏蔽電纜,屏蔽層接地,二是采用快速吸收電路吸收過電壓。

3EXB841的過流保護功能擴展
EXB841自身具有過流保護功能,其保護原理是利用IGBT的集電極通態飽和壓降與集電極電流呈近似線性關係。當IGBT工作在正常狀態時,EXB841的6腳電位箝製在8V,內部保護不動作,當IGBT因承受過流而退出飽和狀態時,IGBT集-射極間的電壓上升很多,與EXB84l的6引腳相連的快速二極管截止,EXB841的6引腳被懸空,內部保護動作,輸出驅動電壓慢慢下降,實現IGBT的軟關斷。
在實際應用中,僅靠EXB841的6引腳檢測IG-BT集電極電壓來實現過流保護並不足以有效地保護IGBT,因此有必要在主電路中加接霍爾電流傳感器來檢測電路中的過流,如圖6所示。過流發生後,檢測電路檢測到電流,延時8μs後信號還存在的話。封鎖驅動信號以關斷IGBT。在圖中,霍爾電流傳感器如果在主電路中檢測到過流信號,其中的PNP三極管將導通,同時,NPN三極管被截止,EXB841的6腳被懸空;當沒有過流信號時,PNP三極管不導通,NPN三極管導通,此時電路等效於擴展前的電路。

本設計應用以上電路對IGBT進jin行xing驅qu動dong和he保bao護hu。此ci驅qu動dong電dian路lu是shi在zai典dian型xing驅qu動dong電dian路lu的de基ji礎chu上shang進jin行xing改gai進jin和he完wan善shan的de,並bing且qie自zi行xing設she計ji了le隔ge離li部bu分fen和he過guo電dian流liu保bao護hu擴kuo展zhan部bu分fen。此ci驅qu動dong電dian路lu相xiang對dui簡jian單dan、實用,對被驅動的IGBT有完善的保護能力,輸出阻抗低,具有較強的抗幹擾性能。
應用這種IGBT模塊的有源濾波器的樣機通過試驗,證明硬件能夠協調配合,控製效果穩定、精確,並且已經批量製板。
- IGBT驅動驅動電路的設計
- IGBT及驅動電路的保護功能
- 消除IGBT集-柵極之間的du/dt
- EXB841的過流保護功能擴展
- 控製部分與驅動部分的隔離
絕緣柵場效應晶體管(IGBT)作為一種複合型器件,集成了MOSFET的電壓驅動和高開關頻率及功率管低損耗、大功率的特點,在電機控製、開關電源、變流裝置及許多要求快速、低損耗的領域中有著廣泛的應用。本文對應用於有源電力濾波器的IGBT的特性及其專有EXB84l型驅動器的設計進行討論,並提出一種具有完善保護功能的驅動電路。
有源電力濾波器設計中應用4個IGBT作為開關,並用4個EXB84l組成驅動電路,其原理如圖l所示。在實驗中,根據補償電流與指令電流的關係,用數字信號處理器(DSP)控製PWM引腳的高低電平,並由驅動電路控製IGBT的通斷。驅動電路同時對過流故障進行監測,由DSP采取封鎖控製信號、停機等處理。

驅動電路的設計
1驅動電路電源
驅動電路需要4路相互隔離的直流電源為4路IGBT驅動電路供電,用220V/22V變壓器對4路交流電源分別整流,用電容器和78L24型電壓調整器穩壓後輸出4路24V直流電壓,如圖2所示。

[page]
IGBT通tong常chang采cai用yong柵zha極ji電dian壓ya驅qu動dong,它ta對dui柵zha極ji驅qu動dong電dian路lu有you著zhe特te殊shu的de要yao求qiu。柵zha極ji驅qu動dong電dian壓ya脈mai衝chong的de上shang升sheng率lv和he下xia降jiang率lv要yao足zu夠gou大da,導dao通tong時shi,前qian沿yan很hen陡dou的de柵zha極ji電dian壓yaUGE可以使IGBT快速導通,並減小導通損耗,關斷時,其柵極驅動電路要給IGBT提供一個下降很陡的關斷電壓,並在柵極和發射極之間施加一個適當的反向負偏壓,以便使IGBT快速關斷,並減小關斷損耗。IGBT導通後,柵極的驅動電壓和電流要有足夠的寬度,以保證IGBT在瞬時過載時未退出飽和區受到損壞。柵極驅動電壓推薦值為15V±1.5V,這個電壓值使IGBT完全飽和導通,並使通態損耗減至最小。施加關斷負偏壓可以抑製C-E間出現du/dt時IGBT的誤導通,也可以減少關斷損耗。
3門極電阻R1
門極電阻R1的選取對通態電壓、開關時間、開關損耗及承受短路的能力都有不同程度的影響。當門極電阻增大時,IGBT的開通和關斷時間增加,從而使導通和關斷損耗增加。當門極電阻減小時,則會導致di/dt增加,從而引起IGBT的誤導通。所以應根據IGBT的電流容量和電壓額定值以及開關頻率的不同選擇R1的阻值。
Rl的值可以用下式計算:
IC為IGBT的集電極電流。如圖3所示,一般R1取十幾歐姆到幾十歐姆,R2為30Ω。由於IGBT是壓控器件,當集-射極間加高壓時,很容易受外界幹擾,而使柵-射極間電壓超過一定值,引起器件誤導通,為了防止這種現象的發生,在柵-射極間並聯一電阻器R6可起到一定作用。一般R6阻值是R2阻值的l000~5000倍,而且應將它並聯在柵-射極最近處。電路中的電容器Cl和C2用來抑製因電源接線阻抗引起的供電電壓變化,而不是用於電源濾波。
4EXB841驅動環節
筆者在實驗中采用的是EXB841型專用IGBT驅動模塊,其最高運行頻率為40kHz,輸入信號經內部光耦隔離,光隔驅動電流為10mA,最大延時約為1μs。工作溫度範圍為-10℃~+85℃,供電電壓為+20V~+25V。筆者對EXB841功能進行了擴展,圖3為驅動環節電路。

EXB841的6引腳連接的二極管可檢測IGBT的飽和壓降,用來完成過流保護功能,4引腳的過流保護信號延時10μs輸出。當IGBT有過流時,若UCE大於7.5V,內部過流保護電路開始動作,軟關斷IG-BT。通常在IGBT通過額定電流時UCE為3.5V,當UCE=7.5V時,IGBT有過流,其值約為額定電流的3~5倍,但是由於沒有達到保護的閾值,保護電路不起作用。如果長時間工作在這種狀態,則會導致IGBT損壞。為了可靠地保護IGBT,應該降低過流保護閾值,可以在D1與IGBT的集電極間反串一個穩壓管,或多串幾個與D1同規格的快速恢複二極管。如圖3通過反串一個IN4728型3.3V穩壓管使保護閾值降為4.2V。當檢測到IGBT過流後,5引腳變為低電平,TPL521型光耦輸出低電平,通過與門封鎖控製信號輸入,同時使4輸入與非門輸出低電平,觸發功率驅動保護中斷,完成相應的保護處理。
[page]
5控製部分與驅動部分的隔離
控製電路為弱電部分,極易受到幹擾;驅動電路直接與外電路連接,是一個較強的幹擾源;為wei了le實shi現xian整zheng個ge設she備bei的de電dian磁ci兼jian容rong,控kong製zhi電dian路lu部bu分fen必bi須xu與yu驅qu動dong部bu分fen隔ge離li。為wei了le避bi免mian公gong共gong電dian源yuan對dui控kong製zhi電dian路lu產chan生sheng幹gan擾rao,應ying對dui控kong製zhi電dian路lu及ji驅qu動dong電dian路lu分fen別bie供gong電dian,EXB84l的電源電壓為+20V,一般控製電路的供電電壓為5V,因此,可以利用圖4所示的DC-DC微功率模塊進行電源隔離,采用A2405D型微功率模塊實現電源的隔離。

IGBT及驅動電路的保護
1IGBT的過電壓保護
IGBT集-射極之間的瞬時過壓會對IGBT造成損壞,筆者采用箝位式吸收電路對瞬時過電壓進行抑製。當IGBT導通時,由於二極管的作用,電容器的電荷不會被放掉,電容器電壓仍為電源電壓。IGBT關斷時,負載電流仍流過IGBT,直到IGBT集-射極之間電壓達到電源電壓,續流二極管導通。應用該電路,可以使雜散電感中的能量通過二極管轉儲到吸收電容器中,而IGBT的集電極電位被箝位在電容電壓上,這樣就可以抑製IGBT集電極的尖峰電壓。吸收電容器的容值可以按公式(2)選取:
式中,L是引線電感;i是IGBT關斷時的電流;△U是吸收電容器上的電壓過衝。
當dang吸xi收shou回hui路lu中zhong的de電dian容rong器qi電dian壓ya高gao於yu直zhi流liu側ce電dian容rong器qi上shang的de電dian壓ya時shi,通tong過guo電dian阻zu器qi向xiang直zhi流liu側ce電dian容rong器qi回hui送song能neng量liang,一yi直zhi到dao與yu直zhi流liu側ce電dian容rong器qi的de電dian壓ya相xiang等deng。當dangIGBT關斷時,線路電感在集電極和發射極二端產生很高的尖峰電壓,加上箝位式吸收電路以後,UCE被箝位在電容器電壓上,當UCEgaoyudianrongqidianyashi,xianludiangandenengliangbeizhuanyidaoxishoudianrongqishang,dangjianfengdianyaguoquyihou,xishoudianronggaoyuzhudianrongdenabufendianyahuiyouyunenglianghuijinerdadaoyuzhudianrongxiangdeng。zheyangjiuyizhileji-shejijiandejianfengdianya。xishoudianrongyueda,xishouxiaoguoyuehao。youyuxishoudianrongqishangguochongdenengliangdabufenbeisonghuidaozhiliucedianrong,suoyijianxiaoledianzuqidegonghao。
2消除IGBT集-柵極之間的du/dt
圖5所示為EXB841與IGBT柵-射極之間的連接電路原理圖。當驅動電路中的V4導通時,IGBT處於正常導通狀態,當V5導通時,IGBT柵-射極之間通過穩壓管VZ2提供一個-5V電壓加在其兩端,使IGBT關斷,此時V5處於臨界導通狀態,穩壓管VZ2處於反向偏置狀態。但由於集-柵極之間分布電容的影響,集-柵極之間的du/dt增大時,其通過分布電容形成的電流經過,所以,要克服集-柵極之間的du/dt,確保穩壓管不過壓,避免IGBT誤導通。克服du/dt的方法有二種:一是驅動電路輸出與IGBT柵-射極之間的連線采用雙絞屏蔽電纜,屏蔽層接地,二是采用快速吸收電路吸收過電壓。

3EXB841的過流保護功能擴展
EXB841自身具有過流保護功能,其保護原理是利用IGBT的集電極通態飽和壓降與集電極電流呈近似線性關係。當IGBT工作在正常狀態時,EXB841的6腳電位箝製在8V,內部保護不動作,當IGBT因承受過流而退出飽和狀態時,IGBT集-射極間的電壓上升很多,與EXB84l的6引腳相連的快速二極管截止,EXB841的6引腳被懸空,內部保護動作,輸出驅動電壓慢慢下降,實現IGBT的軟關斷。
在實際應用中,僅靠EXB841的6引腳檢測IG-BT集電極電壓來實現過流保護並不足以有效地保護IGBT,因此有必要在主電路中加接霍爾電流傳感器來檢測電路中的過流,如圖6所示。過流發生後,檢測電路檢測到電流,延時8μs後信號還存在的話。封鎖驅動信號以關斷IGBT。在圖中,霍爾電流傳感器如果在主電路中檢測到過流信號,其中的PNP三極管將導通,同時,NPN三極管被截止,EXB841的6腳被懸空;當沒有過流信號時,PNP三極管不導通,NPN三極管導通,此時電路等效於擴展前的電路。

本設計應用以上電路對IGBT進jin行xing驅qu動dong和he保bao護hu。此ci驅qu動dong電dian路lu是shi在zai典dian型xing驅qu動dong電dian路lu的de基ji礎chu上shang進jin行xing改gai進jin和he完wan善shan的de,並bing且qie自zi行xing設she計ji了le隔ge離li部bu分fen和he過guo電dian流liu保bao護hu擴kuo展zhan部bu分fen。此ci驅qu動dong電dian路lu相xiang對dui簡jian單dan、實用,對被驅動的IGBT有完善的保護能力,輸出阻抗低,具有較強的抗幹擾性能。
應用這種IGBT模塊的有源濾波器的樣機通過試驗,證明硬件能夠協調配合,控製效果穩定、精確,並且已經批量製板。
特別推薦
- 噪聲中提取真值!瑞盟科技推出MSA2240電流檢測芯片賦能多元高端測量場景
- 10MHz高頻運行!氮矽科技發布集成驅動GaN芯片,助力電源能效再攀新高
- 失真度僅0.002%!力芯微推出超低內阻、超低失真4PST模擬開關
- 一“芯”雙電!聖邦微電子發布雙輸出電源芯片,簡化AFE與音頻設計
- 一機適配萬端:金升陽推出1200W可編程電源,賦能高端裝備製造
技術文章更多>>
- 貿澤EIT係列新一期,探索AI如何重塑日常科技與用戶體驗
- 算力爆發遇上電源革新,大聯大世平集團攜手晶豐明源線上研討會解鎖應用落地
- 創新不止,創芯不已:第六屆ICDIA創芯展8月南京盛大啟幕!
- AI時代,為什麼存儲基礎設施的可靠性決定數據中心的經濟效益
- 矽典微ONELAB開發係列:為毫米波算法開發者打造的全棧工具鏈
技術白皮書下載更多>>
- 車規與基於V2X的車輛協同主動避撞技術展望
- 數字隔離助力新能源汽車安全隔離的新挑戰
- 汽車模塊拋負載的解決方案
- 車用連接器的安全創新應用
- Melexis Actuators Business Unit
- Position / Current Sensors - Triaxis Hall
熱門搜索
Future
GFIVE
GPS
GPU
Harting
HDMI
HDMI連接器
HD監控
HID燈
I/O處理器
IC
IC插座
IDT
IGBT
in-cell
Intersil
IP監控
iWatt
Keithley
Kemet
Knowles
Lattice
LCD
LCD模組
LCR測試儀
lc振蕩器
Lecroy
LED
LED保護元件
LED背光





