LoRaWAN(非蜂窩LPWA)入門 - 基礎篇
發布時間:2024-06-20 責任編輯:lina
【導讀】LoRaWAN是在具有廣域、遠距離、低速、低耗電量等特點的LPWA(Low Power Wide Area)無線通信中,利用不需要無線局許可證的非授權頻段(Sub-GHz頻帶)的規格。LoRaWAN是一種非蜂窩LPWA,由非營利組織LoRa Alliance製定,並經國際電信聯盟[ITU]批準後於2021年12月成為國際標準。
1. 什麼是LoRaWAN?
LoRaWAN是在具有廣域、遠距離、低速、低耗電量等特點的LPWA(Low Power Wide Area)無線通信中,利用不需要無線局許可證的非授權頻段(Sub-GHz頻帶)的規格。LoRaWAN是一種非蜂窩LPWA,由非營利組織LoRa Alliance製定,並經國際電信聯盟[ITU]批準後於2021年12月成為國際標準。
LoRaWAN是一種無線網絡係統,它通過將一台或少數網關與配備多個LoRaWAN模塊的終端設備連接來使用。此處的終端設備是指控製終端應用(例如,普通照明和攝像頭等的傳感器)的通信終端。
LoRaWANbuxuyaoyunyingshangdetongxinwang,yunxuyonghuzaizijidegongsigoujianheyunyingwangluo,youyuqibushouyongtuheyewuguimodexianzhi,yiyuyinru,suoyiyonghushuliangzhunianzengjia。
1.1 LoRaWAN與蜂窩LPWA
LoRaWAN是一種非蜂窩LPWA標準,同與運營商簽訂合同後使用線路的蜂窩LPWA相比,它可以降低運營成本。此外,也不需要考慮其使用場所能否與運營商的基站進行穩定的通信。
而且,由於它也可構建公司自己完全獨立的網絡環境,因此可以實現私密且安全的無線通信環境,不需要通過外部公司的線路。
關於蜂窩LPWA與非蜂窩LPWA的規格比較,請參考前文:什麼是LPWA(Low Power Wide Area)無線通信 - 基礎篇。
1.2 LoRaWAN的主要用途
主要用途有生活基礎設施中的智能儀表、智能城市、智能建築、公共交通智能化、製造業物聯網化、基於物流貨物和人員的位置信息的跟蹤、環境傳感、智能農業等。與蜂窩LPWA不同,它不受運營商的服務區域限製,並且可以以相對較低的成本進行運營,因此作為一種適用於多種領域的物聯網和M2M的無線通信方式在全球範圍內受到的關注程度越來越高。
我們將在本文的“後篇”介紹一些使用LoRaWAN的事例(敬請期待!)
2. LoRaWAN的通信協議棧
在許多情況下,通過查看已實現的通信協議棧可以了解該通信方法的特征。
無論是無線還是有線,電氣通信都是通過按照通信協議來發揮作用的。關於什麼是通信協議,請參考前文:無線通信的基礎知識-無線機製。
下表給出了LoRaWAN模型和OSI參考模型中通信協議棧各層的作用和對應關係。OSIcankaomoxingshixieyizhandeguojibiaozhunmoxing。muqian,gaimoxingdexieyizhanbingweibeiyuanfengbudongdishiyong,dantashiyigecankaomoxing,shixieyizhandejichu,yincijingchangbeiyonglaiyushebeizhongshixiandeduozhongxieyijinxingbijiao。
表:OSI參考模型和各層的作用、LoRaWAN模型
從上表可以看出,LoRaWAN模型的棧有3層,而互聯網通信協議——TCP/IP模型有4層,因此,LoRaWAN模型的協議構成更簡單。這使協議更新更加容易並有助於縮短響應時間。
下圖顯示了LoRaWAN的通信協議棧。在此,我們將對LoRaWAN的協議棧以及LoRa和LoRaWAN各自在協議中的含義和作用等進行說明。
LoRaWAN的通信協議棧
2.1 什麼是LoRa(物理層)?
位於上圖底部物理層的LoRa是Long Range(遠距離)的縮寫,指的是由美國的SEMTECH公司基於頻譜擴散的一種——CSS(Chirp Spread Spectrum)開發的無線調製方式。
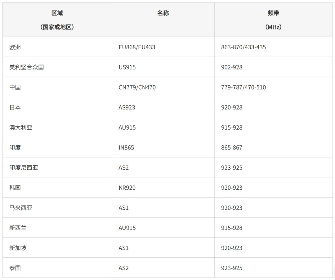
此外,LoRa的ISM頻段如下表所示是按國家和地區分別設定的。( ISM頻段是由國際電信聯盟(ITU)製定、不需要許可證即可在工業(Industry)、科學(Science)和醫療(Medicine)等領域使用的頻帶。ISM頻段當中有全球通用的和按區域(國家和地區)劃分的ISM頻帶,LoRa被設定為後者。)
表:按區域(部分)劃分的LoRa頻帶
2.2 什麼是LoRaWAN(MAC層)?
MAC是Media Access Control的縮寫,中文也稱為媒體訪問控製,它在分層通信協議中除了定義和分配識別設備的MAC地址之外,還對控製信號發送時間段、分割發送數據、組裝(發送)和分解(接收)添加目的地地址等控製數據後的幀、錯誤檢測等規定了方法。
MAC層的LoRaWAN是非蜂窩LPWA的標準名稱,同時也指LoRaWAN網絡的通信協議(通信中的約定)。 在LoRaWAN中,終端設備沒有IP,而是使用MAC(設備ID)連接到網關並進行無線通信。
此外,MAC選項有Class A / Class B / Class C,它們在終端設備和網關之間的雙向通信中具有不同的上行和下行通信方案和間隔,與耗電量相關的設備側接收槽的打開/關閉動作等也不一樣。
3. 構建LoRaWAN網絡
構建LoRaWAN網絡,該如何配置LPWA設備、網關、服務器等?
LoRaWAN是一種非蜂窩LPWA標準,因此它不像蜂窩LPWA設備的無線通信那樣使用運營商的基站和通信網。
在LoRaWAN中,數據通信在終端設備(配備了LoRaWAN模塊的傳感器等)與支持LoRaWAN的網關之間以無線方式進行。數據通過該網關傳輸到通信協議與LoRaWAN不同的網絡服務器、應用服務器等。
下麵,我們將介紹使用LoRaWAN構建的主要網絡事例。
3.1 自製LoRaWAN網絡
非蜂窩LPWA不需要無線局許可證,因此也可以通過公司自己準備配備了LoRaWAN模塊的終端設備,再加上支持LoRaWAN的網關、網絡服務器、應用服務器等來構建係統。
自建自營的LoRaWAN網絡構建事例
如上圖所示,其優點是可以通過公司自己構建和運營整個環境來使用私密且安全的無線解決方案。此外,各服務器可以部署在本地(公司內部環境),也可以利用公司簽約的雲服務器。
3.2 利用運營商的LoRaWAN網絡
在隻使用一段時間或者公司內部沒有與SI和網絡相關的人才等不適合由公司自己構建LoRaWAN環境時,也可以利用銷售或出租的支持LoRaWAN通信協議的網關,或利用提供雲服務等的運營商。
利用運營商服務的LoRaWAN網絡構建事例
如上圖所示,在某些情況下,支持LoRaWAN的網關、網wang絡luo服fu務wu器qi以yi及ji某mou些xie情qing況kuang下xia的de應ying用yong服fu務wu器qi也ye是shi在zai與yu運yun營ying商shang簽qian訂ding付fu費fei合he同tong後hou使shi用yong的de。服fu務wu內nei容rong因yin運yun營ying商shang而er異yi,但dan可ke以yi將jiang網wang關guan的de引yin入ru和he服fu務wu器qi維wei護hu等deng全quan部bu委wei托tuo給gei運yun營ying商shang可ke以yi說shuo是shi其qi優you點dian之zhi一yi。
此外,支持LoRaWAN的網關能與多台設備連接和通信,網關可專門供簽約用戶使用,也可通過由多個簽約用戶共用來降低使用費用。
ciwai,chulewangguanzhiwai,yibandouhuitigongyunfuwu。ruguoqiandingwangguanhuofuwuqihetong,jianganyueshouqufeiyong。raner,yuyinshiyongshoujitongxinwangerxuyaoyuyunyingshangqiandinghetongdefengwoLPWA相比,一般認為非蜂窩LPWA式LoRaWAN的網絡服務器運營商等收取的服務費更低。
預告
我們將在“LoRaWAN(非蜂窩LPWA)入門 - 事例篇”介紹具體的物聯網使用事例,比如:
使用LoRaWAN的物聯網解決方案事例:防災係統、智能農業、智能儀表等;
使用LoRaWAN的太陽能發電設施的智能化。
以及村田製作所的LoRaWAN模塊的特點和產品陣容。
文章來源:Murata村田中國
免責聲明:本文為轉載文章,轉載此文目的在於傳遞更多信息,版權歸原作者所有。本文所用視頻、圖片、文字如涉及作品版權問題,請聯係小編進行處理。
推薦閱讀:
- 噪聲中提取真值!瑞盟科技推出MSA2240電流檢測芯片賦能多元高端測量場景
- 10MHz高頻運行!氮矽科技發布集成驅動GaN芯片,助力電源能效再攀新高
- 失真度僅0.002%!力芯微推出超低內阻、超低失真4PST模擬開關
- 一“芯”雙電!聖邦微電子發布雙輸出電源芯片,簡化AFE與音頻設計
- 一機適配萬端:金升陽推出1200W可編程電源,賦能高端裝備製造
- 貿澤EIT係列新一期,探索AI如何重塑日常科技與用戶體驗
- 算力爆發遇上電源革新,大聯大世平集團攜手晶豐明源線上研討會解鎖應用落地
- 創新不止,創芯不已:第六屆ICDIA創芯展8月南京盛大啟幕!
- AI時代,為什麼存儲基礎設施的可靠性決定數據中心的經濟效益
- 矽典微ONELAB開發係列:為毫米波算法開發者打造的全棧工具鏈
- 車規與基於V2X的車輛協同主動避撞技術展望
- 數字隔離助力新能源汽車安全隔離的新挑戰
- 汽車模塊拋負載的解決方案
- 車用連接器的安全創新應用
- Melexis Actuators Business Unit
- Position / Current Sensors - Triaxis Hall



