常用電阻測試技術及應用
發布時間:2012-01-17
中心議題:
- 電阻測試基本原理
- 電阻測試的常用技術
解決方案:
- 開爾文連接測試技術
- 電阻隔離測試技術
- 分離開爾文連接測試電阻
- 極小值電阻的測量技術
1 引 言
在半導體工藝中許多器件的重要參數和性能都與薄層電阻有關,為提高厚、薄膜集成電路和片式電阻的生產精度,需要使用設備儀器如探針台、激光調阻機對其進行測試或修調。一般所用的測量儀器或設備都包含連接、激勵、測(ce)量(liang)和(he)顯(xian)示(shi)單(dan)元(yuan),有(you)時(shi)還(hai)有(you)後(hou)期(qi)數(shu)據(ju)處(chu)理(li)單(dan)元(yuan)。采(cai)用(yong)不(bu)同(tong)的(de)測(ce)量(liang)方(fang)法(fa)和(he)不(bu)同(tong)的(de)連(lian)接(jie)方(fang)式(shi)引(yin)入(ru)的(de)測(ce)量(liang)誤(wu)差(cha)不(bu)同(tong),得(de)到(dao)的(de)測(ce)量(liang)精(jing)度(du)也(ye)不(bu)同(tong)。通(tong)常(chang)開(kai)關(guan)矩(ju)陣(zhen)中(zhong)繼(ji)電(dian)器(qi)觸(chu)點(dian)閉(bi)合(he)電(dian)阻(zu)為(wei)1Ω左右,FET開關打開時的電阻為十幾歐,引線電阻為幾百毫歐。如何根據需要減少測量誤差是測試技術的關鍵之一。
2 電阻測試基本原理
在電阻測試中我們常采用恒流測壓方法、惠斯通電橋(單臂電橋)和雙臂電橋方法。
2.1 恒流測壓方法
圖1中, r是引線電阻與接觸電阻之和;I是程控恒流電流源; V是具有極高輸入阻抗的電壓表,它對恒流電流源不產生分流作用。施加已知的恒定電流I,流過被測電阻R t,然後測量出電阻兩端的電壓V,當R t>>r時,根據公式Rt=V/ I 就可算出電阻值。

2.2 惠斯通電橋方法
圖2中,V1,V 2是程控恒電壓源;Rstd是標準電阻; Rt是被測電阻;I是電流表。當電橋平衡即流過電流表I的電流為零時,有V1 /V2=Rstd/R t,由此可計算出Rt=R std×V2/V1 。

[page]
2.3 雙臂電橋方法
單臂電橋測量範圍為10~106 Ω,單電橋測幾歐姆的低電阻時,引線電阻和接觸電阻已經不可忽略。而雙臂電橋適用於10-6~102 Ω電阻的測量,它是改進的單臂電橋,如圖3。將電橋中的中低電阻 Rt和R改成四端接法,並在橋路中增加兩個高阻電阻R3和R4,則大大降低了引線電阻和接觸電阻的影響。

本文主要介紹恒流測壓法。當被測電阻阻值遠遠大於測試引線電阻和測試探針與測試點的接觸電阻時,采用圖1所示的兩線測試的基本方法是可行的,並且也可以獲得相當高的測試精度。
3 開爾文連接測試技術
當dang被bei測ce電dian阻zu阻zu值zhi小xiao於yu幾ji歐ou,測ce試shi引yin線xian的de電dian阻zu和he探tan針zhen與yu測ce試shi點dian的de接jie觸chu電dian阻zu與yu被bei測ce電dian阻zu相xiang比bi已yi不bu能neng忽hu略lve不bu計ji時shi,若ruo仍reng采cai用yong兩liang線xian測ce試shi方fang法fa必bi將jiang導dao致zhi測ce試shi誤wu差cha增zeng大da。此ci時shi可ke采cai用yong開kai爾er文wen連lian接jie方fang式shi(或稱四線測試方式)來進行測試,如圖4。

開爾文連接有兩個要求:對於每個測試點都有一條激勵線F和一條檢測線S,二者嚴格分開,各自構成獨立回路;同時要求S線必須接到一個有極高輸入阻抗的測試回路上,使流過檢測線S的電流極小,近似為零。
圖4中r表示引線電阻和探針與測試點的接觸電阻之和。由於流過測試回路的電流為零,在 r3,r4上的壓降也為零,而激勵電流 I在r1,r2上的壓降不影響I在被測電阻上的壓降,所以電壓表可以準確測出 Rt兩端的電壓值,從而準確測量出R t的阻值。測試結果和r無關,有效地減小了測量誤差。
按照作用和電位的高低,這四條線分別被稱為高電位施加線(HF)、低電位施加線(LF)、高電位檢測線(HS)和低電位檢測線(LS)。
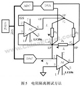
4 電阻隔離測試技術
對dui於yu施shi加jia的de恒heng定ding激ji勵li電dian流liu能neng全quan部bu流liu過guo被bei測ce電dian阻zu的de情qing況kuang下xia,使shi用yong上shang述shu方fang法fa測ce試shi是shi很hen簡jian便bian的de,比bi如ru測ce試shi單dan個ge電dian阻zu。但dan我wo們men還hai常chang常chang遇yu到dao被bei測ce電dian阻zu與yu一yi個ge電dian阻zu網wang絡luo並bing聯lian的de情qing況kuang,這zhe個ge電dian阻zu網wang絡luo會hui對dui施shi加jia電dian流liu有you分fen流liu作zuo用yong,導dao致zhi無wu法fa采cai用yong上shang述shu方fang法fa進jin行xing測ce試shi,在zai這zhe種zhong情qing況kuang下xia我wo們men必bi須xu采cai用yong電dian阻zu隔ge離li測ce試shi技ji術shu,其qi測ce試shi電dian路lu原yuan理li如ru圖tu5。

[page]
圖中,Rt是被測電阻, R1,R2串聯後再與 Rt並聯;A1,A2是高輸入阻抗、高精度運算放大器;DVA是高輸入阻抗、高精度差分電壓的程控放大倍數儀用放大器,它的輸出與數模轉換ADC相連;DAC是電流輸出型數模轉換器,DAC與A1構成程控恒流源;根據計算機控製,DAC輸出不同的恒定電流If。
A2構成電壓跟隨電路使Vc =Vb,從而I1=0。因此計算機通過16位電流輸出型DAC設定If 就控製了流過被測電阻Rt的電流I t,再通過由DVA和ADC構成的電壓檢測電路測試出 Rt兩端的電壓就可算出Rt 的阻值。
這種方法等效於將R1 斷開,把被測電阻單獨隔離開來進行測試的情況,因此稱其為電阻隔離測試技術。
5 分離開爾文連接測試電阻
電阻隔離測試對絕大多數複雜電阻網絡都適用,但應用到極少數電阻值比率極大的電阻網絡時就會產生一些問題。如圖6, R2/R1=6000,R 3/R1=4000,如果按圖5連接來測試電阻 R3時(即圖6-(a)連接),設施加電流 It為200μA,則在R3 兩端產生8V壓降,R2由於被隔離,其兩端電壓為零,所以在R1兩端必然產生8V電壓,導致 R2的功耗為 V2/R1=6.4W,這顯然是不允許的。如果把HP和LP 位置互換,由於A2不是理想器件,存在一定的失調電壓 Vos,即使小到20μV,在R1 上也會產生2μA的電流,使流過R3的電流產生1%的偏差,造成測試精度大大下降。

在這種情況下可以采用一種變形的開爾文連接方式來進行測試,不再使用隔離方法。它仍采用四根線,但根據需要將其中一對或兩對F,S線xian分fen開kai接jie在zai不bu同tong的de點dian上shang來lai進jin行xing測ce試shi。這zhe種zhong方fang式shi稱cheng為wei分fen離li開kai爾er文wen連lian接jie方fang式shi。本ben例li中zhong三san個ge電dian阻zu要yao進jin行xing四si次ci測ce試shi才cai能neng計ji算suan出chu它ta們men的de阻zu值zhi,四si次ci測ce試shi的de接jie法fa分fen別bie見jian圖tu6中的表,圖中1,2,3點為連接點。圖6-(b) 接法可直接測出R1的值;圖6-(c)可測出 R2與R3的並聯值R p;圖6-(d)和圖6-(e)分別測出阻值R2 ′和R3′。分析可知:
R2′/R 3′=R2/R3 ,
1/Rp=1/R2+1/ R3;
由此可以解出:
R2 =Rp×(1+R2′/ R3′),
R3=R 2×R3′/R2 ′。
在測試中還常常遇到被測電阻的兩端都沒有測試點,隱藏在電阻網絡中的情況,如R-2R網絡。這時也需要使用分離開爾文連接來進行測試。
6 極小值電阻的測量技術
對於極小阻值範圍的電阻測量可以采用圖7所示電路完成,它可以測量10~ 80mΩ的電阻。通過差分運算放大電路,把被測電阻產生的微弱電壓信號放大100倍,因此實際電阻值是測量值要除以100。圖中運放UI采用低噪聲、高速、精密運放,如OP-37EJ,AD645或MAX400。和高電位施加線(HF)串聯的電阻R1是用來匹配電流施加模塊的最佳輸出負載,R2到R5caiyonggaojingdugaowendingxingdedianzulaibaozhengchafangdianluzengyidewending,zhejuedingleceliangdejingduhezhongfuxing。weilebaozhengjingdu,duiyunfangdedianyuandianyayaoqiuhengao,dianludeanzhuangweizhiyaojinkenengkaojinbeicedianzu,suoyoutantouyaojinkenengduan,C2,C3要盡可能靠近運放。

7 結束語
youyuzidongceshizhongyaobuduandigaibianbeicedianzu,tongshiyouyaogenjuqingkuanglinghuodixuanzeceshifangfahelianjiefangshi,yincishijishengchanzhongshishiyongtanzhenkajiangbeicedianluyuxitongxianglian,tongguojidianqihuoFET開kai關guan組zu成cheng的de開kai關guan矩ju陳chen由you軟ruan件jian適shi當dang切qie換huan來lai提ti高gao測ce試shi速su度du和he生sheng產chan效xiao率lv。同tong時shi在zai不bu同tong的de測ce量liang中zhong探tan針zhen采cai用yong不bu同tong的de接jie法fa,如ru直zhi線xian四si探tan針zhen法fa和he方fang形xing四si探tan針zhen法fa,可ke克ke服fu各ge種zhong因yin素su的de影ying響xiang,優you化hua測ce量liang結jie果guo。如上所述,隻要我們結合被測電阻的具體情況,靈活合理地應用上麵介紹的測試技術,就可以得到滿意的測試結果。製造出高質量的厚、薄膜集成電路和片式電阻來。
- 噪聲中提取真值!瑞盟科技推出MSA2240電流檢測芯片賦能多元高端測量場景
- 10MHz高頻運行!氮矽科技發布集成驅動GaN芯片,助力電源能效再攀新高
- 失真度僅0.002%!力芯微推出超低內阻、超低失真4PST模擬開關
- 一“芯”雙電!聖邦微電子發布雙輸出電源芯片,簡化AFE與音頻設計
- 一機適配萬端:金升陽推出1200W可編程電源,賦能高端裝備製造
- 貿澤EIT係列新一期,探索AI如何重塑日常科技與用戶體驗
- 算力爆發遇上電源革新,大聯大世平集團攜手晶豐明源線上研討會解鎖應用落地
- 創新不止,創芯不已:第六屆ICDIA創芯展8月南京盛大啟幕!
- AI時代,為什麼存儲基礎設施的可靠性決定數據中心的經濟效益
- 矽典微ONELAB開發係列:為毫米波算法開發者打造的全棧工具鏈
- 車規與基於V2X的車輛協同主動避撞技術展望
- 數字隔離助力新能源汽車安全隔離的新挑戰
- 汽車模塊拋負載的解決方案
- 車用連接器的安全創新應用
- Melexis Actuators Business Unit
- Position / Current Sensors - Triaxis Hall




