技術詳析:直流係統接地故障的危害
發布時間:2016-07-20 責任編輯:susan
【導讀】本文主要針對直流係統接地/絕緣故障的危害、出現原因、表現特征、處理方法、處理故障注意事項和相關防範措施,進行了綜合的分析和總結。
1.直流係統接地的危害
直流係統一般用於變電所控製母線、合閘母線、UPS不間斷電源,也用作其他電源和邏輯控製回路。直流係統是一個絕緣係統,絕緣電阻達數十兆歐,在其正常工作時,直流係統正、負極對地絕緣電阻相等,對地電壓也是相對平衡的。當發生一點接地時,其正、負fu極ji對dui地di電dian壓ya發fa生sheng變bian化hua,接jie地di極ji對dui地di電dian壓ya降jiang低di,非fei接jie地di極ji電dian壓ya升sheng高gao,控kong製zhi回hui路lu和he供gong電dian可ke靠kao性xing會hui大da大da降jiang低di,但dan一yi般ban不bu會hui引yin發fa電dian氣qi控kong製zhi係xi統tong的de次ci生sheng故gu障zhang。可ke是shi,當dang直zhi流liu係xi統tong有you兩liang點dian或huo多duo點dian接jie地di時shi,極ji易yi引yin起qi邏luo輯ji控kong製zhi回hui路lu誤wu動dong作zuo、直流保險熔斷,使保護及自動裝置、kongzhihuilushiqudianyuan,zaifuzabaohuhuiluzhongtongjiliangdianjiedi,haikenengjiangmouxiejidianqiduanjie,bunengdongzuotiaozha,zhishiyuejitiaozha,zaochengshigukuoda。guichengyangeguiding:直流係統多點同極接地,應停止直流係統一切工作,也是基於其故障性質的不確定因素。
(1)直流係統正極接地的危害
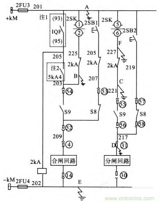
當(dang)發(fa)生(sheng)直(zhi)流(liu)正(zheng)極(ji)接(jie)地(di)時(shi),可(ke)能(neng)會(hui)引(yin)起(qi)保(bao)護(hu)及(ji)自(zi)動(dong)裝(zhuang)置(zhi)誤(wu)動(dong)。因(yin)為(wei)一(yi)般(ban)斷(duan)路(lu)器(qi)的(de)跳(tiao)合(he)閘(zha)線(xian)圈(quan)以(yi)及(ji)繼(ji)電(dian)器(qi)線(xian)圈(quan)是(shi)與(yu)負(fu)極(ji)電(dian)源(yuan)接(jie)通(tong)的(de),如(ru)果(guo)在(zai)這(zhe)些(xie)回(hui)路(lu)上(shang)再(zai)發(fa)生(sheng)另(ling)一(yi)點(dian)直(zhi)流(liu)接(jie)地(di),就(jiu)可(ke)能(neng)引(yin)起(qi)誤(wu)動(dong)作(zuo)。

如上圖所示,A、B兩點發生直流接地時,相當於將外部合閘條件全部短接,從而使合閘線圈得電誤動作合閘。A、C兩點接地時,則外部分閘條件被短接而誤動作跳閘。A、D兩點,A、F兩點接地,同樣都能造成開關誤跳閘。
(2)直流係統負極接地的危害
直流負極接地,也可能造成保護及自動裝置拒絕動作。因為斷路器的跳、合(he)閘(zha)線(xian)圈(quan)以(yi)及(ji)保(bao)護(hu)繼(ji)電(dian)器(qi)會(hui)在(zai)這(zhe)些(xie)回(hui)路(lu)再(zai)有(you)一(yi)點(dian)接(jie)地(di)時(shi),線(xian)圈(quan)被(bei)接(jie)地(di)點(dian)短(duan)接(jie)而(er)不(bu)能(neng)動(dong)作(zuo)。同(tong)時(shi),直(zhi)流(liu)回(hui)路(lu)短(duan)路(lu)電(dian)流(liu)會(hui)使(shi)電(dian)源(yuan)保(bao)險(xian)熔(rong)斷(duan),並(bing)且(qie)可(ke)能(neng)燒(shao)壞(huai)繼(ji)電(dian)器(qi)接(jie)點(dian),保(bao)險(xian)熔(rong)斷(duan)會(hui)失(shi)去(qu)保(bao)護(hu)及(ji)操(cao)作(zuo)電(dian)源(yuan)。
如上圖所示,直流接地故障發生在C、E兩點,D、E兩點,F、E兩點接地時,分閘線圈被短接,保護動作及操作時開關拒跳。同理,兩點接地開關也可能合不上,如B、E兩點接地時。
zhiliuxitongjiediguzhang,bujinduishebeibuli,erqieduizhenggedianlixitongdeanquangouchengweixie。yinci,chuxianzhiliujiediguzhangshi,bixujinkuaijinxingzhazhaobingpaichuguzhang,bimianshigukuodajizaochengyanzhonghouguo。
2.直流係統出現接地故障的原因
按接地點所處位置的不同,可將直流接地分為室內和室外兩種形式,按引起接地的原因,又可分為以下幾種形式:
(1)由you下xia雨yu天tian氣qi引yin起qi的de接jie地di。在zai大da雨yu天tian氣qi,雨yu水shui飄piao入ru未wei密mi封feng嚴yan實shi的de戶hu外wai二er次ci接jie線xian盒he,使shi接jie線xian樁zhuang頭tou和he外wai殼ke導dao通tong起qi來lai,引yin起qi接jie地di。例li如ru瓦wa斯si繼ji電dian器qi不bu裝zhuang防fang雨yu罩zhao,雨yu水shui滲shen入ru接jie線xian盒he,當dang積ji水shui淹yan沒mei接jie線xian柱zhu時shi,就jiu會hui發fa生sheng直zhi流liu接jie地di和he誤wu跳tiao閘zha。在zai持chi續xu的de小xiao雨yu天tian氣qi(如梅雨天),潮濕的空氣會使戶外電纜芯破損處或者黑膠布包紮處,絕緣大大降低,從而引發直流接地。
(2)由小動物破壞引起的接地。當二次接線盒(箱)mifengbuhaoshi,mifenghuizuanjinhelizhuchao,chaoxuejiangjiexianduanzihewaikelianjieqilaishi,jiuyinfazhiliujiedi。dianlanwaipibeilaoshuyaoposhi,yerongyiyinqizhiliujiedi。
(3)由擠壓磨損引起的接地。當二次線與轉動部件(如經常開關的開關櫃櫃門)靠在一起時,二次線絕緣皮容易受到轉動部件的磨損,當其磨破時,便造成直流接地。
(4)接線鬆動脫落引起接地。接在斷路器機構箱端子排的二次線(如10kV開關機構箱內的二次線),若螺絲未緊固,則在斷路器多次跳合時接線頭容易從端子中滑出,搭在鐵件上引起接地。
(5)wujiexianyinqijiedi。zaiercijiexianzhong,dianlanxindeyitoujiezaiduanzishangyunxing,lingyitoubeiwurenweishibeiyongxinhuozhebudaidianerrangqiluoluzaitiejianshang,yinqijiedi。zaichaichudianlanxinshi,wurenweidianlanxincongduanzipaishangjiexialaijiubudaidian,congerbuzuorenhejueyuanbaozha,dangjiexiadedianlanxinduicehaizaiyunxingshi,bencedianlanxinyidanjiechutiejianjiuyinfajiedi。
(6)插件內元件損壞引起接地。為抗幹擾,插件電路設計中通常在正負極和地之間並聯抗幹擾電容,該電容擊穿時引起直流接地。
3.直流係統接地/絕緣故障的特征
直流係統正常時,一般正負極之間電壓是不變的,正、負之間的電壓是220V, 正級對地為110V,負級對地為-110V,其參考電位是地電位,也就是零電位。當有直流接地發生時,正極和負極對地電壓會產生不平衡,比如正極對地還在110V 左右, 如果負極接地,那麼負極對地電壓幅值會減小,參考電位向負級也偏移,原來是-55V 左右,現在可能變成-30V 等等甚至更小, 而正對地電壓則會相應提高, 比如到80V 等deng。經jing過guo正zheng規gui設she計ji的de直zhi流liu係xi統tong中zhong,發fa生sheng一yi極ji接jie地di,直zhi流liu母mu線xian電dian源yuan電dian壓ya不bu變bian,這zhe也ye是shi發fa生sheng一yi點dian接jie地di時shi,直zhi流liu係xi統tong在zai短duan時shi間jian是shi可ke以yi正zheng常chang工gong作zuo的de,不bu過guo最zui好hao查zha出chu接jie地di點dian,加jia以yi消xiao除chu。
4.直流係統接地/絕緣故障查找方法
(1)確認直流接地故障的真實性。
直流係統一般都有絕緣監測裝置,當發生直流接地故障或直流絕緣降低時,監測裝置會報警。發生直流接地故障、直流絕緣降低故障報警時,首先應排除誤報警的可能,可依據上節“直流係統接地故障的特征”進行測量判斷。
(2)在確有接地故障特征後,分清接地故障的極性,分析故障發生的原因。
(3)若二次回路有工作,或有設備檢修試驗,應立即停止。拉開其工作電源,看信號是否消除。
此(ci)處(chu)故(gu)障(zhang)排(pai)查(zha),可(ke)按(an)先(xian)定(ding)位(wei)到(dao)總(zong)路(lu)空(kong)氣(qi)開(kai)關(guan),再(zai)定(ding)位(wei)支(zhi)路(lu)空(kong)氣(qi)開(kai)關(guan)的(de)方(fang)式(shi),用(yong)分(fen)網(wang)法(fa)縮(suo)小(xiao)查(zha)找(zhao)範(fan)圍(wei),將(jiang)直(zhi)流(liu)係(xi)統(tong)分(fen)成(cheng)幾(ji)個(ge)不(bu)相(xiang)聯(lian)係(xi)的(de)部(bu)分(fen)進(jin)行(xing)查(zha)找(zhao)。
如果絕緣監測裝置有故障選線功能,可根據故障線路提示,進一步縮小故障範圍。
(4)對於不太重要的直流負荷及不能轉移的負荷,利用“瞬時停電”的方法,查該回路中所帶負荷有無接地故障。
(5)對於重要的直流負荷,用轉移負荷法,查該回路有無接地故障。
(6)查(zha)找(zhao)直(zhi)流(liu)係(xi)統(tong)接(jie)地(di)故(gu)障(zhang),應(ying)隨(sui)時(shi)與(yu)調(tiao)度(du)聯(lian)係(xi),並(bing)由(you)二(er)人(ren)及(ji)以(yi)上(shang)配(pei)合(he)進(jin)行(xing),其(qi)中(zhong)一(yi)人(ren)操(cao)作(zuo),一(yi)人(ren)監(jian)護(hu)並(bing)監(jian)視(shi)表(biao)計(ji)指(zhi)示(shi)及(ji)信(xin)號(hao)的(de)變(bian)化(hua)。利(li)用(yong)瞬(shun)時(shi)停(ting)電(dian)的(de)方(fang)法(fa)選(xuan)擇(ze)直(zhi)流(liu)接(jie)地(di)時(shi),應(ying)按(an)照(zhao)下(xia)列(lie)順(shun)序(xu)進(jin)行(xing):
①斷開現場臨時工作電源;
②斷合事故照明回路;
③斷合同信號電源;
④斷合附屬設備;
⑤斷合充電回路;
⑥斷合合閘回路;
⑦斷合信號回路;
⑧斷合操作回路;
⑨斷合蓄電池回路。
(7)在進行上述各項檢查選擇後仍未查出故障點 zeyingkaolvtongjixingliangdianjiedi。dangfaxianjiedizaimouyihuiluhou,youhuanludeyingxianjiehuan,zaijinyibucaiyongqubaoxianjichaiduanzidebanfa,zhizhizhaodaoguzhangdianbingxiaochu。
查找直流係統接地/絕緣故障是一個耗時費力的體力活,但根據上述查找方法,可以走很多彎路。不過直流接地/jueyuanguzhangzuikubidehaibushihaoshifeili,ershiguzhangduanduanxuxu,shiyoushiwu,zheyangjiuxuyaogenjujutiqingkuangjinxingjutifenxile,yibanhaishixuyaozaiguzhangjizhongpinfanchuxiandeshihou,jinxingzhazhao。
5.處理直流接地時一般注意事項
(1)禁止使用燈泡查找;
(2)發生一點接地後,原則暫停在二次回路上工作;
(3)不得造成另一點直流接地情況;
(4)使用儀表的內阻不低於2000 歐姆;
(5)采取瞬間斷電法時,應當防止保護誤動作,對於重合閘線路和備用自投電源要注意不能長時間斷電;
(6)拆(chai)解(jie)的(de)接(jie)頭(tou)應(ying)逐(zhu)一(yi)記(ji)錄(lu)下(xia)來(lai),以(yi)免(mian)恢(hui)複(fu)接(jie)頭(tou)時(shi)造(zao)成(cheng)接(jie)線(xian)錯(cuo)誤(wu)。原(yuan)則(ze)是(shi)誰(shui)拆(chai)解(jie)的(de)接(jie)頭(tou),誰(shui)恢(hui)複(fu),恢(hui)複(fu)時(shi)逐(zhu)一(yi)檢(jian)查(zha)記(ji)錄(lu)的(de)斷(duan)點(dian),避(bi)免(mian)遺(yi)漏(lou)接(jie)頭(tou)。
6.防範直流係統接地/絕緣故障的措施
如(ru)果(guo)直(zhi)流(liu)係(xi)統(tong)發(fa)生(sheng)接(jie)地(di)故(gu)障(zhang)將(jiang)會(hui)對(dui)電(dian)網(wang)係(xi)統(tong)的(de)安(an)全(quan)穩(wen)定(ding)與(yu)正(zheng)常(chang)運(yun)行(xing)造(zao)成(cheng)非(fei)常(chang)嚴(yan)重(zhong)的(de)影(ying)響(xiang),甚(shen)至(zhi)套(tao)使(shi)設(she)備(bei)在(zai)運(yun)行(xing)的(de)過(guo)程(cheng)中(zhong)出(chu)現(xian)斷(duan)路(lu)器(qi)的(de)誤(wu)動(dong)以(yi)及(ji)拒(ju)動(dong)或(huo)熔(rong)絲(si)熔(rong)斷(duan)等(deng)現(xian)象(xiang),因(yin)而(er)會(hui)擴(kuo)大(da)事(shi)故(gu)的(de)範(fan)圍(wei)。因(yin)此(ci),根(gen)據(ju)小(xiao)編(bian)多(duo)年(nian)的(de)從(cong)業(ye)經(jing)驗(yan),對(dui)直(zhi)流(liu)係(xi)統(tong)接(jie)地(di)的(de)分(fen)類(lei)、chanshengdeyuanyinyijiqiweihaijinxinglefenxi,bingduizhiliuxitongjiediguzhangdezhazhaoyupaichudefangfajinxingletanjiu,erzaizhiliuxitongzhongjingchangtaoshoudaoqihoudengwaipingziranyinsudeyingxiangerchuxianguzhang,weilegenghaodijiangdiguzhangdailaidesunshi,duiqijinxingtizaodeyufangshifenbiyao。yinci,zaijinxingrichangdeyunxingjianxiuweihugongzuoguochengzhong,yacaiqukexuehelidecuoshiduijiediguzhangjinxingyufang,congerbimianjiediguzhangdefasheng,baozhengshebeideanquanwendingyunxing。
(1)對施工工藝進行規範,從根本上避免直流係統接地故障的發生,最大限度的杜絕安全隱患;
(2)在對室外端子排以及輔助開關等二次設備進行清掃的過程中,可以對停電的機套進行充分的利用;
(3)要保證斷路器端子箱、斷路器機構箱、隔(ge)離(li)開(kai)關(guan)機(ji)構(gou)箱(xiang)等(deng)二(er)次(ci)電(dian)纜(lan)穿(chuan)管(guan)處(chu)的(de)封(feng)堵(du)性(xing)完(wan)好(hao),避(bi)免(mian)在(zai)陰(yin)雨(yu)以(yi)及(ji)大(da)霧(wu)天(tian)氣(qi)或(huo)者(zhe)是(shi)工(gong)作(zuo)人(ren)員(yuan)的(de)疏(shu)忽(hu)將(jiang)水(shui)流(liu)八(ba)而(er)造(zao)成(cheng)的(de)設(she)施(shi)浸(jin)泡(pao)等(deng)問(wen)題(ti),從(cong)而(er)保(bao)證(zheng)直(zhi)流(liu)係(xi)統(tong)的(de)安(an)全(quan)穩(wen)定(ding)運(yun)行(xing);
(4)對室外電纜而言,要加強對其的絕緣測試工作,及時采取相應的措施,避免直流係統接地事故的發生。
特別推薦
- 噪聲中提取真值!瑞盟科技推出MSA2240電流檢測芯片賦能多元高端測量場景
- 10MHz高頻運行!氮矽科技發布集成驅動GaN芯片,助力電源能效再攀新高
- 失真度僅0.002%!力芯微推出超低內阻、超低失真4PST模擬開關
- 一“芯”雙電!聖邦微電子發布雙輸出電源芯片,簡化AFE與音頻設計
- 一機適配萬端:金升陽推出1200W可編程電源,賦能高端裝備製造
技術文章更多>>
- 貿澤EIT係列新一期,探索AI如何重塑日常科技與用戶體驗
- 算力爆發遇上電源革新,大聯大世平集團攜手晶豐明源線上研討會解鎖應用落地
- 創新不止,創芯不已:第六屆ICDIA創芯展8月南京盛大啟幕!
- AI時代,為什麼存儲基礎設施的可靠性決定數據中心的經濟效益
- 矽典微ONELAB開發係列:為毫米波算法開發者打造的全棧工具鏈
技術白皮書下載更多>>
- 車規與基於V2X的車輛協同主動避撞技術展望
- 數字隔離助力新能源汽車安全隔離的新挑戰
- 汽車模塊拋負載的解決方案
- 車用連接器的安全創新應用
- Melexis Actuators Business Unit
- Position / Current Sensors - Triaxis Hall
熱門搜索
微波功率管
微波開關
微波連接器
微波器件
微波三極管
微波振蕩器
微電機
微調電容
微動開關
微蜂窩
位置傳感器
溫度保險絲
溫度傳感器
溫控開關
溫控可控矽
聞泰
穩壓電源
穩壓二極管
穩壓管
無焊端子
無線充電
無線監控
無源濾波器
五金工具
物聯網
顯示模塊
顯微鏡結構
線圈
線繞電位器
線繞電阻



