大功率晶閘管參數解析之開關特性
發布時間:2021-09-08 來源:Infineon Bipolar 責任編輯:wenwei
【導讀】功率二極管晶閘管廣泛應用於AC/DC變換器、UPS、交流靜態開關、SVC和電解氫等場合,但大多數工程師對這類雙極性器件的了解不及對IGBT的了解,為此我們組織了6篇連載,包括正向特性,動態特性,控製特性,保護以及損耗與熱特性。內容摘自英飛淩英文版應用指南AN2012-01《雙極性半導體技術信息》。
3.4 載流子存儲效應和開關特性
當功率半導體的工作狀態變化時,由於載流子存儲效應,電流和電壓的穩態值不會立即改變。
此外,晶閘管觸發時隻有門極結構附近的小塊區域導通。由此產生的開關損耗必須以熱的形式從半導體中散發出去。
3.4.1 開通
3.4.1.1 二極管
從非導通或阻斷狀態轉入導通狀態時,由於載流子存儲效應,二極管處產生電壓峰值(見圖20)。

圖20.二極管開通過程示意圖
■ 3.4.1.1.1 正向恢複電壓峰值VFRM
VFRM是正向回複期間產生的最高電壓值。該值隨著結溫和電流變化率的升高而增大。
電網 (50/60Hz)的電流變化率適中,VFRM可以忽略不計。但是在 di/dt>>1000A/μs的快速開關(IGBT、GTO和IGCT)zidonghuanxiangbianliuqizhong,gaizhikenengdadaojibaifu。suiranzhengxianghuifudianyajincunzaijiweimiao,qiebuhuixianzhuzengdaerjiguandezongsunhao,shejibianliuqishirengxukaolvgaizhiduikaiguanbandaotideyingxiang。
針對這些應用優化的二極管圖表包含了正向恢複電壓和電流變化率之間的函數關係。
■ 3.4.1.1.2 通態恢複時間tfr
根據DIN IEC 60747-2,tfr是指突然從關斷狀態切換為規定的通態時,二極管完全導通且出現靜態通態電壓vF所需的時間(見圖20)。
3.4.1.2 晶閘管
在正向斷態電壓VD下通過變化率為diG/dt且強度為iGM的門極電流啟動開通過程。對於光觸發晶閘管,這同樣適用於施加在激光二極管上的規定觸發脈衝。在門極控製延遲時間tgd內,晶閘管上的阻斷電壓下降至90%(見圖21)。最初隻有門極結構周圍的一小塊區域導通,因此可使用初始電流密度和通態電流(di/dt)cr的臨界上升率來衡量晶閘管在開通期間的穩健性。

圖21.晶閘管開通過程示意圖
a.具有關斷負載電路的門極電流
b.具有快速上升通態電流的門極電流(另見3.3.1.8)

圖22.門極控製延遲時間tgd與最大門極電流iGM之間的典型關係曲線
a.最大值 b.典型值
■ 3.4.1.2.1 門極控製延遲時間tgd
tgd是指從門極電流達到其最大值
IGM的10%時起,到陽極-陰極電壓下降至施加的正向斷態電壓VD的90%以下的間隔時間(見圖21)。
門極控製延遲時間隨著門極電流(對於LTTs為光功率)的增加而顯著減小(見圖22)。
在大功率晶閘管中,tgd也隨VD而變。
數據手冊中給出的值是依據DIN IEC 60747–6定義的,僅在Tvj=25°C和規定的觸發脈衝下有效。
■ 3.4.1.2.2 通態電流臨界上升率(di/dt)cr
一旦電壓因晶閘管觸發而崩潰,門極結構附近的一小塊陰極區域就開始傳導通態電流。然後此導電區域向外擴散,擴散速度通常為0.1mm/μs,具ju體ti取qu決jue於yu電dian流liu密mi度du。因yin此ci係xi統tong的de載zai流liu能neng力li最zui初chu是shi有you限xian的de。但dan是shi,如ru果guo不bu超chao過guo數shu據ju手shou冊ce中zhong規gui定ding的de臨lin界jie電dian流liu轉zhuan換huan速su率lv值zhi,晶jing閘zha管guan就jiu不bu會hui受shou損sun或huo損sun壞huai。對dui於yuS型晶閘管和具有大方形截麵的晶閘管,門極得到分散(指條結構)。因此,這些類型表現出更高的(di/dt)cr。
根據DIN IEC 60747-6,臨界電流上升時間(di/dt)cr與阻尼正弦半波期間加載的通態電流有關。它被定義為在以下條件下,穿過上升通態電流10%和50%這兩個點的直線的角度(見圖21,圖47)。
結溫:Tvj=Tvj max
正向斷態電壓:VD=0.67VDRM
峰值電流:iTM=2ITAVM
重複頻率:f0=50Hz
在單獨數據手冊中定義了觸發脈衝(另見3.3.1.8)。
例外:用正向斷態電壓VD=VDRM測試光觸發晶閘管。
■ 3.4.1.2.3 重複開通電流IT(RC)M
IT(RC)M是指以某個不確定上升率開通後隨即產生的最大允許通態電流峰值。通常,這種通態電流是因RC緩衝電路放電產生的。最大允許重複開通電流還適用於以下達到通態電流臨界上升率(di/dt)cr的電流急升情況。
對於英飛淩元件,適用以下值:
IT(RC)M=100A
例外:型號命名為T...1N或T...3N的元件
IT(RC)M=150A
對於超過60Hz的應用,須減小臨界電流上升時間(di/dt)cr和重複開通電流IT(RC)M。應要求提供針對特定條件的詳細信息。
■ 3.4.1.2.4 斷態電壓臨界上升率(dv/dt)cr
(dv/dt)cr是正向施加的電壓上升率最大值,該值在0%至67%VDRM區間內幾乎呈線性,此時晶閘管不會切換到通態。
對於電壓指數上升,它是一條從最大值的0%開始,到63%結束的線,並且與指數函數相交。
它適用於觸發電路開路和最高允許結溫。超過(dv/dt)cr可能導致器件損壞。
例外:除過壓保護(BOD)以外,光觸發晶閘管還集成了dv/dt保護功能。當dv/dt升高時,此功能可使晶閘管在整個門極結構上安全觸發。
3.4.2 關斷
tongchangtongguoshijiafanxiangdianyalaiqidongguanduangongneng。jingzhaguanhuoerjiguandefuzaidianliubuhuizaiguolingshitingzhi,ershizuoweifanxianghuifudianliujixuyanfanxiangliudong,zhidaozailiuzilikaijiequ。
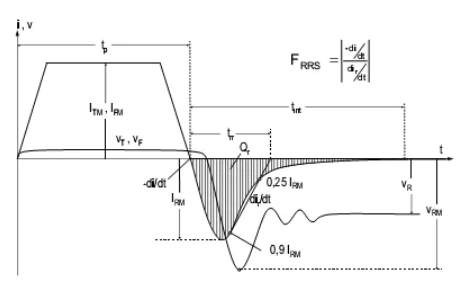
軟度係數FRRS描述的是關斷過程中電流上升率的關係。
3.4.2.1 恢複電荷Qr
Qr是半導體從通態轉換到反向斷態後流出半導體的電荷總量。該值隨著結溫、通態電流幅值和下降時間的增大而增大。除非另有說明,否則規定值僅在VR=0.5VRRM和VRM=0.8VRRM的條件下有效。為此指定了采用合適設計的RC緩衝電路。對於型號命名為T...1N、T...3N和D...1N的元件,數據手冊中規定的值為最大值,該值在生產過程中經過100%測試。
恢複電荷Qr主要隨結溫Tvj和衰減電流的下降率而變(見圖24和圖25)。

圖23.晶閘管和二極管的關斷過程示意圖

圖24.歸一化到Qr(Tvj max)的恢複電荷Qr與Tvj的典型關係曲線

圖25.歸一化到Qr(di/dt=10A/μs)的恢複電荷Qr與di/dt的典型關係曲線
3.4.2.2 反向恢複電流峰值IRM
IRM是反向恢複電流的最大值。Qr的關係曲線和工作條件也適用。如果圖中未顯示IRM,可通過以下公式大致確定IRM的值:

對於型號命名為T...1N、T...3N和D...1N的元件,數據手冊中規定的值為最大值,該值在生產過程中經過100%測試。
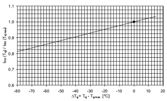
反向恢複電流峰值IRM主要隨結溫Tvj和衰減電流的下降率而變(見圖26和圖27)。

圖26.歸一化到IRM(Tvj max)的反向恢複電流峰值IRM與Tvj的典型關係曲線

圖27.歸一化到IRM(di/dt=10A/μs)的反向恢複電流峰值IRM與di/dt的典型關係曲線
3.4.2.3 反向恢複時間trr
trr是指從電流過零時起,到穿過反向衰減恢複電流的90%和25%這兩個點的直線過零時的時間間隔(見圖23)。如果沒有規定trr,可通過以下公式大致計算該值:

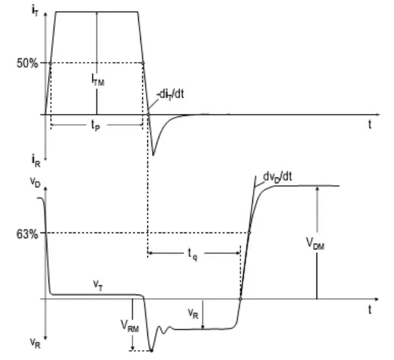
3.4.2.4 關斷時間tq
tq是指從反向換向的電流過零時起,到重新施加的正向斷態電壓不會在沒有控製脈衝的情況下使晶閘管開通時的時間間隔。
重zhong新xin產chan生sheng正zheng向xiang斷duan態tai電dian壓ya前qian在zai應ying用yong中zhong實shi現xian的de實shi際ji脈mai衝chong時shi間jian被bei稱cheng為wei延yan遲chi時shi間jian。此ci時shi間jian必bi須xu始shi終zhong比bi關guan斷duan時shi間jian長chang。關guan斷duan時shi間jian主zhu要yao隨sui通tong態tai電dian流liu的de下xia降jiang時shi間jian、正向斷態電壓的上升率及結溫而變(見圖29到圖31)。為了確定tq,所選的正向電流持續時間tp必須足夠長,使晶閘管在換向點可以完全開通(見圖28)。數據手冊中規定的值僅對下列條件有效:
結溫:Tvj=Tvj max
通態電流強度:iTM>ITAVM
通態電流下降率:-diT/dt=10A/μs
反向電壓:VRM=100V
正向斷態電壓上升率:dvD/dt=20V/μs
正向斷態電壓:VDM=0.67VDRM
例外:快速晶閘管換向關斷的電流下降率為-di/dt=20A/μs時,此處的dvD/dt可能有所不同,通過型號命名中的第5個字母確定(見章節2.3)。
對(dui)於(yu)相(xiang)控(kong)晶(jing)閘(zha)管(guan),通(tong)常(chang)規(gui)定(ding)的(de)是(shi)關(guan)斷(duan)時(shi)間(jian)的(de)典(dian)型(xing)值(zhi),因(yin)為(wei)這(zhe)類(lei)晶(jing)閘(zha)管(guan)主(zhu)要(yao)用(yong)於(yu)電(dian)網(wang)換(huan)相(xiang)變(bian)流(liu)器(qi)。在(zai)這(zhe)些(xie)應(ying)用(yong)中(zhong),延(yan)遲(chi)時(shi)間(jian)通(tong)常(chang)比(bi)晶(jing)閘(zha)管(guan)的(de)關(guan)斷(duan)時(shi)間(jian)長(chang)得(de)多(duo)。如(ru)果(guo)延(yan)遲(chi)時(shi)間(jian)比(bi)關(guan)斷(duan)時(shi)間(jian)短(duan),晶(jing)閘(zha)管(guan)將(jiang)在(zai)不(bu)施(shi)加(jia)門(men)極(ji)脈(mai)衝(chong)的(de)情(qing)況(kuang)下(xia),隨(sui)著(zhe)正(zheng)向(xiang)斷(duan)態(tai)電(dian)壓(ya)上(shang)升(sheng)而(er)再(zai)次(ci)開(kai)通(tong),並(bing)且(qie)可(ke)能(neng)導(dao)致(zhi)器(qi)件(jian)損(sun)壞(huai)(如有必要,可按要求提供tq極限值)。
如果晶閘管和反向二極管(例如續流二極管)一起工作,由於換向電壓較低,必須考慮更長的關斷時間(通常長30%)。此外,在此類應用中,應使續流電路的電感最小,否則關斷時間可能會顯著增加。

圖28.晶閘管的關斷特性示意圖

圖29.歸一化到Tvj max的關斷時間tq與結溫Tvj的典型關係曲線

圖30.歸一化到-diT/dtnorm的關斷時間tq與關斷換向下降率-diT/dt的典型關係曲線

圖31.歸一化到dvD/dt=20V/μs的關斷時間tq與斷態電壓上升率dvD/dt的典型關係曲線

免責聲明:本文為轉載文章,轉載此文目的在於傳遞更多信息,版權歸原作者所有。本文所用視頻、圖片、文字如涉及作品版權問題,請聯係小編進行處理。
推薦閱讀:
特別推薦
- 噪聲中提取真值!瑞盟科技推出MSA2240電流檢測芯片賦能多元高端測量場景
- 10MHz高頻運行!氮矽科技發布集成驅動GaN芯片,助力電源能效再攀新高
- 失真度僅0.002%!力芯微推出超低內阻、超低失真4PST模擬開關
- 一“芯”雙電!聖邦微電子發布雙輸出電源芯片,簡化AFE與音頻設計
- 一機適配萬端:金升陽推出1200W可編程電源,賦能高端裝備製造
技術文章更多>>
- 算力爆發遇上電源革新,大聯大世平集團攜手晶豐明源線上研討會解鎖應用落地
- 築基AI4S:摩爾線程全功能GPU加速中國生命科學自主生態
- 一秒檢測,成本降至萬分之一,光引科技把幾十萬的台式光譜儀“搬”到了手腕上
- AI服務器電源機櫃Power Rack HVDC MW級測試方案
- 突破工藝邊界,奎芯科技LPDDR5X IP矽驗證通過,速率達9600Mbps
技術白皮書下載更多>>
- 車規與基於V2X的車輛協同主動避撞技術展望
- 數字隔離助力新能源汽車安全隔離的新挑戰
- 汽車模塊拋負載的解決方案
- 車用連接器的安全創新應用
- Melexis Actuators Business Unit
- Position / Current Sensors - Triaxis Hall
熱門搜索
微波功率管
微波開關
微波連接器
微波器件
微波三極管
微波振蕩器
微電機
微調電容
微動開關
微蜂窩
位置傳感器
溫度保險絲
溫度傳感器
溫控開關
溫控可控矽
聞泰
穩壓電源
穩壓二極管
穩壓管
無焊端子
無線充電
無線監控
無源濾波器
五金工具
物聯網
顯示模塊
顯微鏡結構
線圈
線繞電位器
線繞電阻



