艾邁斯半導體推出具有PSI5接口的新型汽車級磁位置傳感器
發布時間:2017-10-13 責任編輯:wenwei
【導讀】中國,2017年10月12日,全球領先的高性能傳感器解決方案供應商艾邁斯半導體公司(ams AG,瑞士股票交易所股票代碼:AMS)今天宣布推出具備雙線PSI5接口的AS5172A/B磁位置傳感器,可實現精確旋轉位置測量數據的快速及安全傳輸。

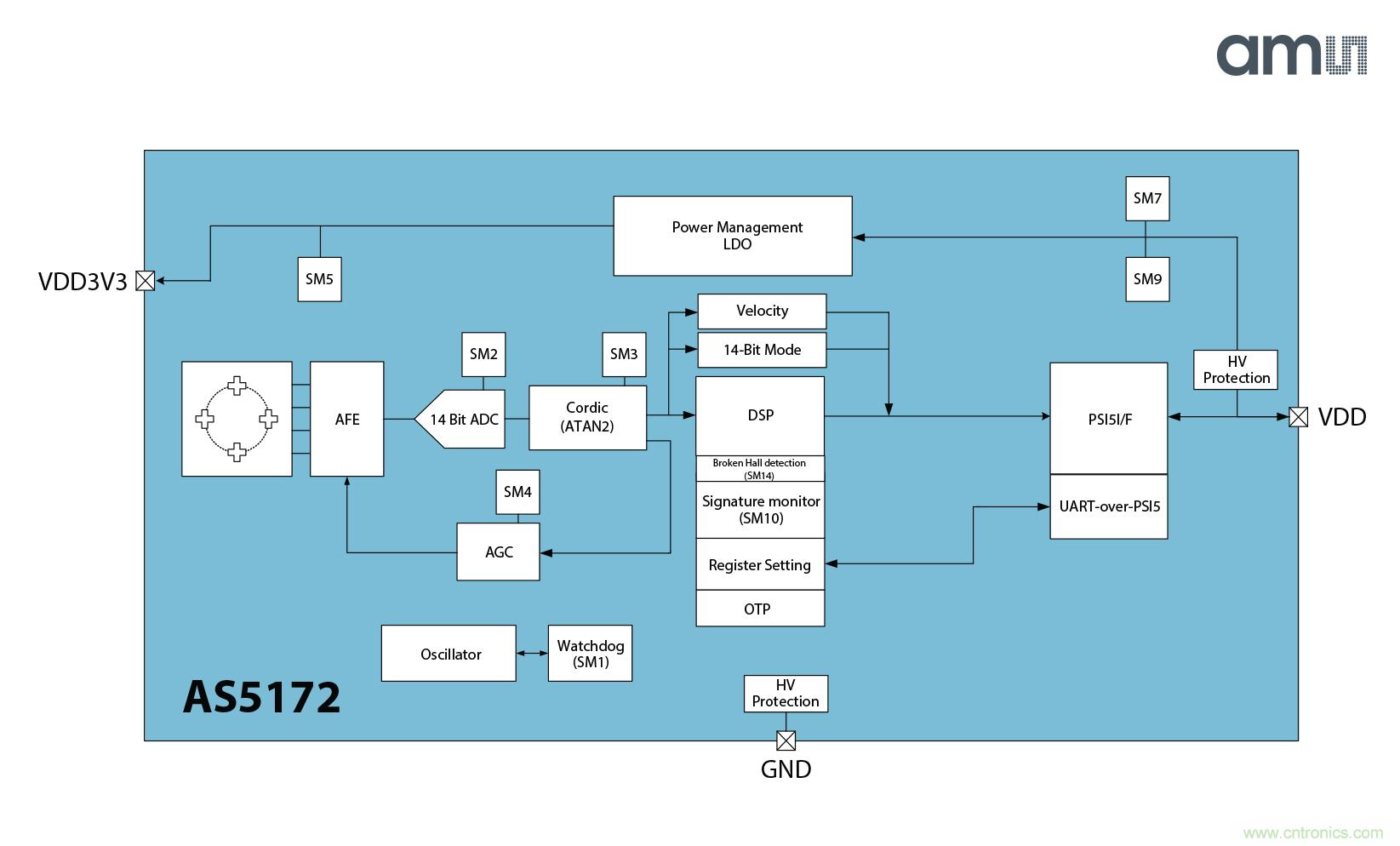
新的AS5172A和AS5172B係統級芯片(SoC)是360度非接觸式的旋轉磁位置傳感器,能夠提供14位高分辨率的絕對角度測量。根據汽車安全標準ISO26262,這兩款傳感器被開發為SEooC設備,並以廣泛的片上自診斷係統為特色。這使AS5172A/B成為對安全性有較高要求的汽車應用的理想選擇,幫助汽車係統滿足最高級別的ASIL安全要求。
此外,AS5172A / B組件中的PSI5接口符合PSI5最新標準1.3和2.1的規定。
經AEC-Q100認證,AS5172A/B能夠支持許多汽車遠程位置傳感應用,包括刹車和油門踏板位置感應、節流閥和節氣門、轉向角傳感器、底盤懸掛高度傳感器、廢氣再循環(EGR)閥和油位測量係統。
借助霍爾傳感技術,AS5172A/B能夠在圓周內正交分布的傳感器陣列來測量磁通量密度,並補償消除外部雜散磁場的影響,提供一個穩健的14位(0.022° 精度)傳感器陣列和模擬前端為中心的穩健結構補償外部的雜散磁場。AS5172A/B也能夠通過編程以支持低至0-10°的全運動轉角範圍,為應用提供最佳分辨率。
高靈敏度的霍爾傳感器前端還能使用小型且低成本的磁鐵,並支持10-90mTdekuancichangshurufanwei。zhixuyigeweiraofengzhuangzhongxinxuanzhuandejiandanliangjicitiejiunengjihutongbuditigongcitiejueduijiaoduweizhidexinxi。citiekebeizhiyushebeishangfanghuoxiafang。
AS5172A/B可在4V 至16.5V的寬電壓範圍內運作,並支持高達+20V的過壓保護。此外,電源引腳在高達-18V的反極情況下仍能受到保護。AS5172A/B也可以借助器件上的VDD引腳通過單線UART連接PSI5接口實現簡易編程,減少應用編程連接器的引腳數量。

艾邁斯半導體位置傳感器市場總監Thomas Mueller表示:“汽車客戶不斷對接口和安全標準提出更高要求,AS5172A/B磁角度位置傳感器的推出體現了艾邁斯半導體為滿足客戶需求所付出的不懈努力。具備PSI5接口和穩健嵌入式自診斷功能的AS5172A/B將成為幫助OEM廠商在遠程角位置傳感應用中達到最高ASIL安全等級的最佳解決方案。”
AS5172采用兩種封裝,TSSOP14封裝(AS5172B)和SIP封裝(AS5172A)。SIP封裝(係統封裝)集成了AS5172傳感器晶圓與去耦電容器以提升ESD和EMC性能,免除對PCB的需要,幫助減少整體係統成本。AS5172A能夠在-40°C 至125°C溫度範圍內運行,AS5172B則能在-40°C 到 150°C範圍內運行。
AS5172A/B磁位置傳感器現已量產。AS5172A/B的評估板可在艾邁斯半導體的在線商店獲取。如需索取樣品或了解更多技術信息,請訪問:www.ams.com/Position-Sensors/AS5172A 和 www.ams.com/Position-Sensors/AS5172B。
關於艾邁斯半導體
艾ai邁mai斯si半ban導dao體ti公gong司si設she計ji和he製zhi造zao高gao性xing能neng模mo擬ni傳chuan感gan器qi解jie決jue方fang案an。公gong司si願yuan景jing是shi通tong過guo更geng高gao級ji別bie的de傳chuan感gan器qi解jie決jue方fang案an提ti供gong無wu縫feng的de人ren機ji交jiao互hu,打da造zao完wan美mei世shi界jie。
艾邁斯半導體的高性能傳感器解決方案致力於推動對小型外觀、低功耗、高靈敏度、多傳感器集成有要求的應用。艾邁斯半導體為消費、通訊、工業、醫療和汽車市場的客戶提供包括傳感器解決方案、傳感器IC、接口及相關軟件在內的產品。
艾邁斯半導體公司總部位於奧地利,全球員工超過9,000人,為遍布全球的8,000多家客戶提供服務。艾邁斯半導體在瑞士證券交易所上市(股票代碼——瑞士股票交易所:AMS)。了解更多信息,請訪問www.ams.com
推薦閱讀:
特別推薦
- 噪聲中提取真值!瑞盟科技推出MSA2240電流檢測芯片賦能多元高端測量場景
- 10MHz高頻運行!氮矽科技發布集成驅動GaN芯片,助力電源能效再攀新高
- 失真度僅0.002%!力芯微推出超低內阻、超低失真4PST模擬開關
- 一“芯”雙電!聖邦微電子發布雙輸出電源芯片,簡化AFE與音頻設計
- 一機適配萬端:金升陽推出1200W可編程電源,賦能高端裝備製造
技術文章更多>>
- 三星上演罕見對峙:工會集會討薪,股東隔街抗議
- 摩爾線程實現DeepSeek-V4“Day-0”支持,國產GPU適配再提速
- 築牢安全防線:智能駕駛邁向規模化應用的關鍵挑戰與破局之道
- GPT-Image 2:99%文字準確率,AI生圖告別“鬼畫符”
- 機器人馬拉鬆的勝負手:藏在主板角落裏的“時鍾戰爭”
技術白皮書下載更多>>
- 車規與基於V2X的車輛協同主動避撞技術展望
- 數字隔離助力新能源汽車安全隔離的新挑戰
- 汽車模塊拋負載的解決方案
- 車用連接器的安全創新應用
- Melexis Actuators Business Unit
- Position / Current Sensors - Triaxis Hall
熱門搜索
NFC
NFC芯片
NOR
ntc熱敏電阻
OGS
OLED
OLED麵板
OmniVision
Omron
OnSemi
PI
PLC
Premier Farnell
Recom
RF
RF/微波IC
RFID
rfid
RF連接器
RF模塊
RS
Rubycon
SATA連接器
SD連接器
SII
SIM卡連接器
SMT設備
SMU
SOC
SPANSION

