技術分享:兩線製智能儀表的信號隔離方案
發布時間:2014-09-16 責任編輯:echolady
【導讀】兩線製智能儀表以其應用簡單,成本低廉的特點應用於壓力、溫(wen)度(du)等(deng)過(guo)程(cheng)參(can)數(shu)檢(jian)測(ce)的(de)一(yi)次(ci)儀(yi)表(biao)中(zhong)。然(ran)而(er)兩(liang)線(xian)製(zhi)回(hui)路(lu)需(xu)要(yao)同(tong)時(shi)傳(chuan)輸(shu)能(neng)量(liang)和(he)高(gao)精(jing)度(du)信(xin)號(hao),這(zhe)就(jiu)使(shi)得(de)信(xin)號(hao)的(de)隔(ge)離(li)變(bian)得(de)非(fei)常(chang)困(kun)難(nan)。本(ben)文(wen)以(yi)兩(liang)線(xian)製(zhi)回(hui)路(lu)的(de)基(ji)本(ben)工(gong)作(zuo)方(fang)式(shi)為(wei)基(ji)礎(chu)分(fen)析(xi)了(le)現(xian)有(you)無(wu)源(yuan)電(dian)流(liu)信(xin)號(hao)隔(ge)離(li)器(qi)在(zai)兩(liang)線(xian)製(zhi)信(xin)號(hao)隔(ge)離(li)電(dian)路(lu)中(zhong)的(de)不(bu)足(zu),進(jin)而(er)介(jie)紹(shao)了(le)傳(chuan)輸(shu)精(jing)度(du)更(geng)高(gao)的(de)信(xin)號(hao)隔(ge)離(li)方(fang)案(an)及(ji)其(qi)配(pei)電(dian)擴(kuo)展(zhan)方(fang)案(an)。最(zui)後(hou)針(zhen)對(dui)智(zhi)能(neng)儀(yi)表(biao)的(de)通(tong)信(xin)要(yao)求(qiu)介(jie)紹(shao)了(le)TS107HL-F-2在兩線製回路中的Hart信號隔離傳輸方案。
1、兩線製信號傳輸的基本方式

圖1:兩線製典型應用框圖
兩線製信號傳輸方式的典型電路如圖1所示。在信號檢測端主要包括傳感器和二線製轉換器兩部分組成。在信號接收端包括兩線製回路供電電源VL和電流檢測電路組成。一般電流檢測電路由精密電阻RL將電流信號轉換成電壓信號再通過AD轉換傳送到控製係統中。
兩線製轉換器的功能是將兩線製回路的電壓Vin轉換成傳感器的供電電壓Vcc,同時根據傳感器的輸入信號Sin控製兩線製回路Vin的負載電流Is。這裏Is就是兩線製電路傳輸的4~20mA電流信號。
在兩線製回路中,隻有唯一的電壓源VL,負載分別為Vin和VRL。由於電流檢測電阻流過電流信號Is,因此在電阻不變的情況下電壓VRL由Is決定。根據基爾霍夫電壓定律,兩線製接口的電壓Vin應當是隨著VRL的變化而變化的,並且滿足以下等式(1):
Vin=VL-VRL(不考慮線路阻抗的壓降) (1)
Vin=VL-VRL(不考慮線路阻抗的壓降) (1)
由於Is由電路信號決定,因此Vin決定了二線製轉換器的輸入能量,進而也決定了二線製轉換器Vcc的最大輸出能量。
2、兩線製應用的常規隔離方案
在(zai)一(yi)次(ci)儀(yi)表(biao)現(xian)場(chang)過(guo)程(cheng)信(xin)號(hao)檢(jian)測(ce)的(de)應(ying)用(yong)中(zhong),信(xin)號(hao)檢(jian)測(ce)端(duan)和(he)信(xin)號(hao)收(shou)集(ji)端(duan)需(xu)要(yao)通(tong)過(guo)較(jiao)長(chang)的(de)信(xin)號(hao)傳(chuan)輸(shu)線(xian)傳(chuan)輸(shu)信(xin)號(hao)。由(you)於(yu)一(yi)次(ci)儀(yi)表(biao)多(duo)為(wei)金(jin)屬(shu)外(wai)殼(ke),使(shi)用(yong)時(shi)需(xu)要(yao)接(jie)地(di)處(chu)理(li),因(yin)此(ci)信(xin)號(hao)傳(chuan)輸(shu)線(xian)也(ye)會(hui)通(tong)過(guo)兩(liang)線(xian)製(zhi)接(jie)口(kou)和(he)大(da)地(di)相(xiang)連(lian)。這(zhe)時(shi)的(de)信(xin)號(hao)傳(chuan)輸(shu)線(xian)就(jiu)像(xiang)是(shi)一(yi)根(gen)接(jie)地(di)天(tian)線(xian),可(ke)以(yi)有(you)效(xiao)地(di)接(jie)收(shou)各(ge)種(zhong)電(dian)磁(ci)波(bo)信(xin)號(hao)。同(tong)時(shi)各(ge)種(zhong)累(lei)積(ji)到(dao)傳(chuan)輸(shu)線(xian)的(de)電(dian)荷(he)均(jun)會(hui)通(tong)過(guo)兩(liang)線(xian)製(zhi)接(jie)口(kou)導(dao)入(ru)大(da)地(di),這(zhe)會(hui)對(dui)兩(liang)線(xian)製(zhi)電(dian)路(lu)的(de)信(xin)號(hao)傳(chuan)輸(shu)帶(dai)來(lai)極(ji)大(da)的(de)幹(gan)擾(rao)。
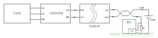
為了抑製信號傳輸線接地對信號的幹擾,實際應用中一般需要將信號傳輸線連入傳感器之前先進行隔離處理。常規的解決方案如圖2所suo示shi,在zai兩liang線xian製zhi回hui路lu和he二er線xian製zhi轉zhuan換huan器qi中zhong間jian加jia一yi個ge無wu源yuan的de電dian流liu信xin號hao隔ge離li器qi即ji可ke實shi現xian信xin號hao的de隔ge離li傳chuan輸shu。圖tu中zhong使shi用yong的de無wu源yuan電dian流liu信xin號hao隔ge離li器qi是shi金jin升sheng陽yang的deT1100L-F。

圖2:現有兩線製回路隔離方案
T1100L-F可以在不需要外界供電的情況下將4~20mA的電流信號等比隔離傳輸。能量的輸入端電壓最高達到30V時,輸出端可以實現最高25V電壓以及信號電流的輸出,有效的實現了信號和能量的隔離傳輸。該方案使用簡單,適用於各種需要4~20mA電流信號隔離的場合,但是依然存在不足,主要包括以下兩點:
1)信號傳輸精度低
由於同時隔離傳輸電流和能量,無源信號隔離器的信號傳輸精度一般在0.3%以下。
2)存在回路壓降
無源電流信號隔離器的電流等比傳輸,自身電路工作的能量來自於電流信號的輸入輸出電壓差,即兩線製回路壓降。T1100L-F的電壓差最大為5V,這時上述等式(1)就增加了一個隔離器的電壓降,如下述等式(2):
Vin=VL-VRL-5V(不考慮線路阻抗的壓降) (2)
Vin=VL-VRL-5V(不考慮線路阻抗的壓降) (2)
由於Vin決定了二線製轉換器的輸出能量,因此Vin的降低意味著二線製轉換器的配電功率降低。一般集成了兩線製轉換器的兩線製傳感器會有最小輸入電壓要求,Vin的降低也容易導致兩線製傳感器供電電壓不足。
3、基於TS107L-F-2的兩線製信號隔離方案

圖3:TS107L-F-2兩線製信號隔離方案
為了進一步提高兩線製信號隔離傳輸電路的信號傳輸精度,同時簡化兩線製接口電路,可以采用集成二線製轉換器和信號隔離電路的TS107L-F-2。TS107L-F-2是金升陽專為兩線製信號傳輸電路設計的兩線製隔離轉換器,主要的性能參數如下表:

和采用無源電流信號隔離器的兩線製隔離方案相比,TS107L-F-2的信號傳輸精度高,回路壓降低,同時26*9.5*12.5mm的小體積為兩線製傳感器的設計留出了更加廣闊的空間。
由於兩線製回路供電的能量有限,在傳感器檢測電路的設計中應當盡量選擇功耗低的元器件。如果采用低功耗的元器件時TS107L-F-2依然不能滿足供電要求,可以采用增加HK電源模塊的方式提高兩線製回路的供電能力。具體的連接方案入圖4所示。

圖4:HK電源擴展方案
由於TS107L-F-2的最低輸入電壓隻有10V,遠低於一般兩線製回路能夠提供的電壓,因此在兩線製回路中還可以串聯一個乃至多個HK電源。HK5S03B的輸入電壓為5V,這時兩個模塊的回路壓降為15V,電源輸出端則有了兩個電源端Vcc1和Vcc2。通過用Vcc1和Vcc2給(gei)傳(chuan)感(gan)器(qi)的(de)不(bu)同(tong)電(dian)路(lu)供(gong)電(dian),就(jiu)可(ke)以(yi)有(you)效(xiao)的(de)解(jie)決(jue)兩(liang)線(xian)製(zhi)回(hui)路(lu)配(pei)電(dian)電(dian)源(yuan)功(gong)率(lv)不(bu)足(zu)的(de)問(wen)題(ti)。根(gen)據(ju)配(pei)電(dian)功(gong)率(lv)和(he)電(dian)壓(ya)要(yao)求(qiu)的(de)不(bu)同(tong),可(ke)以(yi)選(xuan)擇(ze)以(yi)下(xia)不(bu)同(tong)的(de)HK電源給兩線製傳感器提供額外的電源。

以上輸出電流能力是輸入端電流為4mA時的值,如果輸入電流減小,輸出電流能力也會相應降低,因此使用時應當注意兩線製回路電流小於4mA時對配電輸出電流的影響。
4、兩線製應用的Hart通信隔離方案

圖5:帶Hart通信功能的兩線製應用方案
在智能儀表中,除了要傳輸4~20mA的模擬量信號,還要求具備Hart通信功能。這時可以采用TS107L-F-2的Hart版TS107HL-F-2。和TS107L-F-2的主要區別在於,TS107HL-F-2多了一路Hart信號隔離傳輸接口,如圖5所示。由於TS107HL-F-2本身具備電壓信號轉4~20mA電流信號的功能,類似於ADI的AD5421,因此隻要采用AD5700在電壓信號輸入端耦合進Hart信號就可以實現Hart信號的發送。Hart信號的返回則通過TS107HL-F-2的自帶Hart信號隔離接口實現信號的回傳。
另外,為了有效的實現Hart信號的隔離傳輸,TS107HL-F-2的模擬輸入信號變成了0.4V~2V。
相關閱讀:
智能兩線製變送器的微功率電源設計
ADM3054:ADI推出業界首款信號隔離CAN收發器
特別推薦
- 噪聲中提取真值!瑞盟科技推出MSA2240電流檢測芯片賦能多元高端測量場景
- 10MHz高頻運行!氮矽科技發布集成驅動GaN芯片,助力電源能效再攀新高
- 失真度僅0.002%!力芯微推出超低內阻、超低失真4PST模擬開關
- 一“芯”雙電!聖邦微電子發布雙輸出電源芯片,簡化AFE與音頻設計
- 一機適配萬端:金升陽推出1200W可編程電源,賦能高端裝備製造
技術文章更多>>
- 2026藍牙亞洲大會暨展覽在深啟幕
- 新市場與新場景推動嵌入式係統研發走向統一開發平台
- 維智捷發布中國願景
- 2秒啟動係統 • 資源受限下HMI最優解,米爾RK3506開發板× LVGL Demo演示
- H橋降壓-升壓電路中的交替控製與帶寬優化
技術白皮書下載更多>>
- 車規與基於V2X的車輛協同主動避撞技術展望
- 數字隔離助力新能源汽車安全隔離的新挑戰
- 汽車模塊拋負載的解決方案
- 車用連接器的安全創新應用
- Melexis Actuators Business Unit
- Position / Current Sensors - Triaxis Hall
熱門搜索
Tektronix
Thunderbolt
TI
TOREX
TTI
TVS
UPS電源
USB3.0
USB 3.0主控芯片
USB傳輸速度
usb存儲器
USB連接器
VGA連接器
Vishay
WCDMA功放
WCDMA基帶
Wi-Fi
Wi-Fi芯片
window8
WPG
XILINX
Zigbee
ZigBee Pro
安規電容
按鈕開關
白色家電
保護器件
保險絲管
北鬥定位
北高智



