LED開路保護器
發布時間:2010-10-26
中心議題:
近年來,采用1~3W大功率LED做的燈具逐年增加,其功率可從幾瓦到上百瓦。大功率LED燈具都采用LED串聯的結構,用恒流供電,其結構如圖1所示。一般1WLED的工作電流為250~350mA,3WLED的工作電流為600~700mA,電流大的可達900~1000mA。

圖1LED驅動電路
這種串聯LED的燈具有一個缺點,如果串聯的LED中有一個LED開路,則整個燈都不亮了。這對某些燈具(如警示燈、礦燈、應急燈等)的應用是十分危險的。為了防止LED開路時,LED燈還能亮,則采用LED開路保護器是十分有效的,它能保證燈具使用的安全性。
目前已開發出的1WLED開路保護器有兩種結構:齊納二極管型和晶閘管型(單向可控矽型),如圖2所示。有的LED生產廠家直接將齊納二極管與LED封裝在一起,即帶有開路保護的LED也已上市。3WLED的工作電流一般取值700~1000mA,這種開路保護器由於電流較大在市上還少見。

圖2兩種LED保護器件
本文將介紹安森美公司在2009年1月推出的新器件NUD4700及SMD公司在2008推出的SMD602,它們都是晶閘管型LED開路保護器。
[page]
NUD4700的工作原理
NUD4700是一種兩端器件,其外形如圖3所示,A端為陽極,C端為陰極。其內部結構如圖2的下圖所示,它由控製電路及單向晶閘管組成。

圖3NUD4700外形
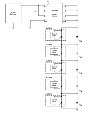
NUD4700的典型應用電路如圖4所示。這是一個交流供電,往AC/DC轉換器輸出直流電壓,再由NUD4701恒流LED驅動器驅動5個串聯的1W大功率LED的電路。NUD4700與LED並聯連接在一起。在LED未開路時,由於LED的正向降壓VF小於晶閘管的“開啟”電壓V(BR),則NUD4700為“關閉狀態”。在關閉狀態時,隻有小於250μA的漏電電流經過NUD4700,相當於NUD4700“開路”,不影響LED的工作。若串聯的LED中有一個(如LED2)因損壞而開路了,此時與LED2並聯的NUD4700的A、C之間電壓超過了“啟動”電壓V(BR)(5.5~7.5V),NUD4700啟動,由關閉狀態轉為“導通狀態”。在導通狀態時,A、C之間導通電壓VT為1.0~1.2V。此時,LED的電流由LED1流經NUD4700的A、C,再流入LED3,如圖5所示。5個LED的燈僅有4個LED工作,其亮度稍差一些,但仍可以正常工作,並且不影響其恒流的大小。

圖4NUD4700應用電路

圖5NUD4700工作原理
從上麵的分析可知:在LED正常時,器件不起作用(相當開路);在LED損壞開路時,它起作用(相當通路),使LED的電路能形成通路而工作。
NUD4700的主要參數
NUD4700的主要參數:峰值重複關閉狀態時電壓為-0.3~+10V;關閉狀態時的漏電流ILEAK為100~250μA;啟動電壓(也稱為“擊穿電壓”BreakdownVoltage)V(BR)為5.5~7.5V;保持電流IH為6~12mA;閉鎖電流(latchingCurrent)IL為35~70mA;導通狀態電壓VT為1~1.2V;導通狀態時的平均電流IT(AVG)為0.376~1.3A(電流大小與焊盤麵積有關:在焊盤麵積為25.4mm×25.4mm時,散熱條件好,IT可達1.3A);該器件為貼片式2mm×2.1mm封裝(高度為1mm);工作溫度範圍為-40~+85℃。
典型工作波形
NUD4700的典型工作波形如圖6所示。圖6中,綠色是LED電流波形,棕色是NUD4700關閉狀態轉換到導通狀態的波形。橢圓內是LED開路瞬間波形,此時,LED電流IF經一些波動後恢複到原來電流;與此同時,NUD4700由關閉狀態轉換到導通狀態,其電壓由VF下降到1~1.2V,其響應時間是很快的(dv/dt最小值為250V/μs)。

圖6NUD4700工作波形圖
SMD602的結構與工作原理
SMD602的內部結構如圖7所示,它的基本結構與NUD4700相同,但增加了一個反接的二極管,可在LED串極性接反時提供一個電流通路,由於二極管的正向壓降為1.1~1.5V,其可保護LED免受反壓擊穿(一般LED反壓擊穿電壓為5V)。

圖7SMD602內部結構[page]
SMD602的工作原理與NUD4700完全相同。它的正極與LED的陽極連接,負極與LED的陰極連接,如圖8所示。在LED沒有開路時,SMD602都為關閉狀態,其漏電流為100μA(典型值)。圖中橘黃色線為LED電流ILED。

圖8SMD602工作在LED導通狀態下
若在串聯的LED中有一個開路,如圖9所示,則與此並聯的SMD602的正、負極之間電壓大於其開啟電壓4.65~5.25V,此器件由關閉狀態轉換為導通狀態,降壓為1~1.2V。LED電流經SMD602內部的晶閘管後流到下一個LED,保證其他未開路的LED正常工作。圖中用紅線X表示此LED開路。

圖9SMD602工作在LED開路狀態下
若LED串與驅動器連接時極性接反,則有可能LED受反壓過大而損壞。由於SMD602內部有反接二極管,在LED串極性接反時,其內部的二極管極性是正確的,則LED的電流經SMD內部的二極管形成回路,LED得到保護,如圖10所示。

圖10SMD602工作在LED反接狀態下
SMD602主要參數與特性
SMD602的主要參數:輸入電壓VDC最大值為38V;導通狀態時最大電流IBP=500mA;反向電流IR最大值為500mA;啟動電壓V(BR)為4.65~5.25V,導通狀態時壓降VT為1~1.2V;在LED極性反接時,其壓差為1.1~1.5V;在關閉狀態時漏電流為100~150μA;維持電流IH最大值為20mA,工作溫度範圍-40~+85℃。

圖11SMD602的特性
SMD602有兩種封裝:2mm×2mmFBP封裝及3引腳SOT-89封裝,其引腳排列如圖12所示。

圖12SMD602的引腳排列
以上介紹的兩種LED開路保護器適用於1W大功率LED,其ILED電流為350mA。它們可以與LED一起安裝在六角形的鋁基板上。
- LED開路保護器的工作原理
- 各種元件的主要參數和特性
- NUD4700的工作原理
- NUD4700的主要參數
- SMD602主要參數與特性
近年來,采用1~3W大功率LED做的燈具逐年增加,其功率可從幾瓦到上百瓦。大功率LED燈具都采用LED串聯的結構,用恒流供電,其結構如圖1所示。一般1WLED的工作電流為250~350mA,3WLED的工作電流為600~700mA,電流大的可達900~1000mA。

圖1LED驅動電路
這種串聯LED的燈具有一個缺點,如果串聯的LED中有一個LED開路,則整個燈都不亮了。這對某些燈具(如警示燈、礦燈、應急燈等)的應用是十分危險的。為了防止LED開路時,LED燈還能亮,則采用LED開路保護器是十分有效的,它能保證燈具使用的安全性。
目前已開發出的1WLED開路保護器有兩種結構:齊納二極管型和晶閘管型(單向可控矽型),如圖2所示。有的LED生產廠家直接將齊納二極管與LED封裝在一起,即帶有開路保護的LED也已上市。3WLED的工作電流一般取值700~1000mA,這種開路保護器由於電流較大在市上還少見。

圖2兩種LED保護器件
本文將介紹安森美公司在2009年1月推出的新器件NUD4700及SMD公司在2008推出的SMD602,它們都是晶閘管型LED開路保護器。
[page]
NUD4700的工作原理
NUD4700是一種兩端器件,其外形如圖3所示,A端為陽極,C端為陰極。其內部結構如圖2的下圖所示,它由控製電路及單向晶閘管組成。

圖3NUD4700外形
NUD4700的典型應用電路如圖4所示。這是一個交流供電,往AC/DC轉換器輸出直流電壓,再由NUD4701恒流LED驅動器驅動5個串聯的1W大功率LED的電路。NUD4700與LED並聯連接在一起。在LED未開路時,由於LED的正向降壓VF小於晶閘管的“開啟”電壓V(BR),則NUD4700為“關閉狀態”。在關閉狀態時,隻有小於250μA的漏電電流經過NUD4700,相當於NUD4700“開路”,不影響LED的工作。若串聯的LED中有一個(如LED2)因損壞而開路了,此時與LED2並聯的NUD4700的A、C之間電壓超過了“啟動”電壓V(BR)(5.5~7.5V),NUD4700啟動,由關閉狀態轉為“導通狀態”。在導通狀態時,A、C之間導通電壓VT為1.0~1.2V。此時,LED的電流由LED1流經NUD4700的A、C,再流入LED3,如圖5所示。5個LED的燈僅有4個LED工作,其亮度稍差一些,但仍可以正常工作,並且不影響其恒流的大小。

圖4NUD4700應用電路

圖5NUD4700工作原理
從上麵的分析可知:在LED正常時,器件不起作用(相當開路);在LED損壞開路時,它起作用(相當通路),使LED的電路能形成通路而工作。
NUD4700的主要參數
NUD4700的主要參數:峰值重複關閉狀態時電壓為-0.3~+10V;關閉狀態時的漏電流ILEAK為100~250μA;啟動電壓(也稱為“擊穿電壓”BreakdownVoltage)V(BR)為5.5~7.5V;保持電流IH為6~12mA;閉鎖電流(latchingCurrent)IL為35~70mA;導通狀態電壓VT為1~1.2V;導通狀態時的平均電流IT(AVG)為0.376~1.3A(電流大小與焊盤麵積有關:在焊盤麵積為25.4mm×25.4mm時,散熱條件好,IT可達1.3A);該器件為貼片式2mm×2.1mm封裝(高度為1mm);工作溫度範圍為-40~+85℃。
典型工作波形
NUD4700的典型工作波形如圖6所示。圖6中,綠色是LED電流波形,棕色是NUD4700關閉狀態轉換到導通狀態的波形。橢圓內是LED開路瞬間波形,此時,LED電流IF經一些波動後恢複到原來電流;與此同時,NUD4700由關閉狀態轉換到導通狀態,其電壓由VF下降到1~1.2V,其響應時間是很快的(dv/dt最小值為250V/μs)。

圖6NUD4700工作波形圖
SMD602的結構與工作原理
SMD602的內部結構如圖7所示,它的基本結構與NUD4700相同,但增加了一個反接的二極管,可在LED串極性接反時提供一個電流通路,由於二極管的正向壓降為1.1~1.5V,其可保護LED免受反壓擊穿(一般LED反壓擊穿電壓為5V)。

圖7SMD602內部結構[page]
SMD602的工作原理與NUD4700完全相同。它的正極與LED的陽極連接,負極與LED的陰極連接,如圖8所示。在LED沒有開路時,SMD602都為關閉狀態,其漏電流為100μA(典型值)。圖中橘黃色線為LED電流ILED。

圖8SMD602工作在LED導通狀態下
若在串聯的LED中有一個開路,如圖9所示,則與此並聯的SMD602的正、負極之間電壓大於其開啟電壓4.65~5.25V,此器件由關閉狀態轉換為導通狀態,降壓為1~1.2V。LED電流經SMD602內部的晶閘管後流到下一個LED,保證其他未開路的LED正常工作。圖中用紅線X表示此LED開路。

圖9SMD602工作在LED開路狀態下
若LED串與驅動器連接時極性接反,則有可能LED受反壓過大而損壞。由於SMD602內部有反接二極管,在LED串極性接反時,其內部的二極管極性是正確的,則LED的電流經SMD內部的二極管形成回路,LED得到保護,如圖10所示。

圖10SMD602工作在LED反接狀態下
SMD602主要參數與特性
SMD602的主要參數:輸入電壓VDC最大值為38V;導通狀態時最大電流IBP=500mA;反向電流IR最大值為500mA;啟動電壓V(BR)為4.65~5.25V,導通狀態時壓降VT為1~1.2V;在LED極性反接時,其壓差為1.1~1.5V;在關閉狀態時漏電流為100~150μA;維持電流IH最大值為20mA,工作溫度範圍-40~+85℃。

圖11SMD602的特性
SMD602有兩種封裝:2mm×2mmFBP封裝及3引腳SOT-89封裝,其引腳排列如圖12所示。

圖12SMD602的引腳排列
以上介紹的兩種LED開路保護器適用於1W大功率LED,其ILED電流為350mA。它們可以與LED一起安裝在六角形的鋁基板上。
特別推薦
- 噪聲中提取真值!瑞盟科技推出MSA2240電流檢測芯片賦能多元高端測量場景
- 10MHz高頻運行!氮矽科技發布集成驅動GaN芯片,助力電源能效再攀新高
- 失真度僅0.002%!力芯微推出超低內阻、超低失真4PST模擬開關
- 一“芯”雙電!聖邦微電子發布雙輸出電源芯片,簡化AFE與音頻設計
- 一機適配萬端:金升陽推出1200W可編程電源,賦能高端裝備製造
技術文章更多>>
- 築基AI4S:摩爾線程全功能GPU加速中國生命科學自主生態
- 一秒檢測,成本降至萬分之一,光引科技把幾十萬的台式光譜儀“搬”到了手腕上
- AI服務器電源機櫃Power Rack HVDC MW級測試方案
- 突破工藝邊界,奎芯科技LPDDR5X IP矽驗證通過,速率達9600Mbps
- 通過直接、準確、自動測量超低範圍的氯殘留來推動反滲透膜保護
技術白皮書下載更多>>
- 車規與基於V2X的車輛協同主動避撞技術展望
- 數字隔離助力新能源汽車安全隔離的新挑戰
- 汽車模塊拋負載的解決方案
- 車用連接器的安全創新應用
- Melexis Actuators Business Unit
- Position / Current Sensors - Triaxis Hall
熱門搜索
微波功率管
微波開關
微波連接器
微波器件
微波三極管
微波振蕩器
微電機
微調電容
微動開關
微蜂窩
位置傳感器
溫度保險絲
溫度傳感器
溫控開關
溫控可控矽
聞泰
穩壓電源
穩壓二極管
穩壓管
無焊端子
無線充電
無線監控
無源濾波器
五金工具
物聯網
顯示模塊
顯微鏡結構
線圈
線繞電位器
線繞電阻



