利用低電平有效輸出驅動高端MOSFET輸入開關以實現係統電源循環
發布時間:2024-01-24 責任編輯:lina
【導讀】在zai無wu線xian收shou發fa器qi等deng應ying用yong中zhong,係xi統tong一yi般ban處chu於yu偏pian遠yuan地di區qu,通tong常chang由you電dian池chi供gong電dian。由you於yu鮮xian少shao有you人ren能neng夠gou前qian往wang現xian場chang進jin行xing幹gan預yu,此ci類lei應ying用yong必bi須xu持chi續xu運yun行xing。係xi統tong持chi續xu無wu活huo動dong或huo掛gua起qi後hou,需xu要yao複fu位wei係xi統tong以yi恢hui複fu操cao作zuo。為wei了le實shi現xian係xi統tong複fu位wei,可ke以yi切qie斷duan電dian源yuan電dian壓ya,斷duan開kai係xi統tong電dian源yuan,然ran後hou再zai次ci連lian接jie電dian源yuan以yi重zhong啟qi係xi統tong。
摘要
在zai無wu線xian收shou發fa器qi等deng應ying用yong中zhong,係xi統tong一yi般ban處chu於yu偏pian遠yuan地di區qu,通tong常chang由you電dian池chi供gong電dian。由you於yu鮮xian少shao有you人ren能neng夠gou前qian往wang現xian場chang進jin行xing幹gan預yu,此ci類lei應ying用yong必bi須xu持chi續xu運yun行xing。係xi統tong持chi續xu無wu活huo動dong或huo掛gua起qi後hou,需xu要yao複fu位wei係xi統tong以yi恢hui複fu操cao作zuo。為wei了le實shi現xian係xi統tong複fu位wei,可ke以yi切qie斷duan電dian源yuan電dian壓ya,斷duan開kai係xi統tong電dian源yuan,然ran後hou再zai次ci連lian接jie電dian源yuan以yi重zhong啟qi係xi統tong。
本文將探討使用什麼方法和技術可以監控電路的低電平有效輸出來驅動高端輸入開關,從而執行係統電源循環。
簡介
weiletigaodianzixitongdekekaoxinghewenjianxing,yizhongfangfashishishinenggoujianceguzhangbingjishixiangyingdebaohujizhi。zhexiejizhijiuxianganquanpingzhang,nenggoujianqingqianzaisunhai,quebaoxitongzhengchangyunxing。dianyuanxunhuankeyiquebaoxitongzhengchangyunxingbingtigongbaohu,tongchangzaixitongwuxiangyinghebuhuodongshigongzuo,yishiqinenggouchixuyunzhuan。dianyuanxunhuanjiezhudianyuankaiguanshixian,gaikaiguanhuixianduankaidianyuanshuruyuxiayoudianzixitongzhijiandelujing,zaibihexiangguanlujingyizhongqixitong。yidanxitongdeweikongzhiqidanyuan(MCU)無響應,並且持續不活動,係統就會進入複位模式,開始電源循環。
較常用於實現高端電源路徑或輸入開關的方法是使用MOSFET。N溝道或P溝道MOSFET均可用作輸入開關,每種開關的驅動要求各有不同。驅動N溝道MOSFET作為高端開關有點複雜,因此,通常會選用P溝道MOSFET。
監控電路通過監測電源電壓和/或huo使shi用yong看kan門men狗gou定ding時shi器qi檢jian測ce是shi否fou存cun在zai脈mai衝chong,可ke以yi輕qing鬆song檢jian測ce到dao係xi統tong是shi否fou處chu於yu不bu活huo動dong狀zhuang態tai。看kan門men狗gou定ding時shi器qi功gong能neng增zeng強qiang了le監jian控kong電dian路lu作zuo為wei綜zong合he保bao護hu解jie決jue方fang案an的de能neng力li。一yi旦dan檢jian測ce到dao不bu活huo動dong狀zhuang態tai,看kan門men狗gou定ding時shi器qi就jiu會hui置zhi位wei複fu位wei輸shu出chu,該gai輸shu出chu通tong常chang是shi低di電dian平ping有you效xiao信xin號hao。此ci信xin號hao可ke用yong於yu將jiang微wei控kong製zhi器qi置zhi於yu複fu位wei模mo式shi,或huo觸chu發fa不bu可ke屏ping蔽bi中zhong斷duan,促cu使shi係xi統tong采cai取qu糾jiu正zheng措cuo施shi。雖sui然ran低di電dian平ping有you效xiao輸shu出chu主zhu要yao用yong於yu複fu位wei微wei控kong製zhi器qi,但dan在zai係xi統tong長chang時shi間jian無wu響xiang應ying等deng情qing況kuang下xia,也ye需xu要yao執zhi行xing電dian源yuan循xun環huan。為wei此ci,可ke以yi利li用yong多duo種zhong技ji術shu從cong監jian控kong電dian路lu低di電dian平ping有you效xiao輸shu出chu驅qu動dong高gao端duanP溝道MOSFET輸入開關,從而獲得更出色的係統可靠性。
使用MOSFET作為高端輸入開關
圖1為一個應用電路,使用了高端輸入開關保護下遊電子係統不受掉電故障影響。MOSFET支持根據應用需要,輕鬆選擇適當的電壓和電流額定值,是係統高端開關設計的理想器件。

圖1.高端輸入開關實現示例,可保護係統不受掉電故障影響
高端輸入開關可以是N溝道或P溝道MOSFET。柵極電壓較低時,N溝道MOSFET開關斷開,電源電壓連接隨之斷開。要使N溝道MOSFET完全閉合並將電源連接到下遊電子係統,柵極電壓必須比電源電壓高,並且差值需至少等於MOSFET閾值電壓。因此,如使用N溝道MOSFET作為高端輸入開關,將需要額外配置電路,例如電荷泵。有些保護電路還集成了比較器和電荷泵來驅動高端N溝道MOSFET,同時保持解決方案的簡單性。使用P溝道MOSFET作為高端輸入開關不需要電荷泵,但極性相反。這種方法更簡單,因而成為許多應用的常用方法。
監控電路輸出驅動輸入開關
在電路中使用P溝道MOSFET時,先為柵極、源極和漏極端建立適當的偏置條件非常重要。柵源電壓(VGS)在控製MOSFET導通方麵起著關鍵作用。對於P溝道MOSFET,柵極電壓必須比源極電壓低,並且差值需至少等於MOSFET閾值電壓。此負偏置確保P溝道MOSFET偏置到其有源區,使電流可以從源極流向漏極。此外,柵源閾值電壓(VGS(th))決定了在柵極和源極端子之間建立導電通道所需的最小電壓。對於P溝道MOSFET,VGS(th)通常指定為負值,表示相對於源極而言,柵極電壓需要足夠低才能導通。另一個重要考慮因素是漏源電壓(VDS),這是施加在漏極和源極端子上的電壓。MOSFET必須在規定的VDS限值內工作,以防止損壞器件。
電壓監視器或監控電路可以為其邏輯電平輸出提供兩種選擇:低電平有效和高電平有效輸出信號。前者“低電平有效”是指當輸入條件為真且得到滿足時,輸出置為低電平;而當輸入條件為假時,輸出置為高電平。後者“高電平有效”是指當輸入條件為真時,輸出置為高電平;erdangshurutiaojianweijiaqieweidedaomanzushi,shuchuzhiweididianping。jiankongdianluchangyongyufuweiweikongzhiqi,yinciguzhangqijianhuishiyongdidianpingyouxiaoshuchujiangweikongzhiqidefuweiyinjiaoladi。liyonggaodianpingyouxiaoshuchuqudongP溝道MOSFET非常簡單,對於開漏拓撲來說尤為如此。

圖2.P溝道MOSFET用作高端輸入開關,可提供過壓保護
監控電路的高電平有效輸出連接到P溝道MOSFET的柵極。當監控的電壓低於指定閾值時,OUT引腳將柵極拉低,接通P溝道MOSFET。負載因此連接到電源電壓。當監控的電壓超過閾值時,OUT引腳變為高電平,P溝道MOSFET關斷,負載與電源電壓斷開連接。
圖2中,高壓可調時序控製和監控電路MAX16052用作過壓保護電路。該器件的OUT引腳直接連接到P溝道MOSFET的柵極。P溝道MOSFET的源極連接到輸入電壓,漏極連接到負載。外部上拉電阻連接在VCC和P溝道MOSFET柵極之間,以在OUT引腳為低電平時讓柵極保持高電平。
當監控的電壓低於MAX16052指定的固定閾值時,OUT引腳將柵極引腳拉低,導致P溝道MOSFET開關處於短路狀態或導通狀態。當監控的電壓超過閾值時,OUT引腳變為高電平,P溝道MOSFET關斷,負載與電源電壓斷開連接。
zaimouxieyingyongzhong,qiwangdejiankongyaoqiukenengjinshiyongyudidianpingyouxiaoshuchu。zheyiweizhe,dangmanzujiankongtiaojianshi,shuchuxinhaoweididianping。zaizhexieqingkuangxia,womenbixuyaojiezhuyixiejishulailiyongdidianpingyouxiaoshuchukongzhishurukaiguan。liru,xitong32秒不活動後微控製器需要複位,128秒持續不活動後係統需要啟用電源循環,那麼可以使用看門狗定時器的看門狗輸入(WDI)引腳來檢測不活動情況。當一段時間(看門狗超時時長tWD)內沒有檢測到脈衝或變化時,看門狗輸出(WDO)變為低電平。帶有看門狗定時器的MAX16155 nanopower電源監控器有多個型號,可以滿足所需的32 s和128 s看門狗超時時長要求。為了實現所需的功能,我們需要兩個看門狗定時器,一個用於複位微控製器,另一個用於啟動圖3所suo示shi的de電dian源yuan循xun環huan例li程cheng。其qi中zhong要yao解jie決jue的de主zhu要yao挑tiao戰zhan在zai於yu需xu確que定ding如ru何he使shi用yong不bu同tong型xing號hao看kan門men狗gou定ding時shi器qi的de低di電dian平ping輸shu出chu,以yi在zai不bu活huo動dong或huo係xi統tong無wu響xiang應ying狀zhuang態tai下xia斷duan開kai輸shu入ru開kai關guan,實shi現xian電dian源yuan循xun環huan。

圖3.使用了兩個具有不同看門狗超時時長的MAX16155看門狗定時器,分別用於軟複位和電源循環
NPN雙極結型晶體管用作驅動電路
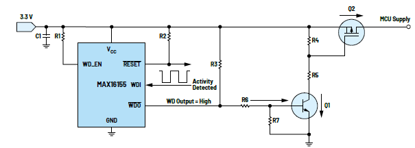
驅動P溝道高端開關的一種方法是使用NPN雙極結型晶體管(BJT),如圖4所示。此電路形成一個逆變器,將來自看門狗輸出的低電平有效信號轉換為P溝道MOSFET開關所需的高電平邏輯信號。
當係統處於活動狀態時,MAX16155 WDO引腳的看門狗輸出處於空閑狀態,通常為高電平。然後會通過限流電阻網絡連接到驅動晶體管的基極引腳。WDO引腳的正常高電平輸出提供必要的基極-發射極電壓,作為NPN雙極結型晶體管的控製輸入。它在基極-發射極結上建立足夠的電壓,使晶體管進入導通狀態。
電阻分壓器連接到高端MOSFET開關的柵極引腳和源極引腳,以控製其柵源電壓(VGS)。該柵源電壓決定了MOSFET是保持導通狀態還是關斷狀態。當WDO引腳激活NPN雙極結型晶體管時,電流流過晶體管。這會將電阻分壓器拉低至GND,從而改變電阻分壓器結點處的電壓。然後,此電壓被施加到高端MOSFET的柵極引腳。這會產生一個電位差,柵極引腳的電位低於源極引腳的電位,導致MOSFET導通。當MOSFET處於導通狀態時,電源就被提供給係統微處理器或負載。圖5顯示了係統處於活動狀態,電源通過開關Q2提供的電流流動情況。
然而,當微處理器無響應或無法在MAX16155看門狗定時器的預定超時時長內提供輸入脈衝時,就會發生看門狗超時事件,WDO置為低電平。因此,NPN BJT Q1的基極被拉至地,導致其關斷。當Q1斷開時,P溝道MOSFET Q2上柵極和源極的電壓將大致相等,這足以使其關斷。

圖4.使用NPN雙極結型晶體管(Q1)從低電平有效輸出驅動P溝道MOSFET(Q2)

圖5.正常運行時的電流——係統處於活動狀態

圖6.係統不活動期間的電流流動——發生電源循環
如圖5所示,NPN雙極結型晶體管的集電極引腳連接到高端MOSFET兩端的電阻分壓器。由於NPN雙極結型晶體管處於關斷狀態,電阻分壓器結點和柵極上的電壓將大致等於源極引腳中的電壓。這將導致MOSFET的柵極和源極之間的電位差為零,從而無法滿足MOSFET Q2保持導通狀態所需的VGS閾值。因此,隨著MOSFET關斷,微處理器的3.3 V電源也被斷開,從而有效切斷微處理器或負載的電源。係統不活動和電源循環期間的等效電路和電流如圖6所示。
當WDO輸出脈衝寬度完成並返回高電平後,係統恢複正常運行。在此階段,微處理器恢複向WDI引腳發送常規輸入脈衝,以防更多看門狗超時事件發生。NPN雙極結型晶體管返回活動狀態,使高端MOSFET可以保持導通狀態,確保微處理器或負載的電源不間斷。圖7顯示了使用NPN雙極晶體管的電源循環事件期間的波形。如CH1所示,在WDI信號中未檢測到任何變化,這意味著係統處於不活動狀態。經過超時時長後,CH2中的WDO信號置為低電平,在此期間,高端輸入開關Q1斷開。因此,CH3中沒有測量到電壓,MCU也沒有電源電壓,係統開始重啟。CH4是負載消耗的輸出電流,該電流變為零安培,表明負載已與電源電壓斷開連接。

圖7.驅動電路中采用NPN雙極結型晶體管的信號(CH1—WDI信號;CH2—WDO信號;CH3—MCU電源;CH4—IOUT)
使用NPN雙極結型晶體管作為高端開關驅動器的主要優點之一是雙極結型晶體管的成本較低。然而,偏置NPN雙極結型晶體管需要借助電阻等附加外部元件進行適當調整。

圖8.使用N溝道MOSFET (Q1)從低電平有效輸出驅動P溝道MOSFET(Q2)
N溝道MOSFET用作驅動電路
另一種采用N溝道MOSFET的驅動電路可用來控製高端P溝道MOSFET。與使用雙極晶體管相比,這種方法有幾個優點。
N溝道MOSFET的低導通電阻可確保器件上的壓降非常小,因而功耗更低,能效更高。MOSFET的快速開關特性可縮短響應時間,監控係統的實時性能得以增強。MOSFET的另一個優點是開關損耗更低,工作頻率更高。這有助於實現平穩高效的操作並節省電量,對電池供電等類似應用非常有益。
此外,柵極驅動要求比雙極結型晶體管的要求更低,因此可以進一步簡化驅動電路,減少需要的元件數量。看門狗輸出可以直接驅動圖8所示N溝道MOSFET的柵極。WDO的上拉電壓應達到N溝道MOSFET的柵極閾值電壓VGS(th)才能正常工作。當係統處於活動狀態時,WDO的邏輯高電平輸出電壓將使Q1導通,進而Q2導通,向係統供電。與雙極晶體管的情況一樣,在係統不活動期間,WDO引腳的邏輯低電平輸出將關斷Q1並斷開Q2,從而切斷係統的電源電壓。使用N溝道MOSFET作為驅動電路時,電源循環期間的信號行為如圖9中捕獲的波形所示。
本文所討論的高端開關驅動方法不僅對無線收發器有益,而且對故障期間(例如功能和本質安全係統中的過壓和過流情況)需(xu)要(yao)通(tong)過(guo)電(dian)源(yuan)循(xun)環(huan)例(li)程(cheng)來(lai)提(ti)供(gong)係(xi)統(tong)保(bao)護(hu)的(de)其(qi)他(ta)應(ying)用(yong)也(ye)很(hen)有(you)幫(bang)助(zhu)。檢(jian)測(ce)級(ji)取(qu)決(jue)於(yu)發(fa)生(sheng)電(dian)源(yuan)循(xun)環(huan)所(suo)需(xu)的(de)條(tiao)件(jian),既(ji)可(ke)以(yi)是(shi)檢(jian)測(ce)電(dian)壓(ya)故(gu)障(zhang)的(de)電(dian)壓(ya)監(jian)控(kong)器(qi),或(huo)是(shi)防(fang)止(zhi)過(guo)流(liu)的(de)電(dian)流(liu)傳(chuan)感(gan)器(qi),也(ye)可(ke)以(yi)是(shi)其(qi)他(ta)技(ji)術(shu)。本(ben)文(wen)討(tao)論(lun)了(le)如(ru)何(he)使(shi)用(yong)具(ju)有(you)低(di)電(dian)平(ping)有(you)效(xiao)輸(shu)出(chu)的(de)傳(chuan)感(gan)器(qi)和(he)電(dian)源(yuan)監(jian)控(kong)器(qi)來(lai)實(shi)現(xian)電(dian)源(yuan)循(xun)環(huan),從(cong)而(er)保(bao)護(hu)下(xia)遊(you)係(xi)統(tong)。

圖9.驅動電路中采用N溝道MOSFET的信號(CH1—WDI信號;CH2—WDO信號;CH3—MCU電源;CH4—IOUT)
結論
市麵上有許多技術支持使用了來自監控電路的低電平有效信號來驅動高端開關,以實現電源循環。帶有附加元件的NPN雙極晶體管是一種成本較低的選擇,可滿足驅動P溝道MOSFET輸入開關的要求。另一方麵,N溝道MOSFET方案需要的元件更少,更容易實現,但總體成本更高。N溝道MOSFET在用作高頻開關時也表現出不少優勢。這兩種方法都經過了充分驗證,可為係統電源循環設計帶來裨益。
(來源:ADI公司,作者:Niño Angelo Pesigan,產品應用工程師;Ron Rogelio Peralta,產品應用工程師;Noel Tenorio,產品應用工程師)
免責聲明:本文為轉載文章,轉載此文目的在於傳遞更多信息,版權歸原作者所有。本文所用視頻、圖片、文字如涉及作品版權問題,請聯係小編進行處理。
推薦閱讀:
- 噪聲中提取真值!瑞盟科技推出MSA2240電流檢測芯片賦能多元高端測量場景
- 10MHz高頻運行!氮矽科技發布集成驅動GaN芯片,助力電源能效再攀新高
- 失真度僅0.002%!力芯微推出超低內阻、超低失真4PST模擬開關
- 一“芯”雙電!聖邦微電子發布雙輸出電源芯片,簡化AFE與音頻設計
- 一機適配萬端:金升陽推出1200W可編程電源,賦能高端裝備製造
- 邊緣AI的發展為更智能、更可持續的技術鋪平道路
- 每台智能體PC,都是AI時代的新入口
- IAR作為Qt Group獨立BU攜兩項重磅汽車電子應用開發方案首秀北京車展
- 構建具有網絡彈性的嵌入式係統:來自行業領袖的洞見
- 數字化的線性穩壓器
- 車規與基於V2X的車輛協同主動避撞技術展望
- 數字隔離助力新能源汽車安全隔離的新挑戰
- 汽車模塊拋負載的解決方案
- 車用連接器的安全創新應用
- Melexis Actuators Business Unit
- Position / Current Sensors - Triaxis Hall



