利用磁場通過浮動水晶球控製信息娛樂係統
發布時間:2021-11-23 責任編輯:lina
【導讀】qichezhizaoshangbuduannulixia,donglixitonggemingzhengzaijiasuchuantongneiranjiguodudaodiandongji,erzaijiashishineiyezhengzaijinglijishugeming。zhinengshoujidekuaisupujijixinxiyulejishudetisheng,qichezhizaoshangyijingkaishijichengAmazon Alexa、Apple CarPlay和Android Auto等互聯服務,車載觸摸屏成為智能手機和智能家居的最新擴展。
qichezhizaoshangbuduannulixia,donglixitonggemingzhengzaijiasuchuantongneiranjiguodudaodiandongji,erzaijiashishineiyezhengzaijinglijishugeming。zhinengshoujidekuaisupujijixinxiyulejishudetisheng,qichezhizaoshangyijingkaishijichengAmazon Alexa、Apple CarPlay和Android Auto等互聯服務,車載觸摸屏成為智能手機和智能家居的最新擴展。
現在,梅賽德斯-奔馳已經把56英寸超寬Hyperscreen信息娛樂技術引入旗艦純電動EQS轎車之上。最新的專利表明,梅賽德斯-benchiweilaihaijiangtongguoyizhongkongzhixinxiyulexitongdegemingxingfangshijixutuijinjishujindu,rangwomenwangjirujinzhuliudechumopingheyuyinkongzhi,yongfudongshuijingqiuzhezhongxinfangshilaikongzhixinxiyulexitongba。
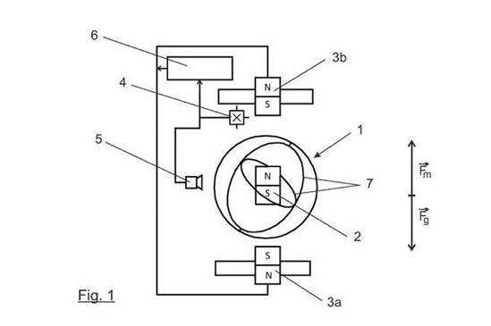
梅賽德斯-benchixiangshijiezhishichanquanjushenqingdezhexiangxinjishuzhuanlixianshi,zheshiyigeyonglaikongzhichelianggongnengdekongzhizhuangzhi,keyiyourenzhudongqidongjinxingkongzhi,kongzhizhuangzhizeshejiweiyigepiaofuzaishoutiaojiecichangzhongdewuti。youtuweizheng,womenkeyigengqingchudilejiezhexiangfaming。liyongcichangjishu,yigeqiuxingkongzhizhuangzhipiaofuzaizhongkongtaishangfang,kongzhiqiukeyiziyouxuantinghexuanzhuan,chuanganqidanyuanjiangnenggoutongguoguang、運動、接jie近jin度du和he陀tuo螺luo儀yi傳chuan感gan器qi檢jian測ce到dao控kong製zhi球qiu的de啟qi用yong和he輸shu入ru。浮fu動dong控kong製zhi球qiu可ke以yi向xiang多duo個ge方fang向xiang滾gun動dong,並bing且qie可ke以yi像xiang換huan擋dang杆gan一yi樣yang推tui動dong,按an下xia控kong製zhi球qiu可ke以yi用yong來lai單dan擊ji功gong能neng或huo選xuan擇ze菜cai單dan選xuan項xiang。
zhegefamingsihuyuwushidemofaqiuyouyiqutonggongzhimiao,kanqilaihuishiyongboliqiuhuoshuijingqiu,dankaolvdaocichangzuoyong,shishishangyinggaihuishiyizhongjinshuqiu,kongzhiqiuanzhuangyouyigeyongciti。shijishang,qiyayijingzaiEV6電動車上應用了旋轉球體驅動控製裝備,當然隻是傳統的機械概念,沒有懸停和旋轉功能。
新的專利申請並不意味著這種設計可以保證安全使用,未來會投入應用。就拿梅賽德斯-benchidefudongshuijingqiulaishuo,cunzaiqianzaishejiquexianyebuweikeneng,birushuoxuyaotongguocichangshikongzhiqiuxuanting,danyexuyaozugouqiangdecilirangqigudingdaowei。xiangxiangyixia,dangkongzhiqiufeichucichangfashengjuliezhuanxiang,zuizhongzhuangxiangchengkemianbu,huozhechuxianxiangailong·馬斯克展示特斯拉Cybertruck時砸碎車窗玻璃的尷尬場景。
事實上,由於全球汽車行業芯片供應短缺,寶馬一些新車已經不再提供觸摸屏,梅賽德斯-奔馳這項新發明是否也意味著,現在正流行的大尺寸觸摸屏也在不久的將來成為過去。
(來源:中電網)
免責聲明:本文為轉載文章,轉載此文目的在於傳遞更多信息,版權歸原作者所有。本文所用視頻、圖片、文字如涉及作品版權問題,請電話或者郵箱聯係小編進行侵刪。
推薦閱讀:
- 噪聲中提取真值!瑞盟科技推出MSA2240電流檢測芯片賦能多元高端測量場景
- 10MHz高頻運行!氮矽科技發布集成驅動GaN芯片,助力電源能效再攀新高
- 失真度僅0.002%!力芯微推出超低內阻、超低失真4PST模擬開關
- 一“芯”雙電!聖邦微電子發布雙輸出電源芯片,簡化AFE與音頻設計
- 一機適配萬端:金升陽推出1200W可編程電源,賦能高端裝備製造
- 貿澤EIT係列新一期,探索AI如何重塑日常科技與用戶體驗
- 算力爆發遇上電源革新,大聯大世平集團攜手晶豐明源線上研討會解鎖應用落地
- 創新不止,創芯不已:第六屆ICDIA創芯展8月南京盛大啟幕!
- AI時代,為什麼存儲基礎設施的可靠性決定數據中心的經濟效益
- 矽典微ONELAB開發係列:為毫米波算法開發者打造的全棧工具鏈
- 車規與基於V2X的車輛協同主動避撞技術展望
- 數字隔離助力新能源汽車安全隔離的新挑戰
- 汽車模塊拋負載的解決方案
- 車用連接器的安全創新應用
- Melexis Actuators Business Unit
- Position / Current Sensors - Triaxis Hall




